TOP
|
特許
|
意匠
|
商標
特許ウォッチ
Twitter
他の特許を見る
10個以上の画像は省略されています。
公開番号
2025165754
公報種別
公開特許公報(A)
公開日
2025-11-05
出願番号
2024070044
出願日
2024-04-23
発明の名称
耳装着具
出願人
小林製薬株式会社
代理人
個人
,
個人
,
個人
主分類
H04R
1/10 20060101AFI20251028BHJP(電気通信技術)
要約
【課題】使用者の耳穴の形状に適合しやすい耳装着具を提供する。
【解決手段】耳装着具100は、外耳道に挿入される栓体部1と、栓体部1を支持する支持部5と、を備え、支持部5は柱状に形成されており、栓体部1は、支持部5の軸方向における先端部に支持され、軸方向における先端側の面が先端側に凸の曲面状であるドーム状形状であり、ドーム状形状における外周部が、支持部5の周方向に沿って隣接する複数の花弁状部4に分割されている。
【選択図】図2
特許請求の範囲
【請求項1】
外耳道に挿入される栓体部と、
前記栓体部を支持する支持部と、を備え、
前記支持部は柱状に形成されており、
前記栓体部は、
前記支持部の軸方向における先端部に支持され、
前記軸方向における先端側の面が先端側に凸の曲面状であるドーム状形状であり、
前記ドーム状形状における外周部が、前記支持部の周方向に沿って隣接する複数の花弁状部に分割されている耳装着具。
続きを表示(約 750 文字)
【請求項2】
前記栓体部は、
前記支持部の軸方向における先端部に支持された頭部と、
前記頭部の側部から前記支持部の径方向の外側、且つ、前記軸方向における基端側に向けて延出する、環状で板状の環状部と、を有し、
前記環状部は、
前記径方向の外側、且つ、前記軸方向における先端側に向けて凸の曲面状に形成されている請求項1に記載の耳装着具。
【請求項3】
前記環状部は、前記軸方向に沿ったスリットが複数形成されて前記複数の花弁状部に分割され、
前記花弁状部は、隣接する前記花弁状部と前記スリットを介して離隔されている請求項2に記載の耳装着具。
【請求項4】
前記環状部は、
前記頭部の側部の全周に沿って配置された基部と、
前記基部から延出した前記花弁状部とを有する請求項2に記載の耳装着具。
【請求項5】
前記環状部は、
前記頭部の側部の全周に沿って配置された基部と、
前記基部から延出した前記花弁状部とを有する請求項3に記載の耳装着具。
【請求項6】
前記支持部は、前記周方向に沿って前記支持部の側部に形成された溝部を有する請求項1から5の何れか一項に記載の耳装着具。
【請求項7】
前記支持部は中空であり、前記支持部の側部は蛇腹形状である請求項6に記載の耳装着具。
【請求項8】
有底筒状のカップ状部を更に備え、
前記カップ状部は、前記支持部の基端部に接続されている請求項1から5の何れか一項に記載の耳装着具。
【請求項9】
前記カップ状部の筒の側部に前記支持部が接続されている請求項8に記載の耳装着具。
発明の詳細な説明
【技術分野】
【0001】
本発明は、耳装着具に関する。
続きを表示(約 1,600 文字)
【背景技術】
【0002】
特許文献1には、イヤーピースが開示されている。このイヤーピースは、柱状の中央支柱部と、中央支柱部を覆う傘状部を有する。傘状部は第一部品および第二部品を有し、第一部品の硬度が第一硬度であり、第二部品の硬度が第一硬度よりも小さい第二硬度である。傘状部は、第一部品の上端が中央支柱部の頂端と連接し、第一部品の下端及び第二部品の上端が重なって切り替え区域を形成し、切り替え区域において第一部品の厚みが上部から下部にかけて徐々に減少しかつ第二部品の厚みが上部から下部にかけて徐々に増加している。傘状部は、切り替え区域の幅が傘状部の厚みの二倍から三倍である。
【0003】
特許文献1には、イヤーピースの材料は通常シリコン等の柔らかい素材が採用されること、イヤーピースの材料が硬いと使用者の一部(特に外耳道が湾曲しており、細く狭い傾向があるアジア人や女性等)に不快感を与える可能性があること、より柔らかい素材を採用した場合、イヤーピースが自身の構造を維持できずに形崩れを起こす可能性が高く、更にイヤーピースが柔らかすぎると、使用者にイヤホンが落ちる不安感を与える可能性があることなどの問題が示されている。
【先行技術文献】
【特許文献】
【0004】
特開2022-122274号公報
【発明の概要】
【発明が解決しようとする課題】
【0005】
例えば引用文献1に開示されるように、使用者の外耳道(以下、耳穴と称する)の形状は様々であり、例えば、人種、性別、体格などによって形状や穴径はさまざまである。そのため、より多くの使用者が心地よい装着感を感じる耳装着具の提供が望まれる。具体的には、より多くの使用者の耳穴の形状に適合しやすい耳装着具の提供が望まれる。
【0006】
本発明は、かかる実状に鑑みて為されたものであって、その目的は、使用者の耳穴の形状に適合しやすい耳装着具を提供することにある。
【課題を解決するための手段】
【0007】
上記目的を達成するための本発明に係る耳装着具は、
外耳道に挿入される栓体部と、
前記栓体部を支持する支持部と、を備え、
前記支持部は柱状に形成されており、
前記栓体部は、
前記支持部の軸方向における先端部に支持され、
前記軸方向における先端側の面が先端側に凸の曲面状であるドーム状形状であり、
前記ドーム状形状における外周部が、前記支持部の周方向に沿って隣接する複数の花弁状部に分割されている。
【発明の効果】
【0008】
本発明によれば、使用者の耳穴の形状に適合しやすい耳装着具を提供することができる。
【図面の簡単な説明】
【0009】
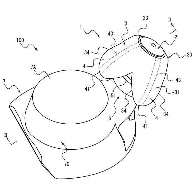
本実施形態に係る耳装着具の斜視図である。
図1のII-II矢視断面図である。
図2に示す断面の、栓体部の部分を拡大した拡大断面図である。
図2に示すIV-IV矢視断面図である。
栓体部を軸方向における先端側から見た図である。
本実施形態に係る耳装着具を使用者の耳に装着した状態の説明図である。
第二状態の耳装着具の斜視図である。
図7のVIII-VIII矢視断面図である。
図7に示す断面図の、栓体部の部分を拡大した拡大断面図である。
図8に示すX-X矢視断面図である。
第二状態の耳装着具の栓体部を軸方向における先端側から見た図である。
金型による耳装着具の成形方法の説明図である。
【発明を実施するための形態】
【0010】
図面に基づいて、本発明の実施形態に係る耳装着具について説明する。
(【0011】以降は省略されています)
この特許をJ-PlatPat(特許庁公式サイト)で参照する
関連特許
小林製薬株式会社
芳香器
1か月前
小林製薬株式会社
耳装着具
25日前
小林製薬株式会社
耳装着具
25日前
小林製薬株式会社
耳装着具
25日前
小林製薬株式会社
耳装着具
25日前
小林製薬株式会社
経口組成物
1か月前
小林製薬株式会社
眼科用組成物
2か月前
小林製薬株式会社
洗浄剤組成物
1か月前
小林製薬株式会社
洗浄剤組成物
1か月前
小林製薬株式会社
アロマランプ
1か月前
小林製薬株式会社
アロマランプ
1か月前
小林製薬株式会社
耳装着具及びその製造方法
25日前
小林製薬株式会社
発泡錠剤用の口腔内装着器具洗浄剤
2か月前
小林製薬株式会社
発泡錠剤用の口腔内装着器具洗浄剤
2か月前
小林製薬株式会社
取付広告具
23日前
小林製薬株式会社
歯間清掃具
2か月前
小林製薬株式会社
口腔用組成物
2か月前
小林製薬株式会社
鼻腔洗浄用組成物
2か月前
小林製薬株式会社
腹圧性尿失禁改善剤
1か月前
小林製薬株式会社
月経前肌荒れ改善剤
1か月前
小林製薬株式会社
硬質表面用の除菌皮膜形成剤
23日前
小林製薬株式会社
ナットウキナーゼを含む経口組成物
1か月前
小林製薬株式会社
ナットウキナーゼを含む経口組成物
1か月前
小林製薬株式会社
尿路機能改善用組成物及び膀胱血流改善用組成物
2か月前
小林製薬株式会社
尿意ストレス予防または緩和用組成物及び睡眠改善用組成物
2か月前
小林製薬株式会社
細菌性膣症の抑制剤、細菌性膣症関連細菌のオートインデューサー-2阻害剤、細菌性膣症関連細菌のバイオフィルム形成の抑制剤、細菌性膣症関連細菌に対する抗菌薬抗菌力の増強剤、及び当該抗菌力の増強方法
1か月前
個人
イヤーピース
23日前
個人
イヤーマフ
1か月前
個人
監視カメラシステム
1か月前
キーコム株式会社
光伝送線路
1か月前
個人
スイッチシステム
1か月前
個人
スキャン式車載用撮像装置
1か月前
サクサ株式会社
中継装置
1か月前
サクサ株式会社
中継装置
1か月前
WHISMR合同会社
収音装置
2か月前
キヤノン株式会社
撮像装置
3か月前
続きを見る
他の特許を見る