TOP
|
特許
|
意匠
|
商標
特許ウォッチ
Twitter
他の特許を見る
10個以上の画像は省略されています。
公開番号
2025179814
公報種別
公開特許公報(A)
公開日
2025-12-10
出願番号
2025083647
出願日
2025-05-19
発明の名称
露光ヘッド及び画像形成装置
出願人
キヤノン株式会社
代理人
弁理士法人近島国際特許事務所
主分類
B41J
2/447 20060101AFI20251203BHJP(印刷;線画機;タイプライター;スタンプ)
要約
【課題】レンズアレイと保持体とが良好に接着された露光ヘッド及び画像形成装置を提供する。
【解決手段】露光ヘッドは、第1発光チップと、第2発光チップと、第1発光チップと第2発光チップとが副走査方向から視て部分的に重なるように実装された基板と、を備えた基板組立体と、レンズアレイと、保持体と、第1接着部と、を備え、副走査方向から視て第2発光チップの主走査方向における端部と第1発光チップの主走査方向における端部とがオーバーラップする基板上の領域を第1領域、レンズアレイの光軸方向から視て第1領域と重なるレンズアレイの領域を第2領域とした場合、第1接着部は、第2領域においてレンズアレイの副走査方向の両端部と保持体との間を接着している。
【選択図】図18
特許請求の範囲
【請求項1】
複数の発光素子が主走査方向に配列された第1発光チップと、複数の発光素子が前記主走査方向に配列された第2発光チップと、前記第1発光チップと前記第2発光チップとが副走査方向から視て部分的に重なるように実装された基板と、を備えた基板組立体と、
前記第1発光チップ及び前記第2発光チップの前記発光素子から発せられる光を集光するための複数のレンズを有するレンズアレイと、
前記レンズアレイが前記発光素子と対向するように前記基板組立体及び前記レンズアレイを保持する保持体と、
第1接着部と、を備え、
前記第1発光チップの前記主走査方向における端部と前記第2発光チップの前記主走査方向における端部とが前記副走査方向から視てオーバーラップし、
前記副走査方向から視て前記第2発光チップの前記主走査方向における端部と前記第1発光チップの前記主走査方向における端部とがオーバーラップする前記基板上の領域を第1領域、前記レンズアレイの光軸方向から視て前記第1領域と重なる前記レンズアレイの領域を第2領域とした場合、前記第1接着部は、前記第2領域において前記レンズアレイの前記副走査方向の両端部と前記保持体との間を接着している、
ことを特徴とする露光ヘッド。
続きを表示(約 1,100 文字)
【請求項2】
前記レンズアレイの前記副走査方向の両端部と前記保持体との間を接着する第2接着部を備え、
前記第2接着部は前記第1接着部よりも線膨張係数が大きい、
ことを特徴とする請求項1に記載の露光ヘッド。
【請求項3】
前記第1発光チップの複数の発光素子のうち前記第1領域に位置する発光素子と、前記第2発光チップの複数の発光素子のうち前記第1領域に位置する発光素子とは、副走査方向から見て重なっている、
ことを特徴とする請求項1に記載の露光ヘッド。
【請求項4】
前記第1接着部は、熱により硬化する熱硬化型の接着剤が硬化して構成されている、
ことを特徴とする請求項1に記載の露光ヘッド。
【請求項5】
前記第2接着部は、前記レンズアレイと前記保持体との隙間を封止するための封止部材であって、前記レンズアレイの前記副走査方向の両端部において前記レンズアレイの前記主走査方向の全域に亘って設けられている、
ことを特徴とする請求項2に記載の露光ヘッド。
【請求項6】
前記封止部材は、前記第1接着部の上から前記第1接着部を覆うように設けられている、
ことを特徴とする請求項5に記載の露光ヘッド。
【請求項7】
前記第1接着部とは異なる位置において、前記レンズアレイの前記副走査方向における両端部と、前記保持体とを接着する第3接着部を更に備え、
前記第3接着部は、線膨張係数及びヤング率が前記第1接着部より小さい、
ことを特徴とする請求項2に記載の露光ヘッド。
【請求項8】
前記第3接着部は、光により硬化する光硬化型の接着剤が硬化して構成されている、
ことを特徴とする請求項7に記載の露光ヘッド。
【請求項9】
前記基板組立体の前記副走査方向の両端部と前記保持体との間を接着する第4接着部と、
前記基板組立体の前記副走査方向の両端部と前記保持体との間を接着すると共に、線膨張係数が前記第4接着部より小さい第5接着部と、を備え、
前記第5接着部は、前記第1領域に設けられている、
ことを特徴とする請求項1に記載の露光ヘッド。
【請求項10】
前記保持体は、前記レンズアレイを保持する第1保持部と、前記レンズアレイの光軸方向において前記レンズアレイとの間に間隔が空くように前記基板組立体を保持する第2保持部と、を備えた、
ことを特徴とする請求項1に記載の露光ヘッド。
(【請求項11】以降は省略されています)
発明の詳細な説明
【技術分野】
【0001】
本発明は、プリンタ、複写機、ファクシミリあるいは複合機などの、電子写真方式の画像形成装置に用いて好適な露光ヘッド及び画像形成装置に関する。
続きを表示(約 2,500 文字)
【背景技術】
【0002】
電子写真方式の画像形成装置は、感光ドラムの表面に光を照射して静電潜像を形成する露光装置を備えている。露光装置としては、例えばLEDアレイ方式の露光ヘッドが知られている(特許文献1)。LEDアレイ方式の露光ヘッドは、発光素子として複数のLEDが主走査方向に並べられたLEDチップと、複数のLEDチップが主走査方向に千鳥状に配列された基板と、レンズアレイと、基板及びレンズアレイを保持する筐体を有している。レンズアレイは主走査方向に並べられた複数のレンズを有し、それらレンズによりLEDチップ上のLEDから出射された光を感光ドラムの表面に集光する。複数のレンズは、LEDから出射された光が入射する光入射面と、光入射面から入射した光が出射する光出射面とを有する。
【0003】
筐体は主走査方向に長い長尺形状に且つ断面略U字状に形成され、この筐体にレンズアレイと基板とが鉛直方向の上下の設置位置に間隔を空けて配設されている。レンズアレイは感光ドラム側にレンズの光出射面を露出させるように接着剤により筐体に取り付けられ、基板はレンズの光入射面に対向するように接着剤により筐体に取り付けられている。
【先行技術文献】
【特許文献】
【0004】
特開2023-154632号公報
【発明の概要】
【発明が解決しようとする課題】
【0005】
しかしながら、レンズアレイと筐体との間の接着には改良の余地があった。
【0006】
本発明は、レンズアレイと保持体とが良好に接着された露光ヘッド及び画像形成装置を提供することを目的とする。
【課題を解決するための手段】
【0007】
本発明の一態様は、複数の発光素子が主走査方向に配列された第1発光チップと、複数の発光素子が前記主走査方向に配列された第2発光チップと、前記第1発光チップと前記第2発光チップとが副走査方向から視て部分的に重なるように実装された基板と、を備えた基板組立体と、前記第1発光チップ及び前記第2発光チップの前記発光素子から発せられる光を集光するための複数のレンズを有するレンズアレイと、前記レンズアレイが前記発光素子と対向するように前記基板組立体及び前記レンズアレイを保持する保持体と、第1接着部と、を備え、前記第1発光チップの前記主走査方向における端部と前記第2発光チップの前記主走査方向における端部とが前記副走査方向から視てオーバーラップし、前記副走査方向から視て前記第2発光チップの前記主走査方向における端部と前記第1発光チップの前記主走査方向における端部とがオーバーラップする前記基板上の領域を第1領域、前記レンズアレイの光軸方向から視て前記第1領域と重なる前記レンズアレイの領域を第2領域とした場合、前記第1接着部は、前記第2領域において前記レンズアレイの前記副走査方向の両端部と前記保持体との間を接着している、ことを特徴とする露光ヘッドである。
【発明の効果】
【0008】
本発明によれば、レンズアレイと保持体とが良好に接着することができる。
【図面の簡単な説明】
【0009】
本実施形態の露光ヘッドを用いて好適な画像形成装置を示す外観斜視図。
画像形成装置の構成を示す概略図。
露光ヘッドを示す断面図。
(a)露光基板を示す斜視図、(b)露光基板を感光ドラム側から見た図、(c)露光基板上のLEDを示す図、(d)レンズアレイを感光ドラム側から見た図、(e)レンズアレイを示す斜視図。
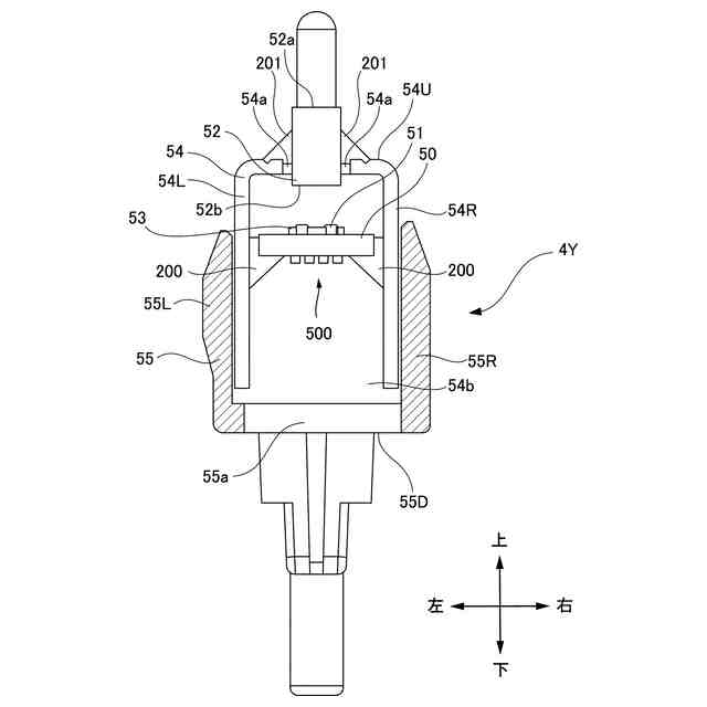
露光ヘッドを示す斜視図。
露光ヘッドの裏面を示す斜視図。
接着剤による露光基板の露光筐体に対する移動の寄与度並びに捻じれの寄与度をシミュレーションするための物理モデルを示す図。
(a)露光基板の露光筐体に対する移動の寄与度を示すグラフ、(b)露光基板の露光筐体に対する捻じれの寄与度を示すグラフ。
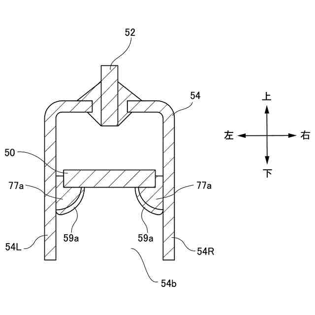
露光基板と露光筐体との接着を示す模式図。
UV接着剤と熱硬化型接着剤による露光基板の接着について説明するための斜視図。
UV接着剤と熱硬化型接着剤による露光基板の接着について説明するための、露光基板の上面図と下面図。
封止剤による露光基板の接着について説明するための斜視図。
封止剤による露光基板の接着について説明するための下面図。
接着剤によるレンズアレイの露光筐体に対する移動の寄与度並びに捻じれの寄与度をシミュレーションするための物理モデルを示す図。
(a)レンズアレイの露光筐体に対する移動の寄与度を示すグラフ、(b)レンズアレイの露光筐体に対する捻じれの寄与度を示すグラフ。
レンズアレイと露光筐体との接着を示す模式図。
UV接着剤と熱硬化型接着剤によるレンズアレイの接着について説明するための斜視図。
UV接着剤と熱硬化型接着剤によるレンズアレイの接着について説明するための、露光基板の上面図と平面部の下面図。
封止剤によるレンズアレイの接着について説明するための斜視図。
封止剤によるレンズアレイの接着について説明するための下面図。
【発明を実施するための形態】
【0010】
LEDから出射される光をレンズにより集光させ感光ドラムに結像させるために、レンズアレイは筐体に対し基板との間隔が調整された位置に配設される。しかしながら、筐体にレンズアレイを取り付けている接着剤は、LEDの発光に伴い生じる熱の影響を受けて膨張し得る。その場合に、従来では、レンズアレイの一部において筐体との相対位置が当初の位置から変わることがあり、特に基板上に千鳥状に配列されたLEDチップ間に相当する箇所で感光ドラムに照射される光量に差が生じるなど、感光ドラムに対する露光ヘッドの光学性能が低下する虞があった。
(【0011】以降は省略されています)
この特許をJ-PlatPat(特許庁公式サイト)で参照する
関連特許
キヤノン株式会社
容器
1か月前
キヤノン株式会社
容器
1か月前
キヤノン株式会社
トナー
1か月前
キヤノン株式会社
トナー
1か月前
キヤノン株式会社
定着装置
26日前
キヤノン株式会社
電子機器
1日前
キヤノン株式会社
定着装置
26日前
キヤノン株式会社
記録装置
26日前
キヤノン株式会社
二次電池
7日前
キヤノン株式会社
定着装置
26日前
キヤノン株式会社
表示装置
12日前
キヤノン株式会社
電子機器
5日前
キヤノン株式会社
表示装置
1か月前
キヤノン株式会社
撮像装置
28日前
キヤノン株式会社
撮像装置
1か月前
キヤノン株式会社
電子機器
28日前
キヤノン株式会社
発光装置
12日前
キヤノン株式会社
記録装置
1か月前
キヤノン株式会社
撮像装置
12日前
キヤノン株式会社
電子機器
1か月前
キヤノン株式会社
撮像装置
5日前
キヤノン株式会社
撮像装置
5日前
キヤノン株式会社
撮像装置
1か月前
キヤノン株式会社
撮像装置
14日前
キヤノン株式会社
記録装置
6日前
キヤノン株式会社
記録装置
6日前
キヤノン株式会社
記録装置
1か月前
キヤノン株式会社
撮像装置
1か月前
キヤノン株式会社
電子機器
1か月前
キヤノン株式会社
撮像装置
5日前
キヤノン株式会社
撮像装置
5日前
キヤノン株式会社
表示装置
5日前
キヤノン株式会社
雲台装置
1か月前
キヤノン株式会社
測距装置
1か月前
キヤノン株式会社
表示装置
12日前
キヤノン株式会社
撮像装置
5日前
続きを見る
他の特許を見る