TOP
|
特許
|
意匠
|
商標
特許ウォッチ
Twitter
他の特許を見る
10個以上の画像は省略されています。
公開番号
2025181323
公報種別
公開特許公報(A)
公開日
2025-12-11
出願番号
2024089243
出願日
2024-05-31
発明の名称
液体吐出装置
出願人
キヤノン株式会社
代理人
弁理士法人大塚国際特許事務所
主分類
B41J
2/17 20060101AFI20251204BHJP(印刷;線画機;タイプライター;スタンプ)
要約
【課題】液体吐出装置と廃液を貯蔵する貯蔵部との電気的接続の信頼性を向上させる。
【解決手段】液体を吐出する吐出手段を有する装置本体と、前記装置本体に着脱可能であり、前記液体の廃液を貯蔵する貯蔵部と、を有する液体吐出装置であって、前記装置本体は、前記貯蔵部を収容する収容空間と、前記収容空間に突出し、前記貯蔵部と接続する接続部と、前記接続部に設けられ、前記収容空間を画定する第1の壁部と対向する電気接続端子と、前記収容空間に配置され、前記第1の壁部と前記電気接続端子との間の空間への物体の侵入を規制する規制部材と、を有する、液体吐出装置。
【選択図】図6
特許請求の範囲
【請求項1】
液体を吐出する吐出手段を有する装置本体と、
前記装置本体に着脱可能であり、前記液体の廃液を貯蔵する貯蔵部と、を有する
液体吐出装置であって、
前記装置本体は、
前記貯蔵部を収容する収容空間と、
前記収容空間に突出し、前記貯蔵部と接続される接続部と、
前記接続部に設けられ、前記収容空間を画定する第1の壁部と対向する電気接続端子と、
前記収容空間に配置され、前記第1の壁部と前記電気接続端子との間の空間への物体の侵入を規制する規制部材と、を有する、
ことを特徴とする液体吐出装置。
続きを表示(約 940 文字)
【請求項2】
前記規制部材は、
前記第1の壁部と前記電気接続端子との間の空間に配置され、該空間を狭める部材である、
ことを特徴とする請求項1に記載の液体吐出装置。
【請求項3】
前記規制部材は、
前記第1の壁部と前記電気接続端子との間に介在し、前記電気接続端子と対向する対向部を有する、
ことを特徴とする請求項1に記載の液体吐出装置。
【請求項4】
前記規制部材は、
前記第1の壁部から突出し、前記対向部を支持する支持部を有する、
ことを特徴とする請求項3に記載の液体吐出装置。
【請求項5】
前記規制部材は、
前記接続部に対する前記貯蔵部の接続を案内する案内部を有する、
ことを特徴とする請求項3に記載の液体吐出装置。
【請求項6】
前記案内部は、
前記貯蔵部が前記接続部に接続される接続方向において、前記対向部から前記第1の壁部にかけて傾斜する傾斜部である、
ことを特徴とする請求項5に記載の液体吐出装置。
【請求項7】
前記対向部は、
前記第1の壁部よりも前記電気接続端子側に設けられている、
ことを特徴とする請求項3に記載の液体吐出装置。
【請求項8】
前記対向部と前記電気接続端子との間隔は、
14.2mm以下である、
ことを特徴とする請求項3に記載の液体吐出装置。
【請求項9】
前記規制部材は、
前記接続部の外周のうち、少なくとも前記電気接続端子を囲うように設けられた壁である、
ことを特徴とする請求項1に記載の液体吐出装置。
【請求項10】
前記収容空間の高さ方向において上面側を画定する第2の壁部に設けられ、前記装置本体から前記貯蔵部に前記廃液を排出する排出部をさらに有し、
前記接続部及び前記規制部材は、
前記収容空間の上下方向で、前記排出部の真下を避ける位置に設けられる、
ことを特徴とする請求項1に記載の液体吐出装置。
(【請求項11】以降は省略されています)
発明の詳細な説明
【技術分野】
【0001】
本発明は液体吐出装置に関する。
続きを表示(約 1,700 文字)
【背景技術】
【0002】
インクジェット記録装置では、印字品位の維持のためにノズルの回復動作を行う。その際、印字には使用されない廃インクが発生するため、廃インクを収容するための交換可能な廃インクタンクが設けられているものがある。廃インクは、インク流路部や流路接続部等を用いて廃インクタンクへ送液可能に構成されている。例えば、特許文献1では、インクジェット記録装置の廃インクタンク着脱部に、廃インクタンクに設けられた廃インクタンク側接続端子に対して電気的に接続可能な装置側接続端子が設けられている。装置側接続端子と廃インクタンク側接続端子が接触することによって、廃インクタンクの収容状態等を検出できる。
【先行技術文献】
【特許文献】
【0003】
特開2018-202648
【発明の概要】
【発明が解決しようとする課題】
【0004】
しかし、特許文献1に記載の構成では、廃インクタンクを取り外した際、端子接触部が開口部側に露出しており、ユーザが端子接触部に触れやすくなっている。したがって、廃液を貯蔵する貯蔵部を有する液体吐出装置において、貯蔵部との電気的接続の信頼性を向上させることが求められる。
【0005】
本発明は、貯蔵部との電気的接続の信頼性を向上させる液体吐出装置を提供することを目的とする。
【課題を解決するための手段】
【0006】
本発明によれば、
液体を吐出する吐出手段を有する装置本体と、
前記装置本体に着脱可能であり、前記液体の廃液を貯蔵する貯蔵部と、を有する
液体吐出装置であって、
前記装置本体は、
前記貯蔵部を収容する収容空間と、
前記収容空間に突出し、前記貯蔵部と接続する接続部と、
前記接続部に設けられ、前記収容空間を画定する第1の壁部と対向する電気接続端子と、
前記収容空間に配置され、前記第1の壁部と前記電気接続端子との間の空間への物体の侵入を規制する規制部材と、を有する、
ことを特徴とする液体吐出装置が提供される。
【発明の効果】
【0007】
本発明によれば、廃液を貯蔵する貯蔵部を有する液体吐出装置において、貯蔵部との電気的接続の信頼性を向上させることができる。
【図面の簡単な説明】
【0008】
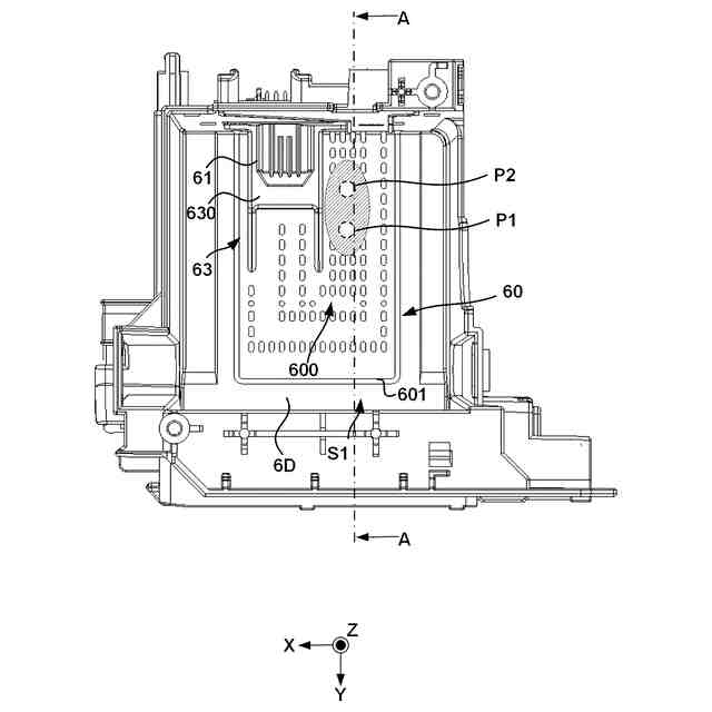
本発明の一実施形態に係る記録装置の斜視図。
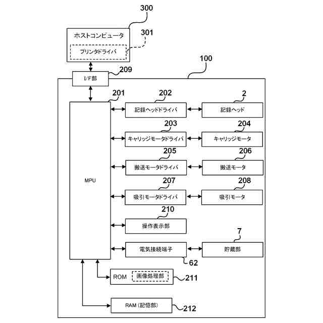
制御系を示すブロック図。
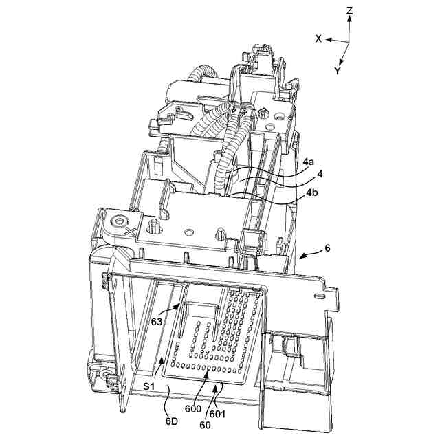
回復ユニットを示す斜視図。
収容部の斜視図。
収容部の内部説明図。
収容部の斜視図。
貯蔵部の斜視図。
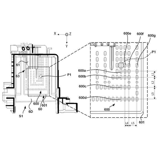
収容空間の平面図。
収容部の正面図
収容部の断面図
別の例の説明図。
別の例の説明図。
別の例の説明図。
別の例の説明図。
別の例の説明図。
別の例の説明図。
別の例の説明図。
【発明を実施するための形態】
【0009】
以下、添付図面を参照して実施形態を詳しく説明する。尚、以下の実施形態は特許請求の範囲に係る発明を限定するものではない。実施形態には複数の特徴が記載されているが、これらの複数の特徴の全てが発明に必須のものとは限らず、また、複数の特徴は任意に組み合わせられてもよい。さらに、添付図面においては、同一若しくは同様の構成に同一の参照番号を付し、重複した説明は省略する。
【0010】
<第一実施形態>
図1は本発明の一実施形態に係る液体吐出装置の斜視図である。各図において、矢印X、Y、Zは互いに交差する方向を示し、本実施形態の場合、直交している。液体吐出装置100を水平な面に設置した場合の左右方向をX方向、前後方向をY方向、上下方向をZ方向とする。X方向及びY方向は横方向とも呼ぶことができる。
(【0011】以降は省略されています)
この特許をJ-PlatPat(特許庁公式サイト)で参照する
関連特許
キヤノン株式会社
容器
1か月前
キヤノン株式会社
トナー
1か月前
キヤノン株式会社
顕微鏡
今日
キヤノン株式会社
表示装置
13日前
キヤノン株式会社
定着装置
27日前
キヤノン株式会社
撮像装置
29日前
キヤノン株式会社
撮像装置
今日
キヤノン株式会社
撮像装置
今日
キヤノン株式会社
電子機器
2日前
キヤノン株式会社
二次電池
8日前
キヤノン株式会社
定着装置
21日前
キヤノン株式会社
表示装置
1か月前
キヤノン株式会社
記録装置
今日
キヤノン株式会社
表示装置
13日前
キヤノン株式会社
記録装置
今日
キヤノン株式会社
電子機器
6日前
キヤノン株式会社
記録装置
今日
キヤノン株式会社
電子機器
1か月前
キヤノン株式会社
記録装置
7日前
キヤノン株式会社
記録装置
今日
キヤノン株式会社
測距装置
1か月前
キヤノン株式会社
撮像装置
15日前
キヤノン株式会社
撮像装置
1か月前
キヤノン株式会社
定着装置
今日
キヤノン株式会社
電気機器
1日前
キヤノン株式会社
記録装置
1か月前
キヤノン株式会社
記録装置
1日前
キヤノン株式会社
定着装置
27日前
キヤノン株式会社
撮像装置
21日前
キヤノン株式会社
撮像装置
21日前
キヤノン株式会社
記録装置
今日
キヤノン株式会社
撮像装置
13日前
キヤノン株式会社
表示装置
13日前
キヤノン株式会社
記録装置
27日前
キヤノン株式会社
撮像装置
今日
キヤノン株式会社
撮像装置
6日前
続きを見る
他の特許を見る