TOP
|
特許
|
意匠
|
商標
特許ウォッチ
Twitter
他の特許を見る
10個以上の画像は省略されています。
公開番号
2025181089
公報種別
公開特許公報(A)
公開日
2025-12-11
出願番号
2024088850
出願日
2024-05-31
発明の名称
露光装置および画像形成装置
出願人
キヤノン株式会社
代理人
弁理士法人中川国際特許事務所
主分類
B41J
2/44 20060101AFI20251204BHJP(印刷;線画機;タイプライター;スタンプ)
要約
【課題】発光素子からレンズアレイに至る空間に外部から異物が侵入するのを抑制する。
【解決手段】複数の発光素子が感光体の軸線方向である長手方向に沿って実装された基板と、前記発光素子から出射された光を前記感光体に集光させるレンズアレイと、前記基板と前記レンズアレイとを保持する保持部材と、を備え、前記保持部材は、前記レンズアレイと前記保持部材との間の隙間および前記基板と前記保持部材との間の隙間が封止剤により封止された領域内に設けられた、前記保持部材の外部と内部とを連通した穴を少なくとも1つ有し、前記穴を封止剤により封止した。
【選択図】 図12
特許請求の範囲
【請求項1】
複数の発光素子が感光体の軸線方向である長手方向に沿って実装された基板と、
前記発光素子から出射された光を前記感光体に集光させるレンズアレイと、
前記基板と前記レンズアレイとを保持する保持部材と、を備え、
前記保持部材は、前記レンズアレイと前記保持部材との間の隙間および前記基板と前記保持部材との間の隙間が封止剤により封止された領域内に設けられた、前記保持部材の外部と内部とを連通した穴を少なくとも1つ有し、前記穴を封止剤により封止した、
ことを特徴とする露光装置。
続きを表示(約 940 文字)
【請求項2】
前記保持部材は、前記感光体に対向し、前記レンズアレイを保持する面を有し、
前記面に前記穴を設けた、
ことを特徴とする請求項1に記載の露光装置。
【請求項3】
前記保持部材は、前記面に保持された前記レンズアレイの長手方向の外側に、前記穴をそれぞれ設けた、
ことを特徴とする請求項2に記載の露光装置。
【請求項4】
前記保持部材は、板金であり、
前記保持部材が有する穴は、板金をプレス加工する時に金型のパイロットピンを位置決めするパイロット穴である、
ことを特徴とする請求項1に記載の露光装置。
【請求項5】
前記保持部材は、第1穴と、第1穴より径の小さい第2穴と、を有し、
一方の穴および他方の穴を封止剤により封止した、
ことを特徴とする請求項4に記載の露光装置。
【請求項6】
前記保持部材が有する穴よりも大きく、前記保持部材の穴の周囲の面に当接した当接部材を有する、
ことを特徴とする請求項1に記載の露光装置。
【請求項7】
前記保持部材の穴の周囲の面に当接する当接部材と、前記保持部材が有する穴の縁との境界を前記封止剤により封止した、
ことを特徴とする請求項6に記載の露光装置。
【請求項8】
前記保持部材は、前記穴を2つ有し、
前記保持部材が有する穴よりも大きく、前記保持部材の穴の周囲の面に当接した当接部材を有し、
前記保持部材の一方の穴の周囲の面に当接する当接部材と、前記保持部材の前記一方の穴の縁との境界のすべてを前記封止剤により封止し、
前記保持部材の他方の穴の周囲の面に当接する当接部材と、前記保持部材の前記他方の穴の縁との境界のすべてを前記封止剤により封止した、
ことを特徴とする請求項1に記載の露光装置。
【請求項9】
前記発光素子は、有機ELである、ことを特徴とする請求項1に記載の露光装置。
【請求項10】
感光体と、請求項1乃至9のいずれか1項に記載の露光装置と、を有する、ことを特徴とする画像形成装置。
発明の詳細な説明
【技術分野】
【0001】
本発明は、感光体を露光する露光装置および露光装置を備える画像形成装置に関する。
続きを表示(約 2,300 文字)
【背景技術】
【0002】
従来、LED等の発光素子が配列された基板およびレンズアレイ等を備えた露光装置では、発光素子からレンズアレイに至る空間にトナー等の異物が侵入すると、濃度ムラ等の画像不良が生じるおそれがある。
【0003】
そこで特許文献1では、発光素子が配列された基板やレンズアレイと、これらを保持する保持体との間の隙間を封止剤によって封止している。これにより、発光素子からレンズアレイに至る空間に外部から異物が侵入するのを防いでいる。
【先行技術文献】
【特許文献】
【0004】
特開2023-161242号公報
【発明の概要】
【発明が解決しようとする課題】
【0005】
しかしながら、様々な理由により保持体に外部と内部とを連通する穴を設ける場合がある。保持体に穴を設ける理由の一例として、板金を素材として保持体をプレス加工にて製造する場合がある。この場合、加工精度向上を目的として金型のパイロットピンを挿入するためのパイロット穴を保持体に設けることがある。この穴が露光ヘッドの発光素子からレンズアレイに至る空間に連通していると、外部から異物が侵入して画像スジや濃度ムラ等の画像不良を引き起こすことが懸念される。
【0006】
そこで本発明の目的は、発光素子からレンズアレイに至る空間に外部から異物が侵入するのを抑制することである。
【課題を解決するための手段】
【0007】
本発明の代表的な構成は、複数の発光素子が感光体の軸線方向である長手方向に沿って実装された基板と、前記発光素子から出射された光を前記感光体に集光させるレンズアレイと、前記基板と前記レンズアレイとを保持する保持部材と、を備え、前記保持部材は、前記レンズアレイと前記保持部材との間の隙間および前記基板と前記保持部材との間の隙間が封止剤により封止された領域内に設けられた、前記保持部材の外部と内部とを連通した穴を少なくとも1つ有し、前記穴を封止剤により封止した、ことを特徴とする。
【発明の効果】
【0008】
本発明によれば、発光素子からレンズアレイに至る空間への異物の侵入を防ぎつつ、封止剤のアウトガスを外部へ放出することができる。
【図面の簡単な説明】
【0009】
画像形成装置の斜視図
画像形成装置の概略断面図
画像形成装置の概略断面図
(a)、(b)はドラムユニットおよび現像ユニット周辺の構成を示す斜視図
(a)カートリッジトレイと閉状態の内扉と露光位置の露光ヘッドを示す斜視図、(b)カートリッジトレイと開状態の内扉と退避位置の露光ヘッドを示す斜視図
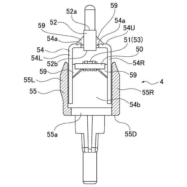
露光ヘッドの概略断面図
露光ヘッドを上面から見た斜視図
露光ヘッドを下面から見た斜視図
(a)、(b)、(c)は露光ヘッドにおける基板を示す図、(d)、(e)はレンズアレイを示す図
露光ヘッドの断面斜視図
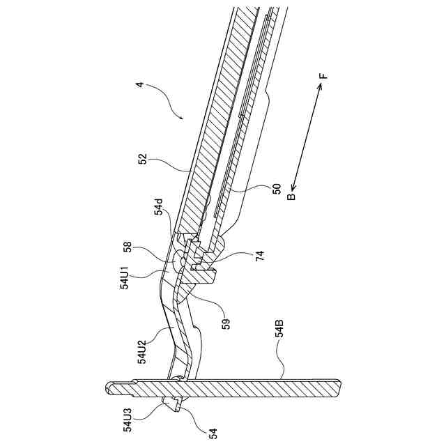
露光ヘッドの前側パイロット穴部の封止構成を示す断面図
露光ヘッドの後側パイロット穴部の封止構成を示す断面図
カートリッジトレイを下側から見た斜視図
図13におけるX-X矢視による断面図
図2におけるA-A矢視による断面図
ダクトユニットの斜視図
(a)実施例1に係る露光ヘッドのシートと開口の長手方向の長さを示す図、(b)実施例1にかかる露光ヘッドの上視図
(a)(b)実施例1にかかる光プリントヘッドの短手方向の断面図
実施例1にかかる光プリントヘッドの長手方向の断面図
(a)(b)実施例1にかかる筐体支持部材の斜視図
実施例1に係る露光ヘッド、昇降ダクト、ダクトユニットの斜視図
(a)位置決めピンの中心位置において、感光ドラムの軸線方向と直交する方向に切断した前方面から見た斜視図、(b)位置決めピンの中心位置において、感光ドラムの軸線方向と直交する方向に切断した後方面から見た斜視図
位置決め部材の取り付け後の斜視図
位置決め部材の取り付け前の斜視図
位置決め部材の形状を示す斜視図
(a)(b)(c)実施例1にかかる清掃棒の構成を示す図
(a)(b)実施例1にかかる清掃棒の構成を示す図
(a)(b)(c)実施例1にかかる清掃棒の案内構成を示す図
(a)(b)実施例1にかかる第1の案内部材の構成を示す図
(a)(b)実施例1にかかる第2の案内部材の構成を示す図
(a)(b)(c)実施例1にかかる清掃部材の構成を示す図
(a)(b)実施例1にかかる切り欠き部の形状を示す図
(a)(b)実施例1にかかる切り欠き部の効果を示す図
(a)(b)実施例1にかかるストッパーの構成を示す図
(a)(b)実施例1にかかる各部の長さ関係を示す図
【発明を実施するための形態】
【0010】
以下、図面を参照して、本発明を実施するための形態について説明する。なお、以下に記載されている構成部品の寸法、材質、形状、それらの相対配置などは、あくまでも例示であり、本発明の範囲をそれらのみに限定する趣旨のものではない。
(【0011】以降は省略されています)
この特許をJ-PlatPat(特許庁公式サイト)で参照する
関連特許
キヤノン株式会社
容器
1か月前
キヤノン株式会社
トナー
1か月前
キヤノン株式会社
顕微鏡
今日
キヤノン株式会社
撮像装置
21日前
キヤノン株式会社
記録装置
27日前
キヤノン株式会社
撮像装置
今日
キヤノン株式会社
撮像装置
今日
キヤノン株式会社
撮像装置
21日前
キヤノン株式会社
記録装置
1日前
キヤノン株式会社
記録装置
1か月前
キヤノン株式会社
撮像装置
6日前
キヤノン株式会社
撮像装置
6日前
キヤノン株式会社
電子機器
1か月前
キヤノン株式会社
電気機器
1日前
キヤノン株式会社
記録装置
今日
キヤノン株式会社
撮像装置
1か月前
キヤノン株式会社
二次電池
8日前
キヤノン株式会社
撮像装置
6日前
キヤノン株式会社
定着装置
27日前
キヤノン株式会社
記録装置
今日
キヤノン株式会社
定着装置
21日前
キヤノン株式会社
定着装置
27日前
キヤノン株式会社
測距装置
1か月前
キヤノン株式会社
記録装置
今日
キヤノン株式会社
撮像装置
1か月前
キヤノン株式会社
記録装置
今日
キヤノン株式会社
記録装置
7日前
キヤノン株式会社
定着装置
今日
キヤノン株式会社
記録装置
7日前
キヤノン株式会社
定着装置
27日前
キヤノン株式会社
撮像装置
6日前
キヤノン株式会社
撮像装置
6日前
キヤノン株式会社
記録装置
今日
キヤノン株式会社
表示装置
6日前
キヤノン株式会社
雲台装置
1か月前
キヤノン株式会社
撮像装置
13日前
続きを見る
他の特許を見る