TOP
|
特許
|
意匠
|
商標
特許ウォッチ
Twitter
他の特許を見る
10個以上の画像は省略されています。
公開番号
2025180864
公報種別
公開特許公報(A)
公開日
2025-12-11
出願番号
2024088508
出願日
2024-05-31
発明の名称
シート接着装置
出願人
キヤノン株式会社
代理人
個人
,
個人
,
個人
,
個人
,
個人
主分類
B65H
37/04 20060101AFI20251204BHJP(運搬;包装;貯蔵;薄板状または線条材料の取扱い)
要約
【課題】 市販されている予め接着成分が付与されたシートに対応したり、シートを折り畳むためだけに使用できるシート接着装置を提供する。
【解決手段】 塗布ユニットでシートに接着剤を塗布し、圧着されたシートを作成する塗布モードと、塗布ユニットでシートに接着剤を塗布しない非塗布モードであって、シートの折り畳みのみを行う、及び/又は、予め接着剤が付与されたシートの折り畳みと接着を行う非塗布モードと、を有する。
【選択図】 図1
特許請求の範囲
【請求項1】
接着剤をシートに塗布する塗布ユニットと、接着剤をシートに定着する定着手段と、前記塗布ユニットにより接着剤が塗布されたシートを折り畳む折り手段と、前記折り手段により折り畳まれたシートを加熱して接着剤によってシートを接着する接着手段を有し、接着剤が塗布されたシートを折り畳み及び接着することで圧着されたシートを作成するシート接着装置において、
前記塗布ユニットでシートに接着剤を塗布し、前記圧着されたシートを作成する塗布モードと、
前記塗布ユニットでシートに接着剤を塗布しない非塗布モードであって、シートの折り畳みのみを行う、及び/又は、予め接着剤が付与されたシートの折り畳みと接着を行う非塗布モードと、
を有することを特徴とするシート接着装置。
続きを表示(約 740 文字)
【請求項2】
前記定着手段で前記シートに付与する熱量は、前記塗布モードよりも前記非塗布モードの方が少ないことを特徴とする請求項1に記載のシート接着装置。
【請求項3】
前記非塗布モードでは、接着剤が塗布されていないシートを前記折り手段で折り、前記接着手段で接着しないことを特徴とする請求項1に記載のシート接着装置。
【請求項4】
前記非塗布モードでは、接着剤が付与されたシートを前記折り手段で折り、前記接着手段で接着することを特徴とする請求項1に記載のシート接着装置。
【請求項5】
前記非塗布モードにおいて、前記定着手段でシートに付与する熱量及び圧力の水準を複数有することを特徴とする請求項1乃至4のいずれか一項に記載のシート接着装置。
【請求項6】
前記非塗布モードにおいて、前記定着手段の温度、又は、シートの搬送速度の少なくとも一方を変化させることで、前記定着手段においてシートに加えられる熱量を変化させることを特徴とする請求項5に記載のシート接着装置。
【請求項7】
前記非塗布モードにおいて、前記接着手段でシートに付与する熱量及び圧力の水準を複数有することを特徴とする請求項1乃至4のいずれか一項に記載のシート接着装置。
【請求項8】
前記非塗布モードにおいて、前記接着手段の温度、又は、シートの搬送速度の少なくとも一方を変化させることで、前記接着手段においてシートに加えられる熱量を変化させることを特徴とする請求項7に記載のシート接着装置。
【請求項9】
前記塗布モード及び非塗布モードを切り替える制御手段を有する請求項1に記載のシート接着装置。
発明の詳細な説明
【技術分野】
【0001】
本発明は、接着剤によりシートを接着するシート接着装置に関する。
続きを表示(約 1,700 文字)
【背景技術】
【0002】
従来、給与明細書や圧着はがき等の内容に秘匿性があり密閉が必要な書類を作成できる装置として、特許文献1のように予め画像が印刷されたシート(プレプリント紙)に接着剤を塗布し、シートを加熱しながら折り畳む処理を行うことで圧着されたシートを作成できるシート接着装置が提案されている。
【0003】
ところで、圧着はがきを作成するために予め接着成分が付与されたシートが市販されている。そのような予め接着成分が付与されたシートに必要な情報を画像形成装置等で印刷したあと、特許文献1のようなシート接着装置を用いて接着処理する要望がある。また、接着成分が付与されていないシートを折り畳むのを自動化するために特許文献1のようなシート接着装置を用いたい要望がある。
【先行技術文献】
【特許文献】
【0004】
特開2023-6021
【発明の概要】
【発明が解決しようとする課題】
【0005】
上記状況を鑑み、市販されている予め接着成分が付与されたシートに対応したり、シートを折り畳むためだけに使用できるシート接着装置を提供することを目的とする。
【課題を解決するための手段】
【0006】
本発明では、接着剤をシートに塗布する塗布ユニットと、接着剤をシートに定着する定着手段と、前記塗布ユニットにより接着剤が塗布されたシートを折り畳む折り手段と、前記折り手段により折り畳まれたシートを加熱して接着剤によってシートを接着する接着手段を有し、接着剤が塗布されたシートを折り畳み及び接着することで圧着されたシートを作成するシート接着装置において、前記塗布ユニットでシートに接着剤を塗布し、前記圧着されたシートを作成する塗布モードと、前記塗布ユニットでシートに接着剤を塗布しない非塗布モードであって、シートの折り畳みのみを行う、及び/又は、予め接着剤が付与されたシートの折り畳みと接着を行う非塗布モードと、を有することを特徴とする
【発明の効果】
【0007】
本発明によれば、市販されている予め接着成分が付与されたシートに対応したり、シートを折り畳むためだけに使用できるシート接着装置を提供することができる。
【図面の簡単な説明】
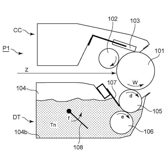
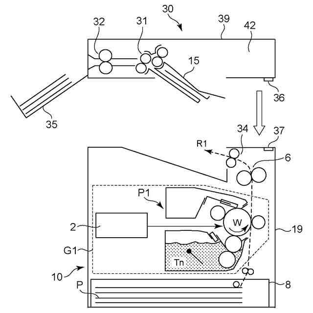
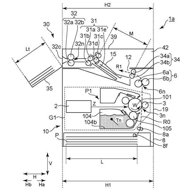
【0008】
実施例1に係るシート接着装置の概略図。
実施例1に係るシート接着装置の装置本体に対する後処理ユニットの装着の説明図。
実施例1に係るプロセスカートリッジの概略図。
実施例1に係る折り工程の説明図(a~f)。
実施例1に係るシート接着装置が出力する接着成果物の図(a~c)。
実施例1に係るカールと折精度低下の関係の説明図。
実施例1に係るカールの影響を示した折り器の概略断面図。
【発明を実施するための形態】
【0009】
[実施例1]
以下に図面を参照して、この発明の好適な実施の形態を例示的に詳しく説明する。ただし、この実施の形態に記載されている構成部品の寸法、材質、形状、その相対配置などは、特に記載がない限りは、この発明の範囲をそれらのみに限定する趣旨のものではない。また、以下の説明で一度説明した部材についての材質、形状などは、特に改めて記載しない限り、後の説明においても初めの説明と同様のものである。
【0010】
(全体の装置構成)
最初に、シート接着装置1aの全体構成について、図1を用いて説明する。図1は、実施例1に係るシート接着装置本体(以下、装置本体10と記載する)と、装置本体10と接続された後処理ユニット30と、を備えたシート接着装置1aの断面構成を表す概略図である。シート接着装置1aは、電子写真方式による粉末接着剤の塗布機構を備えた装置本体10と、シート処理装置としての後処理ユニット30とによって構成される。以下で説明するように、装置本体10は、現像剤として粉末接着剤を使用する点を除いて、電子写真方式の画像形成装置と同様の構成を備えている。
(【0011】以降は省略されています)
この特許をJ-PlatPat(特許庁公式サイト)で参照する
関連特許
キヤノン株式会社
顕微鏡
今日
キヤノン株式会社
電子機器
6日前
キヤノン株式会社
撮像装置
13日前
キヤノン株式会社
記録装置
1日前
キヤノン株式会社
記録装置
今日
キヤノン株式会社
撮像装置
21日前
キヤノン株式会社
記録装置
7日前
キヤノン株式会社
撮像装置
今日
キヤノン株式会社
電子機器
2日前
キヤノン株式会社
記録装置
7日前
キヤノン株式会社
撮像装置
今日
キヤノン株式会社
発光装置
13日前
キヤノン株式会社
撮像装置
15日前
キヤノン株式会社
表示装置
6日前
キヤノン株式会社
記録装置
今日
キヤノン株式会社
記録装置
今日
キヤノン株式会社
撮像装置
6日前
キヤノン株式会社
撮像装置
今日
キヤノン株式会社
撮像装置
6日前
キヤノン株式会社
定着装置
21日前
キヤノン株式会社
撮像装置
13日前
キヤノン株式会社
定着装置
21日前
キヤノン株式会社
表示装置
13日前
キヤノン株式会社
定着装置
今日
キヤノン株式会社
撮像装置
6日前
キヤノン株式会社
表示装置
13日前
キヤノン株式会社
表示装置
13日前
キヤノン株式会社
記録装置
今日
キヤノン株式会社
二次電池
8日前
キヤノン株式会社
電気機器
1日前
キヤノン株式会社
定着装置
27日前
キヤノン株式会社
撮像装置
21日前
キヤノン株式会社
撮像装置
6日前
キヤノン株式会社
撮像装置
6日前
キヤノン株式会社
記録装置
今日
キヤノン株式会社
インク容器
今日
続きを見る
他の特許を見る