TOP
|
特許
|
意匠
|
商標
特許ウォッチ
Twitter
他の特許を見る
公開番号
2025180210
公報種別
公開特許公報(A)
公開日
2025-12-11
出願番号
2024087382
出願日
2024-05-29
発明の名称
画像形成装置及び電装ユニット
出願人
キヤノン株式会社
代理人
弁理士法人近島国際特許事務所
主分類
B41J
29/00 20060101AFI20251204BHJP(印刷;線画機;タイプライター;スタンプ)
要約
【課題】電気基板に対するシールド性能を向上する。
【解決手段】電装ユニットを備えた画像形成装置であって、電装ユニットは、電気部品の実装される実装面を有する電気基板と、底板21を有するケース本体20と、電気基板の実装面を基準として、底板21と同じ側に配置された板部31を有する支持部材30と、を有する。底板21には、底板21の厚さ方向に底板21を貫通する第1開口25dが形成され、底板21の厚さ方向に沿う視線で見たときに、板部31が第1開口25dの少なくとも一部を覆う。
【選択図】図6
特許請求の範囲
【請求項1】
電装ユニットを備えた画像形成装置であって、
前記電装ユニットは、
電気部品の実装される実装面を有する電気基板と、
第1板部を有する第1板金と、
前記電気基板の前記実装面を基準として、前記第1板部と同じ側に配置された第2板部を有する第2板金と、を有し、
前記第1板部には、前記第1板部の厚さ方向に前記第1板部を貫通する第1開口が形成され、
前記第1板部の厚さ方向に沿う視線で見たときに、前記第2板部が前記第1開口の少なくとも一部を覆う、
ことを特徴とする画像形成装置。
続きを表示(約 1,100 文字)
【請求項2】
前記第1板金は、前記第1開口の縁から前記第1板部のなす面に交差する第1交差方向に延びた第1延設部を有する、
ことを特徴とする請求項1に記載の画像形成装置。
【請求項3】
前記電気基板は、少なくとも第1電気基板を含み、
前記第1延設部が前記第1電気基板を支持する、
ことを特徴とする請求項2に記載の画像形成装置。
【請求項4】
前記第1板部と前記第1延設部とは、曲げ加工の施された1枚の板金によって一体的に形成されている、
ことを特徴とする請求項2に記載の画像形成装置。
【請求項5】
前記第2板金は、前記第2板部のうち前記第1開口を覆っている部分から、前記第2板部のなす面に交差する第2交差方向に延びた第2延設部を有し、
前記第2延設部が前記第1開口に挿通されている、
ことを特徴とする請求項1に記載の画像形成装置。
【請求項6】
前記第2板部と前記第2延設部とは、曲げ加工の施された1枚の板金によって一体的に形成されている、
ことを特徴とする請求項5に記載の画像形成装置。
【請求項7】
前記電気基板は、少なくとも第1電気基板と第2電気基板とを含み、
前記第1板金は、前記第1開口の縁から前記第1板部のなす面に交差する第1交差方向に延びた第1延設部を有し、
前記第2板金は、前記第2板部のうち前記第1開口を覆っている部分から、前記第2板部のなす面に交差する第2交差方向に延びた第2延設部を有し、
前記第1延設部が前記第1電気基板を支持し、
前記第2延設部が、前記第1開口に挿通され、かつ、前記第2電気基板を支持している、
ことを特徴とする請求項1に記載の画像形成装置。
【請求項8】
前記第1板部の厚さ方向に沿う視線で見たときに、前記第1電気基板と前記第2電気基板とは少なくとも部分的に重なっている、
ことを特徴とする請求項7に記載の画像形成装置。
【請求項9】
前記第1板部には前記厚さ方向に前記第1板部を貫通するスリット部が形成され、
前記第1板金は、前記スリット部の縁に隣接し、かつ、前記第1板部から前記厚さ方向に突出した絞り部を有する、
ことを特徴とする請求項1に記載の画像形成装置。
【請求項10】
前記第2板金は、前記第2板部から前記厚さ方向に延び、かつ、前記スリット部に挿通された第3延設部を有する、
ことを特徴とする請求項9に記載の画像形成装置。
(【請求項11】以降は省略されています)
発明の詳細な説明
【技術分野】
【0001】
本発明は、画像形成装置と、画像形成装置用の電装ユニットと、に関する。
続きを表示(約 1,600 文字)
【背景技術】
【0002】
画像形成装置において、電子部品が実装された電気基板が搭載されている。特許文献1では、このような電気基板を収容して電磁的にシールドするシールドケースを設けた構成が提案されている。
【先行技術文献】
【特許文献】
【0003】
特開2013-191797号公報
【発明の概要】
【発明が解決しようとする課題】
【0004】
しかしながら、上述した特許文献1は、シールドケースを構成する材料について開示していない。シールドケースを板金などの金属部材で形成する場合、加工のために開口が形成されることがある。本願発明者は、このような開口によってシールドケースのシールド性能が低下してしまう虞があるという課題を見出した。
【0005】
本発明は、電気基板に対するシールド性能を向上できる画像形成装置及び電装ユニットを提供することを目的とする。
【課題を解決するための手段】
【0006】
本発明の画像形成装置は、電装ユニットを備えた画像形成装置であって、前記電装ユニットは、電気部品の実装される実装面を有する電気基板と、第1板部を有する第1板金と、前記電気基板の前記実装面を基準として、前記第1板部と同じ側に配置された第2板部を有する第2板金と、を有し、前記第1板部には、前記第1板部の厚さ方向に前記第1板部を貫通する第1開口が形成され、前記第1板部の厚さ方向に沿う視線で見たときに、前記第2板部が前記第1開口の少なくとも一部を覆うことを特徴とする。
【0007】
また、本発明の電装ユニットは、画像形成装置用の電装ユニットであって、電気部品の実装される実装面を有する電気基板と、第1板部を有する第1板金と、前記電気基板の前記実装面を基準として、前記第1板部と同じ側に配置された第2板部を有する第2板金と、を有し、前記第1板部には、前記第1板部の厚さ方向に前記第1板部を貫通する第1開口が形成され、前記第1板部の厚さ方向に沿う視線で見たときに、前記第2板部が前記第1開口の少なくとも一部を覆うことを特徴とする。
【発明の効果】
【0008】
本発明によれば、画像形成装置及び電装ユニットにおいて、電気基板に対するシールド性能を向上できる。
【図面の簡単な説明】
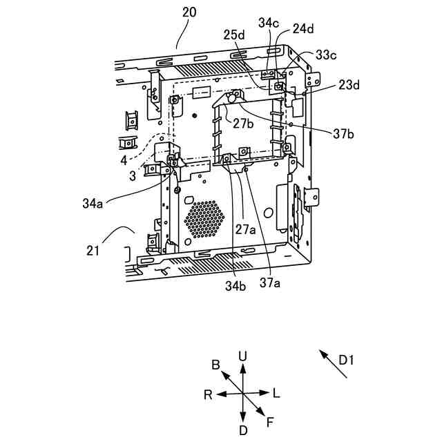
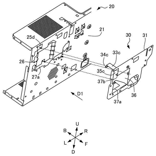
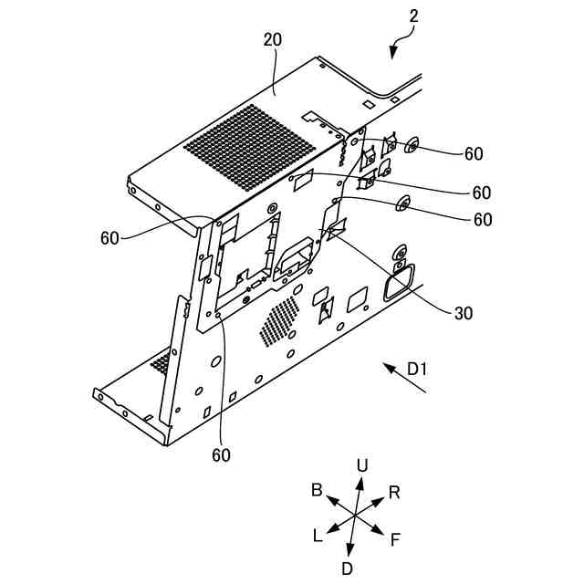
【0009】
本実施形態に係る画像形成装置を示す背面から視た斜視図である。
本実施形態に係る電装ユニットを示す斜視図である。
本実施形態に係るシールドケースを示す分解斜視図であり、(a)は電装部品を取り付ける前、(b)は電装部品を取り付けた後である。
本実施形態に係るシールドケースを示す背面から視た分解斜視図である。
本実施形態に係るシールドケースを示す背面から視た斜視図である。
本実施形態に係るシールドケースを示す正面から視た分解斜視図である。
本実施形態に係るシールドケースを示す正面から視た斜視図である。
【発明を実施するための形態】
【0010】
本実施形態について、図1~図7を用いて説明する。なお、以下の実施形態に記載の構成要素はあくまで例示であり、本発明の趣旨を逸脱しない範囲において本発明が適用される装置の構成や機能、寸法、材質、形状、その相対配置等の各種条件は適宜修正又は変更可能で、以下の実施形態に限定されるものではない。まず、本実施形態の画像形成装置1の概略構成について、図1を用いて説明する。本実施形態において、装置正面側とは、画像形成装置1の正面側であり、操作部などが配置され、ユーザが使用や操作の際に位置する側である。そして、図中、正面側は前方向F、背面側は後方向B、上側は上方向U、下側は下方向D、正面から向かって右側は右方向R、左側は左方向Lと表記する。
(【0011】以降は省略されています)
この特許をJ-PlatPat(特許庁公式サイト)で参照する
関連特許
キヤノン株式会社
容器
1か月前
キヤノン株式会社
容器
1か月前
キヤノン株式会社
トナー
1か月前
キヤノン株式会社
顕微鏡
今日
キヤノン株式会社
撮像装置
6日前
キヤノン株式会社
撮像装置
今日
キヤノン株式会社
発光装置
13日前
キヤノン株式会社
定着装置
27日前
キヤノン株式会社
表示装置
6日前
キヤノン株式会社
撮像装置
6日前
キヤノン株式会社
雲台装置
1か月前
キヤノン株式会社
表示装置
13日前
キヤノン株式会社
記録装置
今日
キヤノン株式会社
撮像装置
6日前
キヤノン株式会社
記録装置
今日
キヤノン株式会社
撮像装置
13日前
キヤノン株式会社
撮像装置
今日
キヤノン株式会社
記録装置
今日
キヤノン株式会社
記録装置
27日前
キヤノン株式会社
撮像装置
1か月前
キヤノン株式会社
定着装置
27日前
キヤノン株式会社
撮像装置
1か月前
キヤノン株式会社
定着装置
27日前
キヤノン株式会社
電子機器
29日前
キヤノン株式会社
二次電池
8日前
キヤノン株式会社
定着装置
今日
キヤノン株式会社
表示装置
1か月前
キヤノン株式会社
撮像装置
29日前
キヤノン株式会社
記録装置
7日前
キヤノン株式会社
記録装置
7日前
キヤノン株式会社
記録装置
今日
キヤノン株式会社
撮像装置
6日前
キヤノン株式会社
記録装置
今日
キヤノン株式会社
表示装置
13日前
キヤノン株式会社
撮像装置
6日前
キヤノン株式会社
電子機器
1か月前
続きを見る
他の特許を見る