TOP
|
特許
|
意匠
|
商標
特許ウォッチ
Twitter
他の特許を見る
10個以上の画像は省略されています。
公開番号
2025180771
公報種別
公開特許公報(A)
公開日
2025-12-11
出願番号
2024088321
出願日
2024-05-30
発明の名称
露光装置の製造方法
出願人
キヤノン株式会社
代理人
弁理士法人近島国際特許事務所
主分類
B41J
2/447 20060101AFI20251204BHJP(印刷;線画機;タイプライター;スタンプ)
要約
【課題】製造装置の複雑化を招くことなく、基板及びレンズアレイを筐体に対して高精度に固定することが可能な製造方法を提供する。
【解決手段】露光ヘッドは、基板と、基板に設けられた複数のLEDと、複数のLEDから出射された光を被照射面に集光するレンズアレイと、基板及びレンズアレイを保持する筐体と、を有する。露光ヘッドの製造方法は、基板を筐体に固定する第1工程と、第1工程の後にレンズアレイを筐体に固定する第2工程と、を有する。
【選択図】図11
特許請求の範囲
【請求項1】
基板と、基板に設けられた複数の発光素子と、前記複数の発光素子から出射された光を被照射面に集光するレンズアレイと、前記基板及び前記レンズアレイを保持する保持部材と、を有する露光装置の製造方法であって、
前記基板を前記保持部材に固定する第1工程と、
前記第1工程の後に前記レンズアレイを前記保持部材に固定する第2工程と、を有することを特徴とする露光装置の製造方法。
続きを表示(約 1,000 文字)
【請求項2】
前記基板は、前記複数の発光素子と導通した電気接点を有し、
前記第2工程において、外部から前記電気接点に電力を供給して前記複数の発光素子を発光させながら前記レンズアレイの前記保持部材に対する位置決めを行ってから、前記レンズアレイを前記保持部材に固定することを特徴とする請求項1に記載の露光装置の製造方法。
【請求項3】
前記複数の発光素子は、前記基板及び前記レンズアレイが前記保持部材に保持された状態で、前記レンズアレイと対向する前記基板の第1面に設けられ、
前記電気接点は、前記第1面の裏側の面である前記基板の第2面に設けられていることを特徴とする請求項2に記載の露光装置の製造方法。
【請求項4】
前記電気接点は、前記基板の表裏方向において、前記複数の発光素子が設けられた領域に重ならない位置に配置されていることを特徴とする請求項3に記載の露光装置の製造方法。
【請求項5】
前記基板の前記第2面には、前記電気接点とは別に、前記露光装置の使用時に外部から電力が供給されると共に信号を受信するコネクタが設けられていることを特徴とする請求項3に記載の露光装置の製造方法。
【請求項6】
前記基板には、前記コネクタを介して受信した信号を前記複数の発光素子に転送するICが設けられていることを特徴とする請求項5に記載の露光装置の製造方法。
【請求項7】
前記発光素子は、OLEDであることを特徴とする請求項1に記載の露光装置の製造方法。
【請求項8】
前記基板と前記レンズアレイは、接着剤により前記保持部材に固定されることを特徴とする請求項1に記載の露光装置の製造方法。
【請求項9】
前記第1工程において、前記基板を前記保持部材に対して位置決めした状態で、前記基板と前記保持部材の間に紫外線硬化型の接着剤を塗布し、前記紫外線硬化型の接着剤に紫外線を照射することを特徴とする請求項8に記載の露光装置の製造方法。
【請求項10】
前記第2工程において、前記レンズアレイを前記保持部材に対して位置決めした状態で、前記レンズアレイと前記保持部材との間に紫外線硬化型の接着剤を塗布し、前記紫外線硬化型の接着剤に紫外線を照射することを特徴とする請求項9に記載の露光装置の製造方法。
(【請求項11】以降は省略されています)
発明の詳細な説明
【技術分野】
【0001】
本発明は、感光体の表面などの被照射面を露光する露光装置の製造方法に関する。
続きを表示(約 2,700 文字)
【背景技術】
【0002】
電子写真方式の画像形成装置として、複数の発光素子としてのLEDアレイおよびレンズアレイを備えた露光装置から感光体の表面を露光することで感光体の表面に静電潜像を形成し、その静電潜像にトナーを付着させてトナー像を現像するものが普及している(例えば、特許文献1)。
【0003】
このような露光装置においては、LEDアレイが搭載された基板、およびレンズアレイは、接着剤などを介して保持部材に接着されている。露光装置の組み立ては、例えば、工具を用いてLEDアレイが搭載された基板やレンズアレイの位置を光学特性が所定の規格を満たすように調整しながら、基板及びレンズアレイを保持部材に固定することで行う。
【0004】
例えば、特許文献2には、保持部材にレンズアレイを固定した後に基板を固定する製造方法が開示されている。特許文献2では、基板にLEDアレイに通電可能な電極パッドが形成されており、レンズアレイを保持部材に対して固定した後に、基板を工具により保持しつつ、電極パッドを介してLEDアレイに通電しながら基板を保持部材に対して位置決めする。この際、LEDアレイからレンズアレイに向けて出射した光をカメラにより受光し、基板の位置決めを行う。その後、接着剤により基板と保持部材とを固定する。
【先行技術文献】
【特許文献】
【0005】
特開2020-62853号公報
特開2016-49713号公報
【発明の概要】
【発明が解決しようとする課題】
【0006】
特許文献2に記載の製造方法の場合、レンズアレイを先に保持部材に固定してから基板を保持部材に固定している。このため、基板の位置調整時に基板のLEDアレイを発光させるために、電極パッドに電気接点工具を接続する必要がある。したがって、特許文献2では、電気接点工具と基板の電極パッドとを接続しながら基板の位置調整を行いつつ、基板を接着剤により保持部材に固定する必要があり、製造装置の複雑化を招く。
【0007】
本発明は、製造装置の複雑化を招くことなく、基板及びレンズアレイを保持部材に対して高精度に固定することが可能な製造方法を提供することを目的とする。
【課題を解決するための手段】
【0008】
本発明の一態様は、基板と、基板に設けられた複数の発光素子と、前記複数の発光素子から出射された光を被照射面に集光するレンズアレイと、前記基板及び前記レンズアレイを保持する保持部材と、を有する露光装置の製造方法であって、前記基板を前記保持部材に固定する第1工程と、前記第1工程の後に前記レンズアレイを前記保持部材に固定する第2工程と、を有することを特徴とする露光装置の製造方法である。
【発明の効果】
【0009】
本発明によれば、製造装置の複雑化を招くことなく、基板及びレンズアレイを保持部材に対して高精度に固定することが可能である。
【図面の簡単な説明】
【0010】
実施形態に係る画像形成装置を示す概略構成断面図。
実施形態に係る露光ヘッドの断面図。
実施形態に係る露光ヘッドの斜視図。
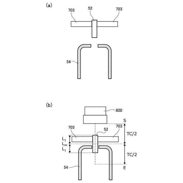
実施形態に係る露光ヘッド及び感光ドラムの、(a)斜視図、(b)断面図。
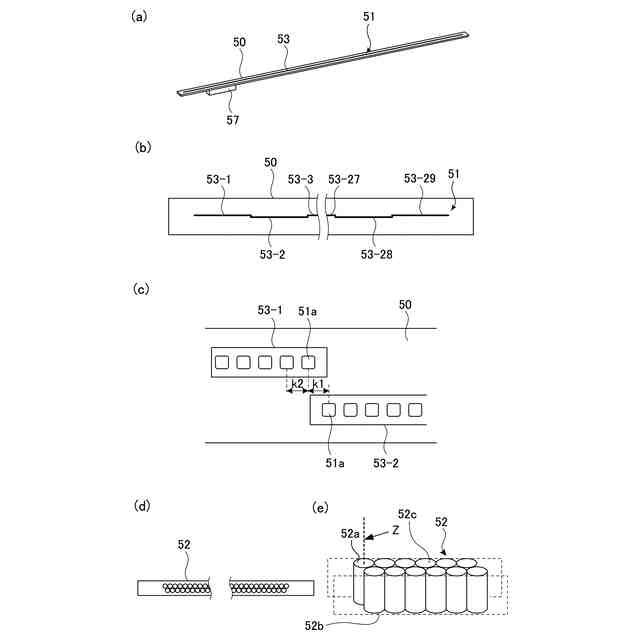
実施形態に係る基板の、(a)斜視図、(b)平面図、(c)(b)の一部を拡大して示す平面図、(d)実施形態に係るレンズアレイの平面図、(e)実施形態に係るレンズアレイの概略構成斜視図。
実施形態に係る基板のチェックパッドを実装した面を模式的に示す平面図。
(a)比較例に係るレンズアレイを筐体に組み付ける状態を示す概略構成断面図、(b)比較例に係るレンズアレイの筐体に対する位置調整状態を示す概略構成断面図。
(a)比較例に係るレンズアレイと筐体との間に接着剤を塗布している状態を示す概略構成断面図、(b)比較例に係るレンズアレイと筐体との間に塗布した接着剤にUVを照射している状態を示す概略構成断面図、(c)比較例に係るレンズアレイの筐体に対する固定状態を示す概略構成断面図。
(a)比較例に係る基板を吸着パッドにより保持している様子を示す模式図、(b)比較例に係る基板の反りを吸着パッドにより矯正している様子を示す模式図。
(a)比較例に係る基板の筐体に対する位置調整状態を示す概略構成断面図、(b)比較例に係る基板と筐体との間に接着剤を塗布している状態を示す概略構成断面図、(c)比較例に係る基板と筐体との間に塗布した接着剤にUVを照射している状態を示す概略構成断面図、(d)比較例に係る基板の筐体に対する固定状態を示す概略構成断面図。
実施形態に係る露光ヘッドの製造方法の順序を示すフローチャート。
(a)実施形態に係る基板を吸着パッドにより保持している様子を示す模式図、(b)実施形態に係る基板の反りを吸着パッドにより矯正している様子を示す模式図。
(a)実施形態に係る基板の筐体に対する位置調整状態を示す概略構成断面図、(b)実施形態に係る基板と筐体との間に接着剤を塗布している状態を示す概略構成断面図、(c)実施形態に係る基板と筐体との間に塗布した接着剤にUVを照射している状態を示す概略構成断面図、(d)実施形態に係る基板の筐体に対する固定状態を示す概略構成断面図。
(a)実施形態に係るレンズアレイを筐体に組み付ける状態を示す概略構成断面図、(b)実施形態に係るレンズアレイの筐体に対する位置調整状態を示す概略構成断面図。
(a)実施形態に係るレンズアレイと筐体との間に接着剤を塗布している状態を示す概略構成断面図、(b)実施形態に係るレンズアレイと筐体との間に塗布した接着剤にUVを照射している状態を示す概略構成断面図、(c)実施形態に係るレンズアレイの筐体に対する固定状態を示す概略構成断面図。
実施形態に係る基板と筐体とを熱硬化型の接着剤により接着した状態を、露光ヘッドの基板側から見た斜視図。
実施形態に係るレンズアレイと筐体とを熱硬化型の接着剤により接着した状態を、露光ヘッドのレンズアレイ側から見た斜視図。
実施形態に係る露光ヘッドの変形例の、(a)第1例を、(b)第2例を、(c)第3例を、(d)第4例を、それぞれ示す概略構成断面図。
【発明を実施するための形態】
(【0011】以降は省略されています)
この特許をJ-PlatPat(特許庁公式サイト)で参照する
関連特許
キヤノン株式会社
容器
1か月前
キヤノン株式会社
容器
1か月前
キヤノン株式会社
トナー
1か月前
キヤノン株式会社
顕微鏡
今日
キヤノン株式会社
撮像装置
13日前
キヤノン株式会社
記録装置
今日
キヤノン株式会社
記録装置
今日
キヤノン株式会社
撮像装置
21日前
キヤノン株式会社
撮像装置
21日前
キヤノン株式会社
定着装置
21日前
キヤノン株式会社
定着装置
今日
キヤノン株式会社
定着装置
27日前
キヤノン株式会社
表示装置
1か月前
キヤノン株式会社
記録装置
今日
キヤノン株式会社
撮像装置
1か月前
キヤノン株式会社
定着装置
27日前
キヤノン株式会社
撮像装置
今日
キヤノン株式会社
撮像装置
今日
キヤノン株式会社
記録装置
27日前
キヤノン株式会社
定着装置
21日前
キヤノン株式会社
撮像装置
15日前
キヤノン株式会社
定着装置
27日前
キヤノン株式会社
記録装置
7日前
キヤノン株式会社
電子機器
6日前
キヤノン株式会社
表示装置
6日前
キヤノン株式会社
撮像装置
6日前
キヤノン株式会社
撮像装置
6日前
キヤノン株式会社
撮像装置
6日前
キヤノン株式会社
撮像装置
6日前
キヤノン株式会社
撮像装置
6日前
キヤノン株式会社
記録装置
7日前
キヤノン株式会社
表示装置
13日前
キヤノン株式会社
二次電池
8日前
キヤノン株式会社
電気機器
1日前
キヤノン株式会社
記録装置
1日前
キヤノン株式会社
発光装置
13日前
続きを見る
他の特許を見る