TOP
|
特許
|
意匠
|
商標
特許ウォッチ
Twitter
他の特許を見る
公開番号
2025165838
公報種別
公開特許公報(A)
公開日
2025-11-05
出願番号
2024070172
出願日
2024-04-23
発明の名称
画像形成装置
出願人
キヤノン株式会社
代理人
個人
,
個人
主分類
G03G
15/08 20060101AFI20251028BHJP(写真;映画;光波以外の波を使用する類似技術;電子写真;ホログラフイ)
要約
【課題】複数の現像室を備えた回転可能なロータリに対して、現像室に補給するトナーを収容したトナーカートリッジが着脱可能な構成において、補給かぶりの発生を抑制する。
【解決手段】画像形成装置1は、像担持体2にトナーを供給する現像位置に現像部材51を移動させる回転可能なロータリ90と、ロータリ90に対して着脱可能に装着されたトナーカートリッジ70と、を有し、受入開口部53bと排出開口部71bとが連通して、トナーカートリッジ70から現像室53aにトナーが補給される。現像室53aは、現像室53aを、現像部材51を含む第1領域53a1と、第2領域53a2とに隔てる隔壁Wを含み、ロータリ90の回転により、トナーカートリッジ70に収容されたトナーと、第1領域53a1に収容されたトナーは、それぞれ第2領域53a2に移動し、混合される。
【選択図】図2
特許請求の範囲
【請求項1】
静電像が形成される像担持体と、
トナーを収容する現像室、及び前記現像室に収容されたトナーを前記像担持体に供給して前記静電像を現像する現像部材が設けられ、前記像担持体にトナーを供給する現像位置に前記現像部材を移動させる回転可能なロータリと、
前記現像室に補給されるトナーを収容し、前記ロータリに対して着脱可能に装着されたトナーカートリッジと、
を有し、
前記現像室に設けられた受入開口部と、前記トナーカートリッジに設けられた排出開口部と、が連通して、前記トナーカートリッジから前記現像室にトナーが補給される画像形成装置であって、
前記現像室は、前記現像室を、前記現像部材を含む第1領域と、第2領域とに隔てる隔壁を含み、
前記ロータリの回転により、前記トナーカートリッジに収容されたトナーと、前記第1領域に収容されたトナーは、それぞれ前記第2領域に移動し、混合されることを特徴とする画像形成装置。
続きを表示(約 990 文字)
【請求項2】
前記現像部材が前記現像位置に配置された状態で、鉛直方向に関して、前記受入開口部及び前記排出開口部は、前記隔壁の頂点を通る水平線よりも上方に位置することを特徴とする請求項1に記載の画像形成装置。
【請求項3】
前記トナーカートリッジから前記現像室に移動するトナーは、前記ロータリの回転に伴い前記第2領域から前記第1領域に移動したトナーにより前記第1領域に留まることが抑制されて、前記第2領域に移動することが可能であることを特徴とする請求項2に記載の画像形成装置。
【請求項4】
前記現像部材が前記現像位置に配置された状態で、鉛直方向に関して、前記受入開口部及び前記排出開口部は、前記隔壁の頂点を通る水平線よりも下方に位置することを特徴とする請求項1に記載の画像形成装置。
【請求項5】
前記トナーカートリッジから前記現像室に移動するトナーは、前記第1領域を通ることなく前記第2領域に直接移動することが可能であることを特徴とする請求項4に記載の画像形成装置。
【請求項6】
前記現像室に、前記トナーカートリッジから前記第2領域へのトナーの移動をガイドするガイド部材が設けられていることを特徴とする請求項4に記載の画像形成装置。
【請求項7】
前記ガイド部材は、前記ロータリの回転に伴い前記受入開口部を開閉する逆止弁で構成されることを特徴とする請求項6に記載の画像形成装置。
【請求項8】
前記現像部材が前記現像位置に配置された状態で、鉛直方向に関して、前記隔壁の頂点は前記現像部材の頂点よりも上方に位置することを特徴とする請求項1乃至7のいずれか1項に記載の画像形成装置。
【請求項9】
前記ロータリには、前記現像部材が前記現像位置に配置された状態で、前記第1領域に収容されたトナーを前記現像部材に供給する供給部材が設けられていることを特徴とする請求項1乃至7のいずれか1項に記載の画像形成装置。
【請求項10】
前記現像部材が前記現像位置に配置された状態で、鉛直方向に関して、前記隔壁の頂点は前記現像部材の頂点及び前記供給部材の頂点よりも上方に位置することを特徴とする請求項9に記載の画像形成装置。
(【請求項11】以降は省略されています)
発明の詳細な説明
【技術分野】
【0001】
本発明は、電子写真方式を用いたプリンタ、複写機、ファクシミリ装置、あるいはこれらの機能のうち複数の機能を備えた複合機などの画像形成装置に関するものである。
続きを表示(約 2,000 文字)
【背景技術】
【0002】
従来、電子写真方式を用いた画像形成装置において、それぞれに現像ローラが設けられた複数の現像室を備えたロータリを回転させることで、感光体の表面の静電潜像を異なる色のトナーで現像するロータリ現像方式が知られている。
【0003】
特許文献1には、複数の現像器(現像室)を備えたロータリと、各現像器に補給するトナーを収容した、ロータリに対して着脱可能な複数のトナーカートリッジ(トナー収容容器)と、を備えた画像形成装置が記載されている。
【先行技術文献】
【特許文献】
【0004】
特開2007-183305号公報
【発明の概要】
【発明が解決しようとする課題】
【0005】
現像室内のトナーは、現像ローラに担持されて、現像ブレードや感光体などと摺擦されることで機械的なストレスを受けて、徐々に劣化する。トナーの劣化が進んで、元の粒子形状から変形したトナーや、外添剤が粒子表面から剥がれ落ちたトナーは、摩擦帯電性能が低下する傾向がある。
【0006】
トナーカートリッジから現像室に新規トナーが補給されると、現像室内でダメージを受けた劣化トナーと新規トナーとの間には、摩擦帯電性能(摩擦帯電能力)に差が生じる。劣化トナーは正規帯電極性に帯電しにくく、新規トナーは正規帯電極性に帯電しやすい傾向がある。そのため、摩擦帯電性能の低い劣化トナーが新規トナーと混在させられた直後は、劣化トナーの電荷が低い状態になりやすい。この状態のトナーが現像ローラ上にコートされてしまうと、感光体上の非画像形成部にトナーが載ってしまう「かぶり」と呼ばれる現象が発生することがある。このような現像室へのトナーの補給に起因するかぶりを「補給かぶり」と呼ぶ。
【0007】
そこで、本発明の目的は、複数の現像室を備えた回転可能なロータリに対して、現像室に補給するトナーを収容したトナーカートリッジが着脱可能な構成において、補給かぶりの発生を抑制することである。
【課題を解決するための手段】
【0008】
上記目的は本発明に係る画像形成装置にて達成される。要約すれば、本発明は、静電像が形成される像担持体と、トナーを収容する現像室、及び前記現像室に収容されたトナーを前記像担持体に供給して前記静電像を現像する現像部材が設けられ、前記像担持体にトナーを供給する現像位置に前記現像部材を移動させる回転可能なロータリと、前記現像室に補給されるトナーを収容し、前記ロータリに対して着脱可能に装着されたトナーカートリッジと、を有し、前記現像室に設けられた受入開口部と、前記トナーカートリッジに設けられた排出開口部と、が連通して、前記トナーカートリッジから前記現像室にトナーが補給される画像形成装置であって、前記現像室は、前記現像室を、前記現像部材を含む第1領域と、第2領域とに隔てる隔壁を含み、前記ロータリの回転により、前記トナーカートリッジに収容されたトナーと、前記第1領域に収容されたトナーは、それぞれ前記第2領域に移動し、混合されることを特徴とする画像形成装置である。
【発明の効果】
【0009】
本発明によれば、複数の現像室を備えた回転可能なロータリに対して、現像室に補給するトナーを収容したトナーカートリッジが着脱可能な構成において、補給かぶりの発生を抑制することができる。
【図面の簡単な説明】
【0010】
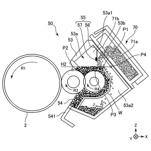
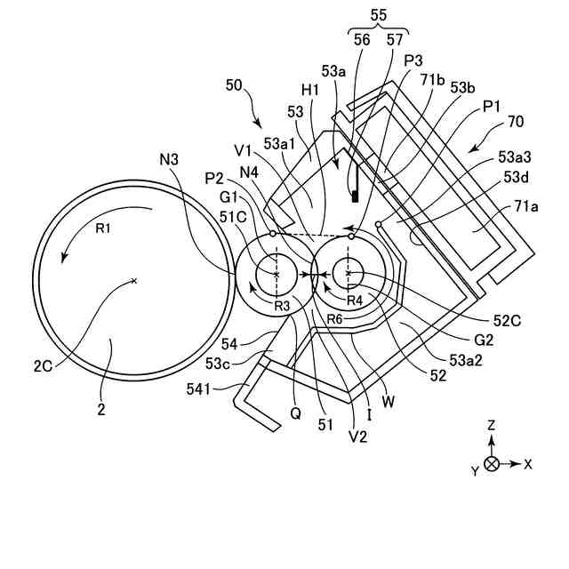
画像形成装置の概略断面図である。
実施例1の現像ユニットの概略断面図である。
現像ユニットの概略断面図である。
現像室内のトナーの剤面の一例を説明するための現像ユニットの概略断面図である。
現像室内のトナーの剤面の他の例を説明するための現像ユニットの概略断面図である。
比較例の現像ユニットの概略断面図である。
実施例1におけるトナーの混合のメカニズムを説明するためのロータリ式現像装置の模式的な断面図である。
実施例1におけるトナーの混合のメカニズムを説明するためのロータリ式現像装置の模式的な断面図である。
現像室内のトナーの剤面の他の例を説明するための現像ユニットの概略断面図である。
現像ユニットの他の例の概略断面図である。
実施例2におけるトナーの混合のメカニズムを説明するためのロータリ式現像装置の模式的な断面図である。
実施例2におけるトナーの混合のメカニズムを説明するためのロータリ式現像装置の模式的な断面図である。
現像ユニットの他の例を説明するための現像ユニットの模式的な断面図及び現像室の内壁の模式的な正面図である。
【発明を実施するための形態】
(【0011】以降は省略されています)
この特許をJ-PlatPat(特許庁公式サイト)で参照する
関連特許
キヤノン株式会社
容器
1か月前
キヤノン株式会社
容器
1か月前
キヤノン株式会社
トナー
1か月前
キヤノン株式会社
トナー
1か月前
キヤノン株式会社
トナー
22日前
キヤノン株式会社
トナー
1か月前
キヤノン株式会社
トナー
1か月前
キヤノン株式会社
トナー
1か月前
キヤノン株式会社
撮像装置
1か月前
キヤノン株式会社
記録装置
22日前
キヤノン株式会社
撮像装置
1日前
キヤノン株式会社
定着装置
15日前
キヤノン株式会社
表示装置
1日前
キヤノン株式会社
電子機器
22日前
キヤノン株式会社
定着装置
1か月前
キヤノン株式会社
定着装置
15日前
キヤノン株式会社
電子機器
22日前
キヤノン株式会社
現像容器
1か月前
キヤノン株式会社
記録装置
22日前
キヤノン株式会社
撮像装置
23日前
キヤノン株式会社
撮像装置
1日前
キヤノン株式会社
撮像装置
3日前
キヤノン株式会社
撮像装置
9日前
キヤノン株式会社
撮像装置
9日前
キヤノン株式会社
表示装置
1か月前
キヤノン株式会社
測距装置
24日前
キヤノン株式会社
現像装置
1か月前
キヤノン株式会社
撮像装置
1か月前
キヤノン株式会社
現像容器
1か月前
キヤノン株式会社
記録装置
1か月前
キヤノン株式会社
現像装置
1か月前
キヤノン株式会社
定着装置
9日前
キヤノン株式会社
定着装置
9日前
キヤノン株式会社
現像装置
1か月前
キヤノン株式会社
表示装置
1日前
キヤノン株式会社
撮像装置
1か月前
続きを見る
他の特許を見る