TOP
|
特許
|
意匠
|
商標
特許ウォッチ
Twitter
他の特許を見る
10個以上の画像は省略されています。
公開番号
2025173001
公報種別
公開特許公報(A)
公開日
2025-11-27
出願番号
2022165796
出願日
2022-10-14
発明の名称
端末及び測位方法
出願人
株式会社NTTドコモ
代理人
個人
,
個人
,
個人
主分類
H04W
72/02 20090101AFI20251119BHJP(電気通信技術)
要約
【課題】端末間直接通信におけるポジショニング用参照信号の測定結果を報告すること。
【解決手段】端末間直接通信における位置測位に係る信号を第1のリソースプールにおいて端末から受信する受信部と、前記端末間直接通信における位置測位に係る信号に基づいて測定を実行する制御部と、前記測定に基づく情報を第2のリソースプールにおいて前記端末に送信する送信部とを有し、前記制御部は、前記第1のリソースプール及び前記第2のリソースプールを決定する。
【選択図】図21
特許請求の範囲
【請求項1】
端末間直接通信における位置測位に係る信号を第1のリソースプールにおいて端末から受信する受信部と、
前記端末間直接通信における位置測位に係る信号に基づいて測定を実行する制御部と、
前記測定に基づく情報を第2のリソースプールにおいて前記端末に送信する送信部とを有し、
前記制御部は、前記第1のリソースプール及び前記第2のリソースプールを決定する端末。
続きを表示(約 690 文字)
【請求項2】
前記制御部は、前記第1のリソースプールに関連付けられた1又は複数のリソースプールの候補から、前記第2のリソースプールを決定する請求項1記載の端末。
【請求項3】
前記受信部は、前記第2のリソースプールに係る情報を前記端末から受信し、
前記制御部は、前記情報に基づいて、前記第2のリソースプールを決定する請求項1記載の端末。
【請求項4】
前記制御部は、前記第2のリソースプールに関連付けられた1又は複数のリソースプールの候補から、前記第1のリソースプールを決定し、
前記送信部は、前記第1のリソースプールに係る情報を含む前記端末間直接通信における位置測位に係る信号の送信要求を前記端末に送信する請求項1記載の端末。
【請求項5】
前記受信部が、前記第2のリソースプールに係る情報及び位置測位に係る動作要求を前記端末から受信した場合、かつ、前記情報に基づく前記第2のリソースプールが使用できない場合、
前記送信部は、前記動作要求に対する拒否を前記端末に送信する請求項1記載の端末。
【請求項6】
端末間直接通信における位置測位に係る信号を第1のリソースプールにおいて端末から受信する手順と、
前記端末間直接通信における位置測位に係る信号に基づいて測定を実行する手順と、
前記測定に基づく情報を第2のリソースプールにおいて前記端末に送信する手順と、
前記第1のリソースプール及び前記第2のリソースプールを決定する手順とを端末が実行する測位方法。
発明の詳細な説明
【技術分野】
【0001】
本発明は、無線通信システムにおける端末及び測位方法に関する。
続きを表示(約 2,700 文字)
【背景技術】
【0002】
LTE(Long Term Evolution)及びLTEの後継システム(例えば、LTE-A(LTE Advanced)、NR(New Radio)(5Gともいう。))では、端末同士が基地局を介さずに直接通信を行うD2D(Device to Device)技術が検討されている(例えば非特許文献1)。
【0003】
D2Dは、端末と基地局との間のトラフィックを軽減し、災害時等に基地局が通信不能になった場合でも端末間の通信を可能とする。なお、3GPP(登録商標)(3rd Generation Partnership Project)では、D2Dを「サイドリンク(sidelink)」と称しているが、本明細書では、より一般的な用語であるD2Dを使用する。ただし、後述する実施の形態の説明では必要に応じてサイドリンクも使用する。
【0004】
D2D通信は、通信可能な他の端末を発見するためのD2Dディスカバリ(D2D discovery、D2D発見ともいう。)と、端末間で直接通信するためのD2Dコミュニケーション(D2D direct communication、D2D通信、端末間直接通信等ともいう。)と、に大別される。以下では、D2Dコミュニケーション、D2Dディスカバリ等を特に区別しないときは、単にD2Dと呼ぶ。また、D2Dで送受信される信号を、D2D信号と呼ぶ。NRにおけるV2X(Vehicle to Everything)に係るサービスの様々なユースケースが検討されている(例えば非特許文献2)。
【先行技術文献】
【非特許文献】
【0005】
3GPP TS 38.211 V17.3.0(2022-09)
3GPP TR 22.886 V16.2.0(2018-12)
3GPP TS 38.305 V17.2.0(2022-09)
3GPP TS 38.455 V17.2.0(2022-09)
3GPP TS 37.355 V17.2.0(2022-09)
3GPP TS 23.032 V17.2.0(2021-12)
3GPP TS 38.215 V17.2.0(2022-09)
【発明の概要】
【発明が解決しようとする課題】
【0006】
端末間直接通信のシナリオ、例えば、カバレッジ内、部分カバレッジ及びカバレッジ外、あるいはV2X(Vehicle to Everything)、パブリックセイフティ、商用及びIIOT(Industrial Internet of Things)等において、位置測位が検討されている。ここで、端末間直接通信におけるポジショニング用参照信号を受信して測定結果を報告するとき、当該参照信号を受信したリソースプールでは測定結果が報告できない場合があった。
【0007】
本発明は上記の点に鑑みてなされたものであり、端末間直接通信におけるポジショニング用参照信号の測定結果を報告することを目的とする。
【課題を解決するための手段】
【0008】
開示の技術によれば、端末間直接通信における位置測位に係る信号を第1のリソースプールにおいて端末から受信する受信部と、前記端末間直接通信における位置測位に係る信号に基づいて測定を実行する制御部と、前記測定に基づく情報を第2のリソースプールにおいて前記端末に送信する送信部とを有し、前記制御部は、前記第1のリソースプール及び前記第2のリソースプールを決定する端末が提供される。
【発明の効果】
【0009】
開示の技術によれば、端末間直接通信におけるポジショニング用参照信号の測定結果を報告することができる。
【図面の簡単な説明】
【0010】
無線通信システムについて説明するための図である。
V2Xを説明するための図である。
D2Dにおける通信の例を説明するための図である。
位置測位の例(1)を示す図である。
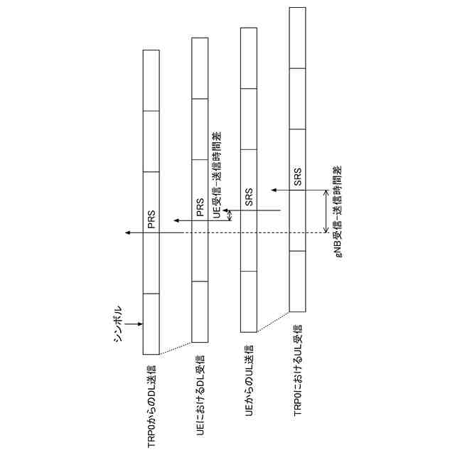
DL-RSTDを測定する例を示す図である。
UL-RTOAを測定する例を示す図である。
位置測位の例(2)を示す図である。
RTTを測定する例を示す図である。
本発明の実施の形態に係る位置推定の例(1)を説明するためのフローチャートである。
本発明の実施の形態に係る位置推定の例(1)を説明するための図である。
本発明の実施の形態に係る参照信号の配置例を示す図である。
本発明の実施の形態に係る位置推定の例(2)を説明するためのフローチャートである。
本発明の実施の形態に係る位置推定の例(2)を説明するための図である。
本発明の実施の形態に係る位置推定の例(3)を説明するためのフローチャートである。
本発明の実施の形態に係る位置推定の例(3)を説明するための図である。
本発明の実施の形態に係る位置推定の例(4)を説明するためのフローチャートである。
本発明の実施の形態に係る位置推定の例(4)を説明するための図である。
本発明の実施の形態に係る位置推定の例(5)を説明するためのフローチャートである。
本発明の実施の形態に係る位置推定の例(5)を説明するための図である。
本発明の実施の形態に係るリソースプールの例(1)を示す図である。
本発明の実施の形態に係るリソースプールの例(2)を示す図である。
本発明の実施の形態に係る測定結果の報告の例(1)を説明するためのシーケンス図である。
本発明の実施の形態に係る測定結果の報告の例(2)を説明するためのシーケンス図である。
本発明の実施の形態における基地局10の機能構成の一例を示す図である。
本発明の実施の形態における端末20の機能構成の一例を示す図である。
本発明の実施の形態における基地局10又は端末20のハードウェア構成の一例を示す図である。
本発明の実施の形態における車両2001の構成の一例を示す図である。
【発明を実施するための形態】
(【0011】以降は省略されています)
この特許をJ-PlatPat(特許庁公式サイト)で参照する
関連特許
株式会社NTTドコモ
端末
1か月前
株式会社NTTドコモ
端末
1か月前
株式会社NTTドコモ
端末
1か月前
株式会社NTTドコモ
端末
1か月前
株式会社NTTドコモ
端末
1か月前
株式会社NTTドコモ
基地局
1か月前
株式会社NTTドコモ
デバイス
1か月前
株式会社NTTドコモ
携帯端末
29日前
株式会社NTTドコモ
デバイス
1か月前
株式会社NTTドコモ
推定装置
29日前
株式会社NTTドコモ
デバイス
1か月前
株式会社NTTドコモ
移動通信端末
22日前
株式会社NTTドコモ
装置及び方法
1か月前
株式会社NTTドコモ
情報処理装置
29日前
株式会社NTTドコモ
情報処理装置
1か月前
株式会社NTTドコモ
情報処理装置
1か月前
株式会社NTTドコモ
基地局及び端末
1か月前
株式会社NTTドコモ
端末及び基地局
1か月前
株式会社NTTドコモ
端末及び基地局
1か月前
株式会社NTTドコモ
基地局及び端末
1か月前
株式会社NTTドコモ
端末及び基地局
1か月前
株式会社NTTドコモ
端末及び通信方法
1か月前
株式会社NTTドコモ
端末及び通信方法
1か月前
株式会社NTTドコモ
端末及び通信方法
1か月前
株式会社NTTドコモ
端末及び通信方法
1か月前
株式会社NTTドコモ
端末及び通信方法
1か月前
株式会社NTTドコモ
端末及び通信方法
1か月前
株式会社NTTドコモ
端末及び通信方法
1か月前
株式会社NTTドコモ
端末及び通信方法
1か月前
株式会社NTTドコモ
端末及び通信方法
1か月前
株式会社NTTドコモ
端末及び通信方法
1か月前
株式会社NTTドコモ
端末及び通信方法
1か月前
株式会社NTTドコモ
端末及び通信方法
1か月前
株式会社NTTドコモ
端末及び通信方法
1か月前
株式会社NTTドコモ
端末及び通信方法
1か月前
株式会社NTTドコモ
端末及び通信方法
1か月前
続きを見る
他の特許を見る