TOP
|
特許
|
意匠
|
商標
特許ウォッチ
Twitter
他の特許を見る
10個以上の画像は省略されています。
公開番号
2025157127
公報種別
公開特許公報(A)
公開日
2025-10-15
出願番号
2025017961
出願日
2025-02-05
発明の名称
端末及び通信方法
出願人
株式会社NTTドコモ
代理人
弁理士法人ITOH
主分類
H04W
74/0833 20240101AFI20251007BHJP(電気通信技術)
要約
【課題】省電力状態に遷移可能な基地局におけるPRACH(Physical random access channel)アダプテーション時のマスキングを決定すること。
【解決手段】端末は、追加PRACH(Physical random access channel)リソースに適用するマスキングに係る通知を含む下りリンク制御情報を基地局から受信する受信部と、前記マスキングに係る通知を、前記追加PRACHリソースに適用して、有効なPRACHリソースを特定する制御部とを有し、前記制御部は、前記有効なPRACHリソースを使用してランダムアクセス手順を実行する。
【選択図】図14
特許請求の範囲
【請求項1】
追加PRACH(Physical random access channel)リソースに適用するマスキングに係る通知を含む下りリンク制御情報を基地局から受信する受信部と、
前記マスキングに係る通知を、前記追加PRACHリソースに適用して、有効なPRACHリソースを特定する制御部とを有し、
前記制御部は、前記有効なPRACHリソースを使用してランダムアクセス手順を実行する端末。
続きを表示(約 600 文字)
【請求項2】
前記制御部は、PEI(Paging early indication)-RNTI(Radio Network Temporary Identifier)でスクランブリングされる下りリンク制御情報から、前記マスキングに係る通知を取得する請求項1記載の端末。
【請求項3】
前記制御部は、P(Paging)-RNTI(Radio Network Temporary Identifier)でスクランブリングされる下りリンク制御情報から、前記マスキングに係る通知を取得する請求項1記載の端末。
【請求項4】
前記制御部は、前記下りリンク制御情報に含まれる予約ビットから、前記マスキングに係る通知を取得する請求項3記載の端末。
【請求項5】
前記制御部は、ページング機会が増加すると想定する請求項3記載の端末。
【請求項6】
追加PRACH(Physical random access channel)リソースに適用するマスキングに係る通知を含む下りリンク制御情報を基地局から受信する手順と、
前記マスキングに係る通知を、前記追加PRACHリソースに適用して、有効なPRACHリソースを特定する手順と、
前記有効なPRACHリソースを使用してランダムアクセス手順を実行する手順とを端末が実行する通信方法。
発明の詳細な説明
【技術分野】
【0001】
本発明は、無線通信システムにおける端末及び通信方法に関する。
続きを表示(約 2,300 文字)
【背景技術】
【0002】
LTE(Long Term Evolution)の後継システムであるNR(New Radio)(「5G」ともいう。)においては、要求条件として、大容量のシステム、高速なデータ伝送速度、低遅延、多数の端末の同時接続、低コスト、省電力等を満たす技術が検討されている(例えば非特許文献1)。
【0003】
また、3GPP(登録商標)のリリース18では、環境持続可能性、カーボンニュートラル、SDGs(Sustainable Development Goals)、運用コストの低減等を達成するため、ネットワークにおける省電力化(Network energy savings)が重要性を増し、省電力化する手法が検討されている(例えば非特許文献2)。
【先行技術文献】
【非特許文献】
【0004】
3GPP TS 38.300 V18.0.0 (2023-12)
"New WID: Network energy savings for NR", RP-223540, 3GPP TSG RAN Meeting #98-e, 2022年12月
3GPP TS 38.331 V18.0.0 (2023-12)
3GPP TS 38.211 V18.1.0 (2023-12)
3GPP TS 38.213 V18.1.0 (2023-12)
3GPP TS 38.321 V18.0.0 (2023-12)
【発明の概要】
【発明が解決しようとする課題】
【0005】
カーボンニュートラルとSDGsを達成するため、基地局の消費電力を節約することの重要性が高まっており、基地局における間欠送受信を導入することが検討されている。省電力状態(エナジーセービング、Energy saving、ES)をサポートするセルにおいて、PRACH(Physical random access channel)アダプテーションを実行するとき、追加PRACHリソースにマスクをどのように適用して消費電力低減を達成するか不明であった。
【0006】
本発明は上記の点に鑑みてなされたものであり、省電力状態に遷移可能な基地局におけるPRACH(Physical random access channel)アダプテーション時のマスキングを決定することを目的とする。
【課題を解決するための手段】
【0007】
開示の技術によれば、追加PRACH(Physical random access channel)リソースに適用するマスキングに係る通知を含む下りリンク制御情報を基地局から受信する受信部と、前記マスキングに係る通知を、前記追加PRACHリソースに適用して、有効なPRACHリソースを特定する制御部とを有し、前記制御部は、前記有効なPRACHリソースを使用してランダムアクセス手順を実行する端末が提供される。
【発明の効果】
【0008】
開示の技術によれば、省電力状態に遷移可能な基地局におけるPRACH(Physical random access channel)アダプテーション時のマスキングを決定することができる。
【図面の簡単な説明】
【0009】
本発明の実施の形態に係る無線通信システムについて説明するための図である。
NRリリース15におけるCDRXについて説明するための図である。
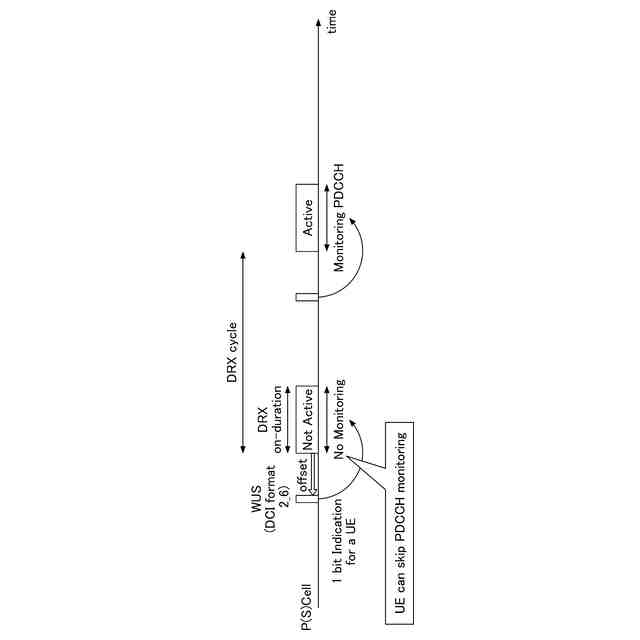
NRリリース16におけるWUSについて説明するための図である。
本発明の実施の形態の実施例1に係る基地局の間欠受信について説明するための図である。
本発明の実施の形態の実施例1に係る各パラメータについて説明するための図である。
本発明の実施の形態の実施例5に係る基地局の間欠送信について説明するための図である。
本発明の実施の形態の実施例5に係る各パラメータについて説明するための図である。
本発明の実施の形態の実施例9に係るOSI送信の例(1)を説明するためのシーケンス図である。
本発明の実施の形態の実施例9に係るOSI送信の例(2)を説明するためのシーケンス図である。
本発明の実施の形態の実施例9に係るオンデマンドSSBの例を示す図である。
本発明の実施の形態の実施例9に係るオンデマンドSSBに係る動作の例を説明するためのシーケンス図である。
本発明の実施の形態の実施例9に係るランダムアクセス手順の例を説明するためのシーケンス図である。
本発明の実施の形態の実施例9に係るSSBの例を説明するための図である。
本発明の実施の形態の実施例10に係るPRACHアダプテーションの例を説明するためのフローチャートである。
本発明の実施の形態に係る基地局の機能構成の一例を示す図である。
本発明の実施の形態に係る端末の機能構成の一例を示す図である。
本発明の実施の形態に係る基地局又は端末のハードウェア構成の一例を示す図である。
本発明の実施の形態に係る車両の構成の一例を示す図である。
【発明を実施するための形態】
【0010】
以下、図面を参照して本発明の実施の形態を説明する。なお、以下で説明する実施の形態は一例であり、本発明が適用される実施の形態は、以下の実施の形態に限られない。
(【0011】以降は省略されています)
この特許をJ-PlatPat(特許庁公式サイト)で参照する
関連特許
株式会社NTTドコモ
端末
7日前
株式会社NTTドコモ
端末
7日前
株式会社NTTドコモ
端末
8日前
株式会社NTTドコモ
端末
8日前
株式会社NTTドコモ
端末
7日前
株式会社NTTドコモ
端末
7日前
株式会社NTTドコモ
端末
8日前
株式会社NTTドコモ
端末
8日前
株式会社NTTドコモ
端末
7日前
株式会社NTTドコモ
基地局
7日前
株式会社NTTドコモ
デバイス
7日前
株式会社NTTドコモ
デバイス
7日前
株式会社NTTドコモ
デバイス
7日前
株式会社NTTドコモ
デバイス
8日前
株式会社NTTドコモ
デバイス
8日前
株式会社NTTドコモ
デバイス
8日前
株式会社NTTドコモ
デバイス
8日前
株式会社NTTドコモ
情報処理装置
今日
株式会社NTTドコモ
装置及び方法
5日前
株式会社NTTドコモ
基地局及び端末
7日前
株式会社NTTドコモ
基地局及び端末
7日前
株式会社NTTドコモ
端末及び基地局
7日前
株式会社NTTドコモ
端末及び基地局
7日前
株式会社NTTドコモ
端末及び基地局
7日前
株式会社NTTドコモ
端末及び通信方法
7日前
株式会社NTTドコモ
端末及び通信方法
7日前
株式会社NTTドコモ
端末及び通信方法
7日前
株式会社NTTドコモ
端末及び通信方法
7日前
株式会社NTTドコモ
端末及び通信方法
8日前
株式会社NTTドコモ
端末及び通信方法
8日前
株式会社NTTドコモ
端末及び通信方法
8日前
株式会社NTTドコモ
端末及び通信方法
8日前
株式会社NTTドコモ
端末及び通信方法
8日前
株式会社NTTドコモ
端末及び通信方法
8日前
株式会社NTTドコモ
端末及び通信方法
8日前
株式会社NTTドコモ
端末及び通信方法
7日前
続きを見る
他の特許を見る