TOP
|
特許
|
意匠
|
商標
特許ウォッチ
Twitter
他の特許を見る
10個以上の画像は省略されています。
公開番号
2025157039
公報種別
公開特許公報(A)
公開日
2025-10-15
出願番号
2024140141
出願日
2024-08-21
発明の名称
端末及び基地局
出願人
株式会社NTTドコモ
代理人
弁理士法人ITOH
主分類
H04W
52/02 20090101AFI20251007BHJP(電気通信技術)
要約
【課題】低電力ウエイクアップ信号モニタリング機会/低電力同期信号送信と同期信号ブロックのビームとの間の関係を規定すること。
【解決手段】端末は、アイドルモード又は非アクティブモードにおいて、一つ又は複数の低電力ウエイクアップ信号が、複数の同期信号ブロックのビームと関連付けられることと、一つ又は複数の低電力同期信号が、複数の同期信号ブロックのビームと関連付けられること、の少なくとも一つを想定する制御部と、前記低電力ウエイクアップ信号と前記低電力同期信号を受信する受信部と、を有する。
【選択図】図6
特許請求の範囲
【請求項1】
アイドルモード又は非アクティブモードにおいて、
一つ又は複数の低電力ウエイクアップ信号が、複数の同期信号ブロックのビームと関連付けられることと、
一つ又は複数の低電力同期信号が、複数の同期信号ブロックのビームと関連付けられること、
の少なくとも一つを想定する制御部と、
前記低電力ウエイクアップ信号と前記低電力同期信号を受信する受信部と、
を有する端末。
続きを表示(約 530 文字)
【請求項2】
前記複数の同期信号ブロックのビームは、全ての同期信号ブロックのビームの内のサブセットである、
請求項1に記載の端末。
【請求項3】
前記制御部は、前記低電力ウエイクアップ信号と前記前記低電力同期信号が関連付けられることを更に想定する、
請求項1に記載の端末。
【請求項4】
アイドルモード又は非アクティブモードにおいて、
一つ又は複数の低電力ウエイクアップ信号が、複数の同期信号ブロックのビームと関連付けられることと、
一つ又は複数の低電力同期信号が、複数の同期信号ブロックのビームと関連付けられること、
の少なくとも一つを想定する制御部と、
前記低電力ウエイクアップ信号と前記低電力同期信号を送信する送信部と、
を有する基地局。
【請求項5】
前記複数の同期信号ブロックのビームは、全ての同期信号ブロックのビームの内のサブセットである、
請求項4に記載の基地局。
【請求項6】
前記制御部は、前記低電力ウエイクアップ信号と前記前記低電力同期信号が関連付けられることを更に想定する、
請求項4に記載の基地局。
発明の詳細な説明
【技術分野】
【0001】
本発明は、無線通信システムにおける端末及び基地局に関する。
続きを表示(約 2,200 文字)
【背景技術】
【0002】
3GPP(登録商標)(3rd Generation Partnership Project)では、システム容量の更なる大容量化、データ伝送速度の更なる高速化、無線区間における更なる低遅延化等を実現するために、5GあるいはNR(New Radio)と呼ばれる無線通信方式(以下、当該無線通信方式を「NR」という。)の検討が進んでいる。5Gでは、10Gbps以上のスループットを実現しつつ無線区間の遅延を1ms以下にするという要求条件を満たすために、様々な無線技術及びネットワークアーキテクチャの検討が行われている(例えば、非特許文献1及び非特許文献2)。
【先行技術文献】
【非特許文献】
【0003】
3GPP TS 38.300 V18.1.0(2024-03)
3GPP TS 38.401 V18.1.0(2024-03)
【発明の概要】
【発明が解決しようとする課題】
【0004】
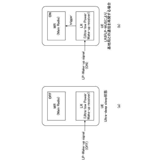
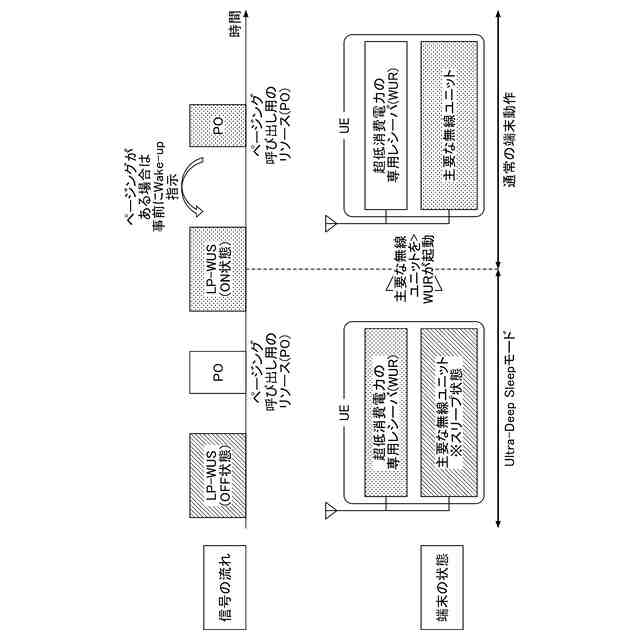
3GPP Rel-19では、従来のWUS(Wake Up Signal)の消費電力をより低減することを目的として、超低消費電力なLP(Low Power)-WUS/WUR(Wake UP Receiver)と呼ばれる方式が検討されている。LP-WUS/WURでは、可能な限り低消費電力な受信機の構成を用いることが望まれている。
しかしながら、既存仕様では、LP-WUSモニタリング機会(Monitoring Occasion, MO)/低電力同期信号(Low-Power-Synchronization Signal, LP-SS)送信と同期信号ブロック(Synchronization Signal Block)のビームとの間の関係が規定されていない。
【0005】
本発明は上記の点に鑑みてなされたものであり、低電力ウエイクアップ信号モニタリング機会/低電力同期信号送信と同期信号ブロックのビームとの間の関係を規定することを目的とする。
【課題を解決するための手段】
【0006】
開示の技術によれば、アイドルモード又は非アクティブモードにおいて、一つ又は複数の低電力ウエイクアップ信号が、複数の同期信号ブロックのビームと関連付けられることと、一つ又は複数の低電力同期信号が、複数の同期信号ブロックのビームと関連付けられること、の少なくとも一つを想定する制御部と、前記低電力ウエイクアップ信号と前記低電力同期信号を受信する受信部と、を有する端末が提供される。
【発明の効果】
【0007】
開示の技術によれば、低電力ウエイクアップ信号モニタリング機会/低電力同期信号送信と同期信号ブロックのビームとの間の関係を規定することができる。
【図面の簡単な説明】
【0008】
本発明の実施の形態における無線通信システムを説明するための図である。
本発明の実施の形態における無線通信システムを説明するための図である。
本発明の実施の形態におけるLP-WUS及びLP-WURによる通信を説明するための図である。
本発明の実施の形態におけるLP-WUS及びLP-WURによる通信を説明するための図である。
本発明の実施の形態における方法1-1を説明するための図である。
本発明の実施の形態における方法1-2を説明するための図である。
本発明の実施の形態における方法1-3を説明するための図である。
本発明の実施の形態における方法1-4を説明するための図である。
本発明の実施の形態における方法1-5を説明するための図である。
本発明の実施の形態における方法2-1を説明するための図である。
本発明の実施の形態における方法2-2を説明するための図である。
本発明の実施の形態における方法2-3を説明するための図である。
本発明の実施の形態における方法2-4を説明するための図である。
本発明の実施の形態における方法2-5を説明するための図である。
本発明の実施の形態における方法3を説明するための図である。
本発明の実施の形態における基地局10の機能構成の一例を示す図である。
本発明の実施の形態における端末20の機能構成の一例を示す図である。
本発明の実施の形態における基地局10又は端末20のハードウェア構成の一例を示す図である。
本発明の実施の形態における車両2001の構成の一例を示す図である。
【発明を実施するための形態】
【0009】
以下、図面を参照して本発明の実施の形態を説明する。なお、以下で説明する実施の形態は一例であり、本発明が適用される実施の形態は、以下の実施の形態に限られない。
【0010】
本発明の実施の形態の無線通信システムの動作にあたっては、適宜、既存技術が使用される。ただし、当該既存技術は、例えば既存のLTEであるが、既存のLTEに限られない。また、本明細書で使用する用語「LTE」は、特に断らない限り、LTE-Advanced、及び、LTE-Advanced以降の方式(例:NR)を含む広い意味を有するものとする。
(【0011】以降は省略されています)
この特許をJ-PlatPat(特許庁公式サイト)で参照する
関連特許
株式会社NTTドコモ
端末
5日前
株式会社NTTドコモ
端末
6日前
株式会社NTTドコモ
端末
5日前
株式会社NTTドコモ
端末
6日前
株式会社NTTドコモ
端末
5日前
株式会社NTTドコモ
端末
6日前
株式会社NTTドコモ
端末
6日前
株式会社NTTドコモ
端末
5日前
株式会社NTTドコモ
端末
5日前
株式会社NTTドコモ
基地局
5日前
株式会社NTTドコモ
デバイス
5日前
株式会社NTTドコモ
デバイス
5日前
株式会社NTTドコモ
デバイス
6日前
株式会社NTTドコモ
デバイス
6日前
株式会社NTTドコモ
デバイス
6日前
株式会社NTTドコモ
デバイス
6日前
株式会社NTTドコモ
デバイス
5日前
株式会社NTTドコモ
装置及び方法
3日前
株式会社NTTドコモ
端末及び方法
1か月前
株式会社NTTドコモ
情報処理装置
12日前
株式会社NTTドコモ
リニアライザ
13日前
株式会社NTTドコモ
装置および方法
18日前
株式会社NTTドコモ
端末及び基地局
5日前
株式会社NTTドコモ
基地局及び端末
5日前
株式会社NTTドコモ
端末及び基地局
5日前
株式会社NTTドコモ
端末及び基地局
5日前
株式会社NTTドコモ
基地局及び端末
5日前
株式会社NTTドコモ
端末及び通信方法
6日前
株式会社NTTドコモ
端末及び通信方法
6日前
株式会社NTTドコモ
端末及び通信方法
6日前
株式会社NTTドコモ
端末及び通信方法
6日前
株式会社NTTドコモ
端末及び通信方法
6日前
株式会社NTTドコモ
端末及び通信方法
6日前
株式会社NTTドコモ
端末及び通信方法
6日前
株式会社NTTドコモ
端末及び通信方法
6日前
株式会社NTTドコモ
端末及び通信方法
6日前
続きを見る
他の特許を見る