TOP
|
特許
|
意匠
|
商標
特許ウォッチ
Twitter
他の特許を見る
10個以上の画像は省略されています。
公開番号
2025157032
公報種別
公開特許公報(A)
公開日
2025-10-15
出願番号
2024139132
出願日
2024-08-20
発明の名称
端末及び通信方法
出願人
株式会社NTTドコモ
代理人
弁理士法人ITOH
主分類
H04W
48/08 20090101AFI20251007BHJP(電気通信技術)
要約
【課題】システム情報が更新されたとき、オンデマンドSIB1(System Information Block 1)をサポートするセルでSIB1を取得すること。
【解決手段】端末は、オンデマンドSIB1(System Information Block 1)をサポートするセルにおいて、ステム情報の変更を示す通知をある変更期間に受信する受信部と、WUS(Wake Up Signal)を送信しない送信部と、前記ある変更期間の次の変更期間に、前記SIB1を1又は複数のSIB1送信ウィンドウでモニタリングする制御部とを有する。
【選択図】図13
特許請求の範囲
【請求項1】
オンデマンドSIB1(System Information Block 1)をサポートするセルにおいて、システム情報の変更を示す通知をある変更期間に受信する受信部と、
WUS(Wake Up Signal)を送信しない送信部と、
前記ある変更期間の次の変更期間に、前記SIB1を1又は複数のSIB1送信ウィンドウでモニタリングする制御部とを有する端末。
続きを表示(約 640 文字)
【請求項2】
前記受信部は、前記SIB1の送信のために前記WUSによるトリガリングが必要であるか否かを示す情報を前記オンデマンドSIB1をサポートするセルにおいて受信する請求項1記載の端末。
【請求項3】
前記受信部は、前記SIB1の送信のために前記WUSによるトリガリングが必要でないことを示す情報を前記セルにおいて受信した場合、
前記制御部は、前記WUSを送信せずに、前記SIB1を1又は複数のSIB1送信ウィンドウでモニタリングする制御部とを有する請求項1記載の端末。
【請求項4】
前記受信部は、前記オンデマンドSIB1をサポートするセル以外のセルにおいて、SIB1に係る設定を受信する請求項1記載の端末。
【請求項5】
前記制御部は、DCI(Downlink Control Information)フォーマットに含まれるショートメッセージ内のフィールドからSIB1に係る設定を取得する請求項1記載の端末。
【請求項6】
オンデマンドSIB1(System Information Block 1)をサポートするセルにおいて、システム情報の変更を示す通知をある変更期間に受信する手順と、
WUS(Wake Up Signal)を送信しない手順と、
前記ある変更期間の次の変更期間に、前記SIB1を1又は複数のSIB1送信ウィンドウでモニタリングする手順とを端末が実行する通信方法。
発明の詳細な説明
【技術分野】
【0001】
本発明は、無線通信システムにおける端末及び通信方法に関する。
続きを表示(約 2,200 文字)
【背景技術】
【0002】
LTE(Long Term Evolution)の後継システムであるNR(New Radio)(「5G」ともいう。)においては、要求条件として、大容量のシステム、高速なデータ伝送速度、低遅延、多数の端末の同時接続、低コスト、省電力等を満たす技術が検討されている(例えば非特許文献1)。
【0003】
また、3GPP(登録商標)のリリース18では、環境持続可能性、カーボンニュートラル、SDGs(Sustainable Development Goals)、運用コストの低減等を達成するため、ネットワークにおける省電力化(Network energy savings)が重要性を増し、省電力化する手法が検討されている(例えば非特許文献2)。
【先行技術文献】
【非特許文献】
【0004】
3GPP TS 38.300 V18.0.0 (2023-12)
"New WID: Network energy savings for NR", RP-223540, 3GPP TSG RAN Meeting #98-e, 2022年12月
3GPP TS 38.331 V18.0.0 (2023-12)
3GPP TS 38.212 V18.1.0 (2023-12)
【発明の概要】
【発明が解決しようとする課題】
【0005】
ネットワークの省電力化のため、オンデマンドSIB1(System Information Block 1)が検討されている。システム情報が無効になったとき又は更新されたとき、オンデマンドSIB1をどのように取得するかが不明であった。
【0006】
本発明は上記の点に鑑みてなされたものであり、システム情報が更新されたとき、オンデマンドSIB1(System Information Block 1)をサポートするセルでSIB1を取得することを目的とする。
【課題を解決するための手段】
【0007】
開示の技術によれば、オンデマンドSIB1(System Information Block 1)をサポートするセルにおいて、システム情報の変更を示す通知をある変更期間に受信する受信部と、WUS(Wake Up Signal)を送信しない送信部と、前記ある変更期間の次の変更期間に、前記SIB1を1又は複数のSIB1送信ウィンドウでモニタリングする制御部とを有する端末が提供される。
【発明の効果】
【0008】
開示の技術によれば、システム情報が更新されたとき、オンデマンドSIB1(System Information Block 1)をサポートするセルでSIB1を取得することができる。
【図面の簡単な説明】
【0009】
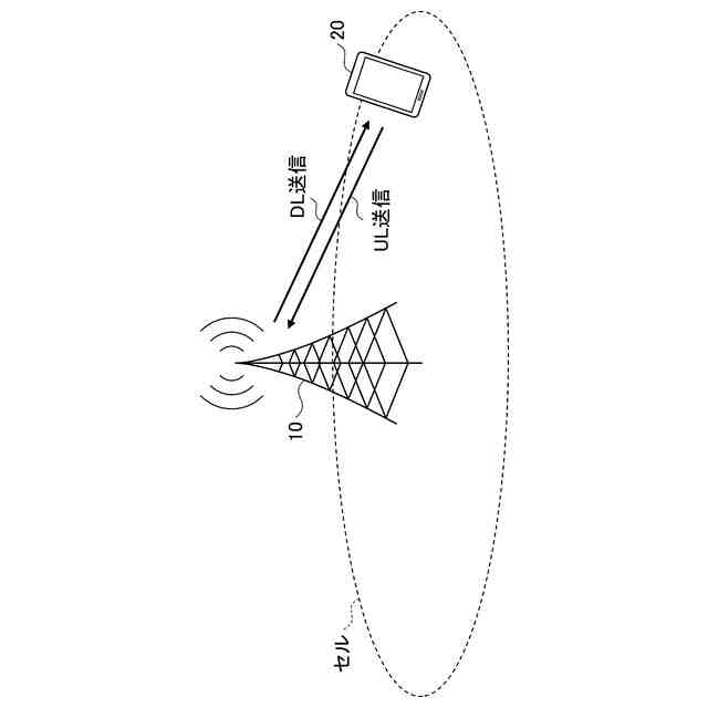
本発明の実施の形態に係る無線通信システムについて説明するための図である。
NRリリース15におけるCDRXについて説明するための図である。
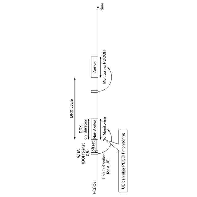
NRリリース16におけるWUSについて説明するための図である。
本発明の実施の形態の実施例1に係る基地局の間欠受信について説明するための図である。
本発明の実施の形態の実施例1に係る各パラメータについて説明するための図である。
本発明の実施の形態の実施例5に係る基地局の間欠送信について説明するための図である。
本発明の実施の形態の実施例5に係る各パラメータについて説明するための図である。
本発明の実施の形態の実施例9に係るOSI送信の例(1)を説明するためのシーケンス図である。
本発明の実施の形態の実施例9に係るOSI送信の例(2)を説明するためのシーケンス図である。
本発明の実施の形態の実施例9に係るオンデマンドSSBの例を示す図である。
本発明の実施の形態の実施例10に係るシステム情報取得の例を説明するためのシーケンス図である。
本発明の実施の形態の実施例10に係るシステム情報取得の例を説明するための図である。
本発明の実施の形態の実施例10に係るシステム情報取得の例(1)を説明するためのフローチャート図である。
本発明の実施の形態の実施例10に係るシステム情報取得の例(2)を説明するためのフローチャートである。
本発明の実施の形態の実施例10に係るシステム情報モニタリングの例を説明するための図である。
本発明の実施の形態に係る基地局の機能構成の一例を示す図である。
本発明の実施の形態に係る端末の機能構成の一例を示す図である。
本発明の実施の形態に係る基地局又は端末のハードウェア構成の一例を示す図である。
本発明の実施の形態に係る車両の構成の一例を示す図である。
【発明を実施するための形態】
【0010】
以下、図面を参照して本発明の実施の形態を説明する。なお、以下で説明する実施の形態は一例であり、本発明が適用される実施の形態は、以下の実施の形態に限られない。
(【0011】以降は省略されています)
この特許をJ-PlatPat(特許庁公式サイト)で参照する
関連特許
株式会社NTTドコモ
携帯端末
20日前
株式会社NTTドコモ
推定装置
20日前
株式会社NTTドコモ
情報処理装置
20日前
株式会社NTTドコモ
移動通信端末
13日前
株式会社NTTドコモ
端末及び通信方法
今日
株式会社NTTドコモ
端末及び通信方法
1日前
株式会社NTTドコモ
端末及び通信方法
2日前
株式会社NTTドコモ
端末及び通信方法
2日前
株式会社NTTドコモ
端末及び通信方法
5日前
株式会社NTTドコモ
管理装置及び管理方法
5日前
株式会社NTTドコモ
管理装置及び管理方法
5日前
株式会社NTTドコモ
管理装置及び管理方法
5日前
株式会社NTTドコモ
情報処理装置及び方法
14日前
株式会社NTTドコモ
情報処理装置及び方法
14日前
株式会社NTTドコモ
生成システム及び生成方法
12日前
株式会社NTTドコモ
測位支援装置及び測位支援方法
7日前
株式会社NTTドコモ
電力監視装置、及び、電力監視方法
7日前
株式会社NTTドコモ
最適化支援装置および最適化支援方法
20日前
株式会社NTTドコモ
端末
7日前
株式会社NTTドコモ
太陽電池の配置支援装置及び太陽電池の配置支援方法
5日前
株式会社NTTドコモ
端末
1日前
株式会社NTTドコモ
端末及び通信方法
14日前
株式会社NTTドコモ
端末及び通信方法
14日前
株式会社NTTドコモ
通信制御方法、端末、通信制御装置、通信制御システム、通信制御プログラム
12日前
株式会社NTTドコモ
端末、通信システム及び通信方法
14日前
株式会社NTTドコモ
無線通信ノード、および、無線通信方法
22日前
株式会社NTTドコモ
端末、無線通信方法、基地局及びシステム
14日前
株式会社NTTドコモ
端末、基地局、通信システム及び通信方法
14日前
株式会社NTTドコモ
端末、無線通信システム及び無線通信方法
7日前
株式会社NTTドコモ
端末、無線通信システム及び無線通信方法
1日前
株式会社NTTドコモ
端末、基地局、無線通信システム及び無線通信方法
14日前
個人
イヤーピース
12日前
個人
イヤーマフ
26日前
個人
監視カメラシステム
1か月前
個人
スイッチシステム
20日前
キーコム株式会社
光伝送線路
1か月前
続きを見る
他の特許を見る