TOP
|
特許
|
意匠
|
商標
特許ウォッチ
Twitter
他の特許を見る
公開番号
2025164447
公報種別
公開特許公報(A)
公開日
2025-10-30
出願番号
2024068435
出願日
2024-04-19
発明の名称
携帯端末
出願人
株式会社NTTドコモ
代理人
個人
,
個人
,
個人
,
個人
,
個人
主分類
G06F
16/909 20190101AFI20251023BHJP(計算;計数)
要約
【課題】データ保存容量が有限である点を踏まえつつ、データ保存処理を適切に制御する。
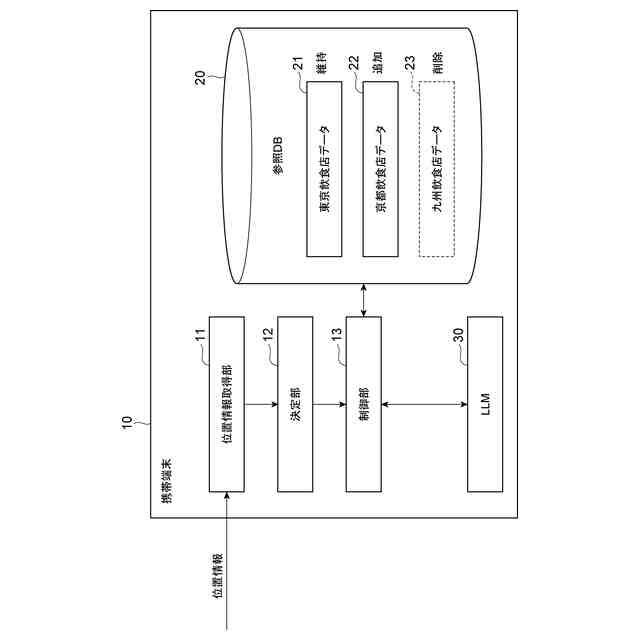
【解決手段】携帯端末10は、自己の携帯端末10の位置情報を取得する位置情報取得部11と、取得された位置情報に基づいて、LLM30(生成AIモデル)に参照させる複数の参照データ21~23であって携帯端末10に保存する当該複数の参照データ21~23のそれぞれの優先度を決定する決定部12と、決定された優先度に基づいて、携帯端末10における参照データ21~23の保存状態を制御する制御部13と、を備える。
【選択図】図1
特許請求の範囲
【請求項1】
自己の携帯端末の位置情報を取得する位置情報取得部と、
取得された位置情報に基づいて、生成AIモデルに参照させる複数の参照データであって前記携帯端末に保存する当該複数の参照データのそれぞれの優先度を決定する決定部と、
決定された前記優先度に基づいて、前記携帯端末における前記参照データの保存状態を制御する制御部と、
を備える携帯端末。
続きを表示(約 840 文字)
【請求項2】
前記位置情報取得部は、現在の位置情報および未来の位置情報の少なくとも一つを、前記携帯端末の前記位置情報として取得する、
請求項1に記載の携帯端末。
【請求項3】
前記位置情報取得部は、
前記携帯端末のユーザの行動予定情報、
過去の位置情報の履歴、並びに、
前記ユーザの位置変動に関連するチケットの購入履歴および宿泊施設の予約履歴、
の少なくとも一つに基づいて推測される前記未来の位置情報を、前記携帯端末の前記位置情報として取得する、
請求項2に記載の携帯端末。
【請求項4】
前記決定部は、取得された前記未来の位置情報に関連する前記参照データについて、保存すべきと判断するための予め定めた第1基準よりも高い優先度を決定し、
前記制御部は、決定された前記優先度と前記第1基準とに基づいて、前記未来の位置情報に関連する前記参照データを事前に保存する制御を行う、
請求項3に記載の携帯端末。
【請求項5】
前記決定部は、取得された前記未来の位置情報に基づき前記ユーザが今後位置しないと推定される不在位置に関連する前記参照データについて、保存不要と判断するための予め定めた第2基準よりも低い優先度を決定し、
前記制御部は、決定された前記優先度と前記第2基準とに基づいて、前記不在位置に関連する前記参照データを削除する制御を行う、
請求項3に記載の携帯端末。
【請求項6】
前記決定部は、前記位置情報に基づきユーザが常習的に長時間滞留する滞留位置に関連する前記参照データについて、保存すべきと判断するための予め定めた第1基準よりも高い優先度を決定し、
前記制御部は、決定された前記優先度と前記第1基準とに基づいて、前記滞留位置に関連する前記参照データの保存状態を維持する制御を行う、
請求項1に記載の携帯端末。
発明の詳細な説明
【技術分野】
【0001】
本開示は、携帯端末に関する。
続きを表示(約 1,500 文字)
【背景技術】
【0002】
近年、生成AI(Generative Artificial Intelligence)モデルを利用して様々な種類のコンテンツを生成させることが行われている。生成AIモデルとは、様々な生成要求情報の入力に応じて、当該生成要求情報が示す指示、文脈、質問、及び出力形式に従って生成結果(コンテンツ)を生成し、その生成結果を返答情報として返すことができるモデルである。自然言語処理の技術分野で用いられる生成AIモデルとしては、大規模言語モデル(Large Language Models(以下「LLM」と称する))が知られている。実際に、LLMでは、事前学習に非常に多くの労力と時間を要し、また、完全に正確な回答をさせることは難しい。そこで、LLMに問い合わせする時に、回答する際に参照させる情報を一緒にLLMに提供することで、事前学習の労力と時間を削減しつつ、より正確に回答させることを目指すRetrieval Augmented Generationシステム(以下「RAGシステム」と称する)という技術が知られている。
【0003】
また、高速アクセスを図るため、ユーザの携帯端末内にキャッシュとして、RAGシステムのデータ(即ち、LLMに参照させる情報)を保存することも想定される。例えば、その時点でRAGシステムに用いられる可能性が高いデータを携帯端末に保存することが考えられる。特許文献1には、携帯端末の位置情報に応じて必要な情報(例えば、近隣に位置する店舗情報など)を携帯端末へ自動的に提供する技術が開示されている。
【先行技術文献】
【特許文献】
【0004】
特開2011-066581号公報
【発明の概要】
【発明が解決しようとする課題】
【0005】
ところが、据え置き型のコンピュータとは異なり、携帯端末にはデータ保存容量が限られるという特有の課題があるものの、特許文献1では、データ保存容量が有限である点を踏まえつつ、データの保存状態を適切に制御する点については検討されていない。
【0006】
そこで、本開示は、データ保存容量が有限である点を踏まえつつ、データの保存状態を適切に制御することを目的とする。
【課題を解決するための手段】
【0007】
本開示に係る携帯端末は、自己の携帯端末の位置情報を取得する位置情報取得部と、取得された位置情報に基づいて、生成AIモデルに参照させる複数の参照データであって前記携帯端末に保存する当該複数の参照データのそれぞれの優先度を決定する決定部と、決定された前記優先度に基づいて、前記携帯端末における前記参照データの保存状態を制御する制御部と、を備える。
【発明の効果】
【0008】
本開示によれば、データ保存容量が有限である点を踏まえつつ、データの保存状態を適切に制御することができる。
【図面の簡単な説明】
【0009】
携帯端末の構成を示す機能ブロック構成図である。
携帯端末において実行される処理を示すフロー図である。
携帯端末の構成の変形例を示す図である。
携帯端末のハードウェア構成例を示す図である。
【発明を実施するための形態】
【0010】
以下、図面を参照しながら、本開示に係る携帯端末の一実施形態を説明する。以下の実施形態では、生成AIモデルの一例として、主にテキスト生成で用いられる大規模言語モデル(Large Language Models:LLM)を利用する形態を説明する。
(【0011】以降は省略されています)
特許ウォッチbot のツイートを見る
この特許をJ-PlatPat(特許庁公式サイト)で参照する
関連特許
株式会社NTTドコモ
端末
18日前
株式会社NTTドコモ
端末
18日前
株式会社NTTドコモ
端末
17日前
株式会社NTTドコモ
端末
17日前
株式会社NTTドコモ
端末
17日前
株式会社NTTドコモ
端末
18日前
株式会社NTTドコモ
端末
18日前
株式会社NTTドコモ
端末
17日前
株式会社NTTドコモ
端末
17日前
株式会社NTTドコモ
基地局
17日前
株式会社NTTドコモ
携帯端末
2日前
株式会社NTTドコモ
デバイス
18日前
株式会社NTTドコモ
デバイス
17日前
株式会社NTTドコモ
デバイス
17日前
株式会社NTTドコモ
デバイス
18日前
株式会社NTTドコモ
デバイス
17日前
株式会社NTTドコモ
デバイス
18日前
株式会社NTTドコモ
デバイス
18日前
株式会社NTTドコモ
推定装置
2日前
株式会社NTTドコモ
情報処理装置
2日前
株式会社NTTドコモ
リニアライザ
25日前
株式会社NTTドコモ
装置及び方法
15日前
株式会社NTTドコモ
情報処理装置
10日前
株式会社NTTドコモ
情報処理装置
24日前
株式会社NTTドコモ
情報処理装置
4日前
株式会社NTTドコモ
端末及び基地局
17日前
株式会社NTTドコモ
基地局及び端末
17日前
株式会社NTTドコモ
端末及び基地局
17日前
株式会社NTTドコモ
基地局及び端末
17日前
株式会社NTTドコモ
端末及び基地局
17日前
株式会社NTTドコモ
端末及び通信方法
17日前
株式会社NTTドコモ
端末及び通信方法
17日前
株式会社NTTドコモ
端末及び通信方法
18日前
株式会社NTTドコモ
端末及び通信方法
17日前
株式会社NTTドコモ
端末及び通信方法
17日前
株式会社NTTドコモ
端末及び通信方法
18日前
続きを見る
他の特許を見る