TOP
|
特許
|
意匠
|
商標
特許ウォッチ
Twitter
他の特許を見る
10個以上の画像は省略されています。
公開番号
2025157085
公報種別
公開特許公報(A)
公開日
2025-10-15
出願番号
2024195726
出願日
2024-11-08
発明の名称
端末及び基地局
出願人
株式会社NTTドコモ
代理人
弁理士法人ITOH
主分類
H04W
36/36 20090101AFI20251007BHJP(電気通信技術)
要約
【課題】LTMにおける端末及び基地局の動作を明確にし、適切なLTMの実行を可能とする。
【解決手段】端末は、基地局から、切り替えの候補となるセル又はビームのうち少なくとも一方を含む通知を受信する受信部と、所定の実行条件を満たすとき、セル又はビームのうち少なくとも一方の切り替えを行う制御部と、を備え、前記制御部は、前記通知の受信に基づき、前記所定の実行条件のモニタを開始する。
【選択図】図4
特許請求の範囲
【請求項1】
基地局から、切り替えの候補となるセル又はビームのうち少なくとも一方を含む通知を受信する受信部と、
所定の実行条件を満たすとき、セル又はビームのうち少なくとも一方の切り替えを行う制御部と、を備え、
前記制御部は、前記通知の受信に基づき、前記所定の実行条件のモニタを開始する、端末。
続きを表示(約 460 文字)
【請求項2】
セル又はビームのうち少なくとも一方の測定報告を、前記基地局に送信する送信部を備える、請求項1に記載の端末。
【請求項3】
前記受信部は、前記測定報告に含まれるセル又はビームから、前記切り替えの候補となるセル又はビームへの切り替えをすべきかどうかを示す情報を受信し、
前記制御部は前記情報に基づき、セル又はビームのうち少なくとも一方の切り替えを実行するかどうか判断する、請求項2に記載の端末。
【請求項4】
前記制御部は、所定のタイマの満了後、前記実行条件のモニタを開始し、
前記所定のタイマは、前記測定報告が送信されたとき、請求項2に記載の端末。
【請求項5】
セル又はビームのうち少なくとも一方の測定報告を、端末から受信する受信部と、
前記端末に対して、切り替えの候補となるセル又はビームのうち少なくとも一方を含む通知を送信する送信部と、を備え、
前記通知は、端末における所定の実行条件のモニタを開始させる、基地局。
発明の詳細な説明
【技術分野】
【0001】
本発明は、無線通信システムにおける端末及び基地局に関する。
続きを表示(約 2,000 文字)
【背景技術】
【0002】
3GPP(登録商標)(3rd Generation Partnership Project)Rel-19においてLTM(Lower layer (L1/L2)-Triggered Mobility)の更なる改善として、RACH based LTMに加えて、RACH-less LTMをサポートするConditional LTMが議論されている。。
【先行技術文献】
【非特許文献】
【0003】
3GPP TS 38.300 V18.2.0(2024-06)
3GPP TS 38.401 V18.2.0(2024-06)
【発明の概要】
【発明が解決しようとする課題】
【0004】
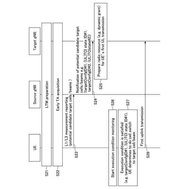
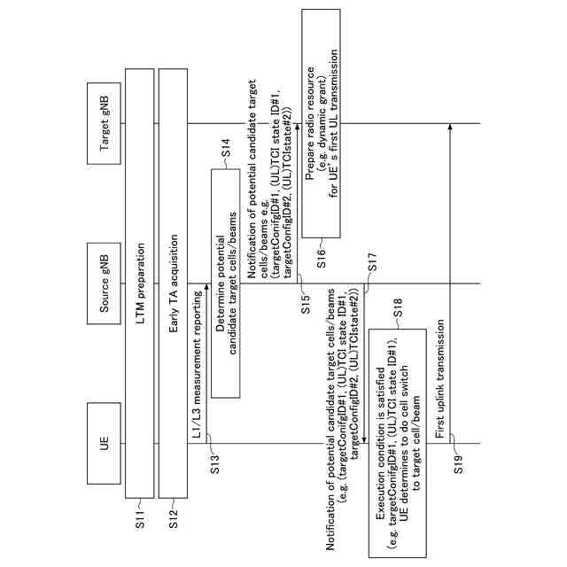
しかしながら、例えば、Conditional LTMにおいて、端末及び基地局の動作が明確ではなかった。一例として、Conditional LTMにおいて、端末がいつどのようexecution condition のモニタを開始すべきか明確に規定されていなかった。そのため、端末は適切にLTMを実行できないおそれがある。
【課題を解決するための手段】
【0005】
本実施形態における
端末は、基地局から、切り替えの候補となるセル又はビームのうち少なくとも一方を含む通知を受信する受信部と、所定の実行条件を満たすとき、セル又はビームのうち少なくとも一方の切り替えを行う制御部と、を備え、前記制御部は、前記通知の受信に基づき、前記所定の実行条件のモニタを開始する。
【発明の効果】
【0006】
本実施形態によれば、LTMにおける端末及び基地局の動作を明確にし、適切なLTMの実行を可能とする。
【図面の簡単な説明】
【0007】
本実施形態における無線通信システムを説明するための図である。
オプション1における無線通信システムの動作を示すシーケンス図である。
オプション2における無線通信システムの動作を示すシーケンス図である。
本実施形態における無線通信システムの動作の一例を示すシーケンス図である。
本実施形態における無線通信システムの動作の一例を示すシーケンス図である。
本実施形態における無線通信システムの動作の一例を示すシーケンス図である。
本実施形態における無線通信システムの動作の一例を示すシーケンス図である。
本実施形態におけるMAC CE又はPDCCH DCI のフィールドの一例を示す図である。
本実施形態における無線通信システムの動作の一例を示すシーケンス図である。
本実施形態における無線通信システムの動作の一例を示すシーケンス図である。
本実施形態における基地局の機能構成の一例を示す図である。
本実施形態における端末の機能構成の一例を示す図である。
本実施形態における基地局又は端末のハードウェア構成の一例を示す図である。
本実施形態における車両の構成の一例を示す図である。
【発明を実施するための形態】
【0008】
以下、図面を参照して本実施形態を説明する。なお、以下で説明する実施の形態は一例であり、本発明が適用される実施の形態は、以下の実施の形態に限られない。
【0009】
本実施形態の無線通信システムは、既存技術を用いて動作する。既存技術は、例えば、3GPP規格のような通信規格に基づく無線通信技術である。既存技術は、例えばNR(New Radio)であるが、既存のNRに限られない。本明細書で使用する用語「NR」は、特に断らない限り、NR(5G)以降の方式(例えば、6G)を含む広い意味を有するものとする。
【0010】
以下で説明する本実施形態では、既存のLTEで使用されているSS(Synchronization signal)、PSS(Primary SS)、SSS(Secondary SS)、PBCH(Physical broadcast channel)、PRACH(Physical random access channel)、PDCCH(Physical Downlink Control Channel)、PDSCH(Physical Downlink Shared Channel)、PUCCH(Physical Uplink Control Channel)、PUSCH(Physical Uplink Shared Channel)等の用語を使用する。これは記載の便宜上のためであり、これらと同様の信号、機能等が他の名称で呼ばれてもよい。NRにおける上述の用語は、LTEと特に区別なくSS、PSS、SSS、PBCH、PRACH等と呼称する。
(【0011】以降は省略されています)
この特許をJ-PlatPat(特許庁公式サイト)で参照する
関連特許
株式会社NTTドコモ
端末
6日前
株式会社NTTドコモ
端末
5日前
株式会社NTTドコモ
端末
6日前
株式会社NTTドコモ
端末
6日前
株式会社NTTドコモ
端末
5日前
株式会社NTTドコモ
端末
5日前
株式会社NTTドコモ
端末
5日前
株式会社NTTドコモ
端末
5日前
株式会社NTTドコモ
端末
6日前
株式会社NTTドコモ
基地局
5日前
株式会社NTTドコモ
デバイス
5日前
株式会社NTTドコモ
デバイス
6日前
株式会社NTTドコモ
デバイス
6日前
株式会社NTTドコモ
デバイス
5日前
株式会社NTTドコモ
デバイス
6日前
株式会社NTTドコモ
デバイス
6日前
株式会社NTTドコモ
デバイス
5日前
株式会社NTTドコモ
装置及び方法
3日前
株式会社NTTドコモ
情報処理装置
12日前
株式会社NTTドコモ
リニアライザ
13日前
株式会社NTTドコモ
基地局及び端末
5日前
株式会社NTTドコモ
端末及び基地局
5日前
株式会社NTTドコモ
基地局及び端末
5日前
株式会社NTTドコモ
端末及び基地局
5日前
株式会社NTTドコモ
端末及び基地局
5日前
株式会社NTTドコモ
端末及び通信方法
6日前
株式会社NTTドコモ
端末及び通信方法
6日前
株式会社NTTドコモ
端末及び通信方法
6日前
株式会社NTTドコモ
端末及び通信方法
6日前
株式会社NTTドコモ
端末及び通信方法
6日前
株式会社NTTドコモ
端末及び通信方法
6日前
株式会社NTTドコモ
端末及び通信方法
6日前
株式会社NTTドコモ
端末及び通信方法
6日前
株式会社NTTドコモ
端末及び通信方法
6日前
株式会社NTTドコモ
端末及び通信方法
6日前
株式会社NTTドコモ
端末及び通信方法
6日前
続きを見る
他の特許を見る