TOP
|
特許
|
意匠
|
商標
特許ウォッチ
Twitter
他の特許を見る
公開番号
2025164446
公報種別
公開特許公報(A)
公開日
2025-10-30
出願番号
2024068434
出願日
2024-04-19
発明の名称
情報処理装置
出願人
株式会社NTTドコモ
代理人
個人
,
個人
,
個人
,
個人
,
個人
主分類
G06F
16/33 20250101AFI20251023BHJP(計算;計数)
要約
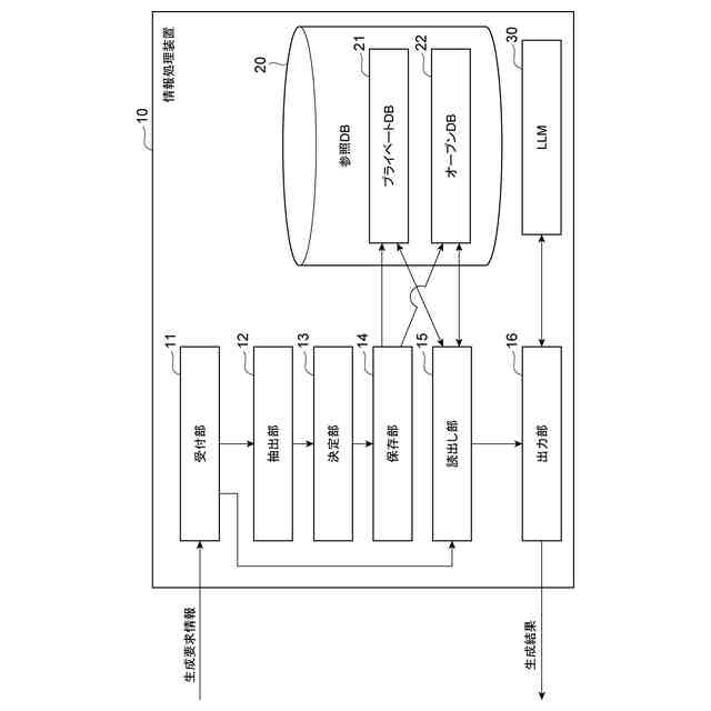
【課題】情報に要求される秘匿レベルに基づいて情報の保存先を適切に振り分ける。
【解決手段】情報処理装置10は、ユーザから入力された生成要求情報を受け付ける受付部11と、受け付けられた生成要求情報から、予め定められたキーワードを抽出する抽出部12と、保存されるデータの秘匿レベルに予め対応付けられた複数のデータベース21、22から、抽出されたキーワードに基づいて生成要求情報に関わるデータの1つ以上の保存先を決定する決定部13と、保存先として決定された1つ以上のデータベースに、当該データベースに対応付けられた秘匿レベルの生成要求情報に関わるデータを保存する保存部14と、を備える。
【選択図】図1
特許請求の範囲
【請求項1】
ユーザから入力された生成要求情報を受け付ける受付部と、
受け付けられた生成要求情報から、予め定められたキーワードを抽出する抽出部と、
保存されるデータの秘匿レベルに予め対応付けられた複数のデータベースから、抽出されたキーワードに基づいて前記生成要求情報に関わるデータの1つ以上の保存先を決定する決定部と、
保存先として決定された1つ以上のデータベースに、当該データベースに対応付けられた秘匿レベルの前記生成要求情報に関わるデータを保存する保存部と、
を備える情報処理装置。
続きを表示(約 480 文字)
【請求項2】
前記ユーザ以外の要求者から、保存された前記データに関する新たな生成要求情報が受け付けられた場合に、前記要求者と前記ユーザとの関係で前記要求者に公開可能とされる前記秘匿レベルに応じた前記データベースから、前記新たな生成要求情報に関わるデータを読み出す読出し部と、
読み出された前記新たな生成要求情報に関わるデータを当該生成要求情報とともに生成AIモデルへ出力し、前記生成AIモデルから取得される生成結果を前記要求者へ出力する出力部と、
をさらに備える請求項1に記載の情報処理装置。
【請求項3】
前記読出し部は、
前記要求者に関する情報に基づき定められる前記秘匿レベルに応じた前記データベースから、前記新たな生成要求情報に関わるデータを読み出す、
請求項2に記載の情報処理装置。
【請求項4】
前記保存部は、
決定された前記データベースに、当該データベースに対応付けられた秘匿レベルに応じて、情報の粒度を設定した前記データを保存する、
請求項1に記載の情報処理装置。
発明の詳細な説明
【技術分野】
【0001】
本開示は、情報処理装置に関する。
続きを表示(約 1,700 文字)
【背景技術】
【0002】
近年、生成AI(Generative Artificial Intelligence)モデルを利用して様々な種類のコンテンツを生成させることが行われている。生成AIモデルとは、様々な生成要求情報の入力に応じて、当該生成要求情報が示す指示、文脈、質問、及び出力形式に従って生成結果(コンテンツ)を生成し、その生成結果を返答情報として返すことができるモデルである。自然言語処理の技術分野で用いられる生成AIモデルとしては、大規模言語モデル(Large Language Models(以下「LLM」と称する))が知られている。実際に、LLMでは、事前学習に非常に多くの労力と時間を要し、また、完全に正確な回答をさせることは難しい。そこで、LLMに問い合わせする時に、回答する際に参照させる情報を一緒にLLMに提供することで、事前学習の労力と時間を削減しつつ、より正確に回答させることを目指すRetrieval Augmented Generationシステム(以下「RAGシステム」と称する)という技術が知られている。
【先行技術文献】
【特許文献】
【0003】
特開2017-085378号公報
【発明の概要】
【発明が解決しようとする課題】
【0004】
今後、LLMが広く利用されるようになると、異なる組織間、家族のメンバー間などでの情報のやり取りに、LLMを備えたソフトウェアエージェントが介在することが想定される。
【0005】
一方で、様々な情報には、異なる組織間、家族のメンバー間などで自由に公開してもよい情報もあれば、他の組織や他のメンバーには秘匿したい情報もある。そのため、RAGシステムにおける、LLMへの提供情報(即ち、LLMに参照させる情報)の保存先を、上記のような事情に応じて振り分ける必要がある。また、情報の保存先を振り分ける技術自体は、特許文献1に開示されているものの、情報に要求される秘匿レベルに基づいて情報の保存先を振り分ける点までは検討されていない。
【0006】
そこで、本開示は、情報に要求される秘匿レベルに基づいて情報の保存先を適切に振り分けることを目的とする。
【課題を解決するための手段】
【0007】
本開示に係る情報処理装置は、ユーザから入力された生成要求情報を受け付ける受付部と、受け付けられた生成要求情報から、予め定められたキーワードを抽出する抽出部と、保存されるデータの秘匿レベルに予め対応付けられた複数のデータベースから、抽出されたキーワードに基づいて前記生成要求情報に関わるデータの1つ以上の保存先を決定する決定部と、保存先として決定された1つ以上のデータベースに、当該データベースに対応付けられた秘匿レベルの前記生成要求情報に関わるデータを保存する保存部と、を備える。
【発明の効果】
【0008】
本開示によれば、情報に要求される秘匿レベルに基づいて情報の保存先を適切に振り分けることができる。
【図面の簡単な説明】
【0009】
情報処理装置の構成を示す機能ブロック構成図である。
情報処理装置において実行される記録フェーズの処理を示すフロー図である。
情報処理装置において実行される回答フェーズの処理を示すフロー図である。
情報処理装置の構成の変形例を示す図である。
情報処理装置のハードウェア構成例を示す図である。
【発明を実施するための形態】
【0010】
以下、図面を参照しながら、本開示に係る情報処理装置の一実施形態を説明する。以下の実施形態では、生成AIモデルの一例として、主にテキスト生成で用いられる大規模言語モデル(Large Language Models:LLM)を利用する形態を説明する。
(【0011】以降は省略されています)
この特許をJ-PlatPat(特許庁公式サイト)で参照する
関連特許
株式会社NTTドコモ
携帯端末
1か月前
株式会社NTTドコモ
推定装置
1か月前
株式会社NTTドコモ
情報処理装置
1か月前
株式会社NTTドコモ
移動通信端末
24日前
株式会社NTTドコモ
情報処理装置
1か月前
株式会社NTTドコモ
情報処理装置
1か月前
株式会社NTTドコモ
装置及び方法
1か月前
株式会社NTTドコモ
端末及び通信方法
1か月前
株式会社NTTドコモ
端末及び通信方法
1か月前
株式会社NTTドコモ
端末及び通信方法
1か月前
株式会社NTTドコモ
端末及び測位方法
3日前
株式会社NTTドコモ
端末及び通信方法
3日前
株式会社NTTドコモ
端末及び通信方法
1か月前
株式会社NTTドコモ
端末及び通信方法
1か月前
株式会社NTTドコモ
端末及び通信方法
1か月前
株式会社NTTドコモ
端末及び通信方法
1か月前
株式会社NTTドコモ
端末及び通信方法
1か月前
株式会社NTTドコモ
端末及び通信方法
11日前
株式会社NTTドコモ
端末及び通信方法
1か月前
株式会社NTTドコモ
端末及び通信方法
1か月前
株式会社NTTドコモ
端末及び通信方法
16日前
株式会社NTTドコモ
端末及び通信方法
13日前
株式会社NTTドコモ
端末及び通信方法
1か月前
株式会社NTTドコモ
端末及び通信方法
1か月前
株式会社NTTドコモ
端末及び通信方法
12日前
株式会社NTTドコモ
端末及び通信方法
13日前
株式会社NTTドコモ
情報処理装置及び方法
25日前
株式会社NTTドコモ
情報処理装置及び方法
25日前
株式会社NTTドコモ
管理装置及び管理方法
16日前
株式会社NTTドコモ
生成装置及び生成方法
4日前
株式会社NTTドコモ
管理装置及び管理方法
16日前
株式会社NTTドコモ
管理装置及び管理方法
16日前
株式会社NTTドコモ
情報処理装置及び方法
10日前
株式会社NTTドコモ
端末、基地局及び通信方法
1か月前
株式会社NTTドコモ
生成システム及び生成方法
23日前
株式会社NTTドコモ
端末、無線通信方法及び基地局
3日前
続きを見る
他の特許を見る