TOP
|
特許
|
意匠
|
商標
特許ウォッチ
Twitter
他の特許を見る
10個以上の画像は省略されています。
公開番号
2025157121
公報種別
公開特許公報(A)
公開日
2025-10-15
出願番号
2025011000
出願日
2025-01-24
発明の名称
端末
出願人
株式会社NTTドコモ
代理人
弁理士法人ITOH
主分類
H04W
52/02 20090101AFI20251007BHJP(電気通信技術)
要約
【課題】端末及びネットワークに対するウェイクアップ遅延の影響を抑えることができる。
【解決手段】端末は、当該端末が有するウェイクアップ遅延の能力に関する候補値に基づくウェイクアップ遅延能力を報告する送信部と、前記ウェイクアップ遅延能力に基づき設定されたI-DRX(Idle Discontinuous Reception)サイクルを想定する制御部と、を備える。
【選択図】図5
特許請求の範囲
【請求項1】
当該端末が有するウェイクアップ遅延の能力に関する候補値に基づくウェイクアップ遅延能力を報告する送信部と、
前記ウェイクアップ遅延能力に基づき設定されたI-DRX(Idle Discontinuous Reception)サイクルを想定する制御部と、を備える端末。
続きを表示(約 600 文字)
【請求項2】
前記ウェイクアップ遅延能力に基づき設定されたI-DRXサイクルの長さは、前記ウェイクアップ遅延能力以上である、請求項1に記載の端末。
【請求項3】
前記制御部は、前記I-DRXサイクルが前記ウェイクアップ遅延以上になるようにSSB周期が設定されると想定する、請求項1に記載の端末。
【請求項4】
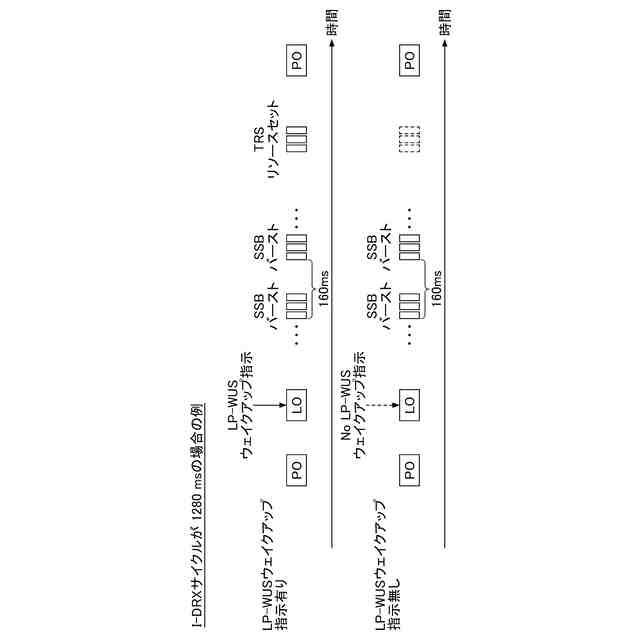
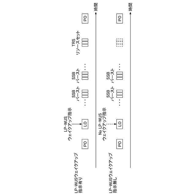
ウェイクアップ指示を含むLP-WUS(Low Power Wake-Up Signal)を受信する受信部を備え、
前記制御部は、前記ウェイクアップ指示の受信に基づき、TRS(Tracking Reference Signal)リソースセットが提供されると想定する、請求項1に記載の端末。
【請求項5】
前記制御部は、前記ウェイクアップ遅延能力より短いI-DRXサイクルが設定されている場合、前記I-DRXサイクルごとに1つのページング機会をモニタリングする、請求項1に記載の端末。
【請求項6】
ウェイクアップ指示を含むLP-WUSを受信する受信部を備え、
前記制御部は、前記ウェイクアップ遅延能力より短いI-DRXサイクルが設定されている場合、前記ウェイクアップ指示の受信後かつ前記報告されたウェイクアップ遅延能力に対応する時間の経過後の最初のページング機会をモニタリングする、請求項1に記載の端末。
発明の詳細な説明
【技術分野】
【0001】
本発明は、無線通信システムにおける端末に関する。
続きを表示(約 1,900 文字)
【背景技術】
【0002】
3GPP(登録商標)(3rd Generation Partnership Project)において低消費電力通信を実現するために、LP-WUS (Low Power Wake-Up Signal)を利用した省電力化の方法が検討されている。LP-WUSは、UE (User Equipment)がアイドル状態または非アクティブ状態において効率的にページングチャネルを監視することを可能にする信号であり、LP-WUSに関するウェイクアップ遅延が議論されている。
【先行技術文献】
【非特許文献】
【0003】
3GPP TS 38.300 V18.4.0(2024-12)
3GPP TS 38.401 V18.4.0(2024-12)
【発明の概要】
【発明が解決しようとする課題】
【0004】
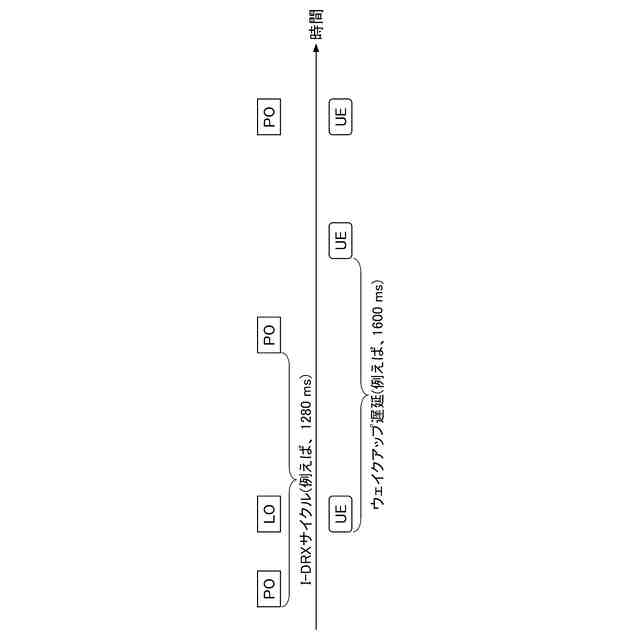
ウェイクアップ遅延がI-DRX(Idle Discontinuous Reception)サイクルよりも長い場合、ページング遅延が増加し、さらにはページングメッセージの再送が必要となることで、ネットワークの複雑性が増加するおそれがある。
【課題を解決するための手段】
【0005】
本実施形態における端末は、当該端末が有するウェイクアップ遅延の能力に関する候補値に基づくウェイクアップ遅延能力を報告する送信部と、前記ウェイクアップ遅延能力に基づき設定されたI-DRX(Idle Discontinuous Reception)サイクルを想定する制御部と、を備える。
【発明の効果】
【0006】
本実施形態によれば、端末及びネットワークに対するウェイクアップ遅延の影響を抑えることができる。
【図面の簡単な説明】
【0007】
本実施形態における無線通信システムを説明するための図である。
UEの状態に応じたウェイクアップ遅延値を示す図である。
ウェイクアップ遅延とI-DRXサイクルとの関係を説明するための図である。
ウェイクアップ遅延とPOとLOとのタイムオフセットとの関係を考慮したUEの動作を説明するための図である。
実施例1における端末及び基地局の動作の一例を示す図である。
実施例2における端末の動作の一例を示す図である。
実施例2-2-1における端末の動作の一例を示す図である。
実施例3における端末の動作の一例を示す図である。
実施例4における端末の動作の一例を示す図である。
変形例における端末の動作の一例を示す図である。
本実施形態における基地局の機能構成の一例を示す図である。
本実施形態における端末の機能構成の一例を示す図である。
本実施形態における基地局又は端末のハードウェア構成の一例を示す図である。
本実施形態における車両の構成の一例を示す図である。
【発明を実施するための形態】
【0008】
以下、図面を参照して本実施形態を説明する。なお、以下で説明する実施の形態は一例であり、本発明が適用される実施の形態は、以下の実施の形態に限られない。
【0009】
本実施形態の無線通信システムは、既存技術を用いて動作する。既存技術は、例えば、3GPP規格のような通信規格に基づく無線通信技術である。既存技術は、例えばNR(New Radio)であるが、既存のNRに限られない。本明細書で使用する用語「NR」は、特に断らない限り、NR(5G)以降の方式(例えば、6G)を含む広い意味を有するものとする。
【0010】
以下で説明する本実施形態では、既存の通信規格で使用されているSS(Synchronization signal)、PSS(Primary SS)、SSS(Secondary SS)、PBCH(Physical broadcast channel)、PRACH(Physical random access channel)、PDCCH(Physical Downlink Control Channel)、PDSCH(Physical Downlink Shared Channel)、PUCCH(Physical Uplink Control Channel)、PUSCH(Physical Uplink Shared Channel)等の用語を使用する。これは記載の便宜上のためであり、これらと同様の信号、機能等が他の名称で呼ばれてもよい。
(【0011】以降は省略されています)
この特許をJ-PlatPat(特許庁公式サイト)で参照する
関連特許
株式会社NTTドコモ
携帯端末
8日前
株式会社NTTドコモ
推定装置
8日前
株式会社NTTドコモ
移動通信端末
1日前
株式会社NTTドコモ
情報処理装置
10日前
株式会社NTTドコモ
情報処理装置
8日前
株式会社NTTドコモ
端末及び通信方法
16日前
株式会社NTTドコモ
端末及び通信方法
14日前
株式会社NTTドコモ
端末及び通信方法
14日前
株式会社NTTドコモ
情報処理装置及び方法
2日前
株式会社NTTドコモ
情報処理装置及び方法
2日前
株式会社NTTドコモ
端末、基地局及び通信方法
14日前
株式会社NTTドコモ
生成システム及び生成方法
今日
株式会社NTTドコモ
情報処理装置及び情報処理方法
14日前
株式会社NTTドコモ
基地局、ネットワークノード及び端末
14日前
株式会社NTTドコモ
最適化支援装置および最適化支援方法
8日前
株式会社NTTドコモ
端末装置、プログラム、及び情報処理方法
15日前
株式会社NTTドコモ
端末及び通信方法
2日前
株式会社NTTドコモ
端末及び通信方法
2日前
株式会社NTTドコモ
通信制御方法、端末、通信制御装置、通信制御システム、通信制御プログラム
今日
株式会社NTTドコモ
端末、通信システム及び通信方法
2日前
株式会社NTTドコモ
無線通信ノード、および、無線通信方法
10日前
株式会社NTTドコモ
端末、基地局、通信システム及び通信方法
2日前
株式会社NTTドコモ
端末、無線通信方法、基地局及びシステム
2日前
株式会社NTTドコモ
端末装置、プログラム、及び情報処理方法
15日前
株式会社NTTドコモ
端末装置、プログラム、及び情報処理方法
15日前
株式会社NTTドコモ
端末、無線通信方法、基地局およびシステム
16日前
株式会社NTTドコモ
端末、基地局、無線通信システム及び無線通信方法
2日前
個人
イヤーピース
今日
個人
イヤーマフ
14日前
個人
監視カメラシステム
23日前
キーコム株式会社
光伝送線路
24日前
個人
スイッチシステム
8日前
サクサ株式会社
中継装置
29日前
個人
スキャン式車載用撮像装置
23日前
サクサ株式会社
中継装置
1か月前
WHISMR合同会社
収音装置
1か月前
続きを見る
他の特許を見る