TOP
|
特許
|
意匠
|
商標
特許ウォッチ
Twitter
他の特許を見る
10個以上の画像は省略されています。
公開番号
2025155728
公報種別
公開特許公報(A)
公開日
2025-10-14
出願番号
2024201933
出願日
2024-11-19
発明の名称
端末及び通信方法
出願人
株式会社NTTドコモ
代理人
弁理士法人ITOH
主分類
H04W
52/02 20090101AFI20251006BHJP(電気通信技術)
要約
【課題】無線通信システムにおいてLP-WUSとSSSGスイッチングとが共存した場合の端末の動作を明確にし、適切にLP-WUS及びSSSGスイッチングに関する動作を実行できる。
【解決手段】端末は、低電力用ウェイクアップ信号を基地局から受信する受信部と、当該端末に前記低電力用ウェイクアップ信号に関する情報を設定する制御部と、を備え、当該端末にSSSGスイッチングが設定され、かつPDCCHモニタリングのためのタイマーが動作しているとき、前記制御部は、前記低電力用ウェイクアップ信号のSCS又は前記低電力用ウェイクアップ信号に関連付けられたサービングセルの特定のBWPのSCSに基づいて、前記PDCCHモニタリングのために参照するSCSを決定する。
【選択図】図3
特許請求の範囲
【請求項1】
低電力用ウェイクアップ信号を基地局から受信する受信部と、
当該端末に前記低電力用ウェイクアップ信号に関する情報を設定する制御部と、を備え、
当該端末にSSSG (Search Space Set Group)スイッチングが設定され、かつPDCCH (Physical Downlink Control Channel)モニタリングのためのタイマーが動作しているとき、前記制御部は、前記低電力用ウェイクアップ信号のSCS (Subcarrier Spacing)又は前記低電力用ウェイクアップ信号に関連付けられたサービングセルの特定のBWP (Bandwidth Part)のSCSに基づいて、前記PDCCHモニタリングのために参照するSCSを決定する、端末。
続きを表示(約 1,100 文字)
【請求項2】
前記制御部は、前記タイマーのデクリメントを、サービングセルのアクティブなダウンリンクBWPのスロット後、前記参照されるSCS上のスロット後、前記低電力用ウェイクアップ信号のモニタリング中又は前記PDCCHモニタリングのためのLP-WUSトリガ後に行い、
前記制御部は、前記PDCCHモニタリングを停止したとき、前記タイマーのデクリメントを中断する、請求項1に記載の端末。
【請求項3】
前記制御部は、前記低電力用ウェイクアップ信号のTCI (Transmission Configuration Indication)が前記SSSGのCORESET (Control Resource Set)に関連付けられていると、前記SSSGスイッチングの実行に基づき、前記低電力用ウェイクアップ信号のTCIを切り替える請求項1に記載の端末。
【請求項4】
前記SSSGスイッチングの指示又はサーチスペーススイッチタイマーの期限切れに基づき前記SSSGスイッチングが実行されるとき、前記制御部は、前記切り替えられた低電力用ウェイクアップ信号のTCIを、前記SSSGスイッチングの指示を提供するPDCCH受信の最後のシンボル後又は前記サーチスペーススイッチタイマーによるタイマーが期限切れになったスロット後の所定のシンボル数経過後に適用する、請求項3に記載の端末。
【請求項5】
当該端末にC-DRX (Connected Discontinuous Reception)が設定されているとき、前記制御部は、前記低電力用ウェイクアップ信号を受信するセルに対して前記SSSGスイッチングを設定しない、請求項1に記載の端末。
【請求項6】
端末により実行される通信方法であって、
低電力用ウェイクアップ信号を基地局から受信するステップと、
当該端末に前記低電力用ウェイクアップ信号に関する情報を設定するステップと、
当該端末にSSSG (Search Space Set Group)スイッチングが設定され、かつPDCCH (Physical Downlink Control Channel)モニタリングのためのタイマーが動作しているとき、前記低電力用ウェイクアップ信号のSCS (Subcarrier Spacing)又は前記低電力用ウェイクアップ信号に関連付けられたサービングセルの特定のBWP (Bandwidth Part)のSCSに基づいて、前記PDCCHモニタリングのために参照するSCSを決定するステップと、を備える通信方法。
発明の詳細な説明
【技術分野】
【0001】
本発明は、無線通信システムにおける端末及び通信方法に関する。
続きを表示(約 1,700 文字)
【背景技術】
【0002】
NR (New Radio)/第5世代移動通信システム(5G)では、更なる無線リソースの利用効率向上と端末の省電力化を実現するための技術が検討が検討されている(例えば、非特許文献1及び非特許文献2)。
【0003】
省電力化技術として、3GPP(登録商標)(3rd Generation Partnership Project) Release 17 (Rel-17)で導入されたLP-WUS (低電力ウェイクアップ信号)は、端末がスリープ状態でも基地局からのウェイクアップ信号を監視することで、アイドル状態での消費電力を抑制する。
【0004】
一方、SSSG (Search Space Set Group) スイッチングは、端末がモニタするPDCCH (Physical Downlink Control Channel) のサーチスペースを動的に切り替えることで、制御チャネルの受信性能を向上させる技術である。
【先行技術文献】
【非特許文献】
【0005】
3GPP TS 38.300 V18.3.0(2024-09)
3GPP TS 38.401 V18.3.0(2024-09)
【発明の概要】
【発明が解決しようとする課題】
【0006】
しかしながら、LP-WUSとSSSGスイッチングとを組み合わせた場合の動作は、従来の規格では明確に規定されていなかった。例えば、LP-WUSとSSSGスイッチングとの設定に関する制限、両者の動作及び端末の挙動及びSSSGスイッチングを考慮したLP-WUSモニタリングの動作が不明確であった。そのため、端末は、LP-WUSとSSSGスイッチングとを動作を適切に実行できないおそれがある。
【課題を解決するための手段】
【0007】
本実施形態における端末は、低電力用ウェイクアップ信号を基地局から受信する受信部と、当該端末に前記低電力用ウェイクアップ信号に関する情報を設定する制御部と、を備え、当該端末にSSSGスイッチングが設定され、かつPDCCHモニタリングのためのタイマーが動作しているとき、前記制御部は、前記低電力用ウェイクアップ信号のSCS又は前記低電力用ウェイクアップ信号に関連付けられたサービングセルの特定のBWPのSCSに基づいて、前記PDCCHモニタリングのために参照するSCSを決定する。
【発明の効果】
【0008】
本実施形態によれば、無線通信システムにおいてLP-WUSとSSSGスイッチングとが共存した場合の端末の動作を明確にし、適切にLP-WUS及びSSSGスイッチングに関する動作を実行できる。
【図面の簡単な説明】
【0009】
本実施形態における無線通信システムを説明するための図である。
従来のSSSGスイッチングの動作を示す図である。
本実施形態における、SSSGスイッチングが設定された端末におけるPDCCHモニタリングのためのタイマーの動作の一例を示す図である。
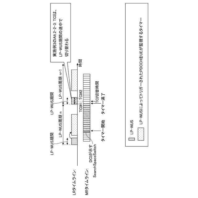
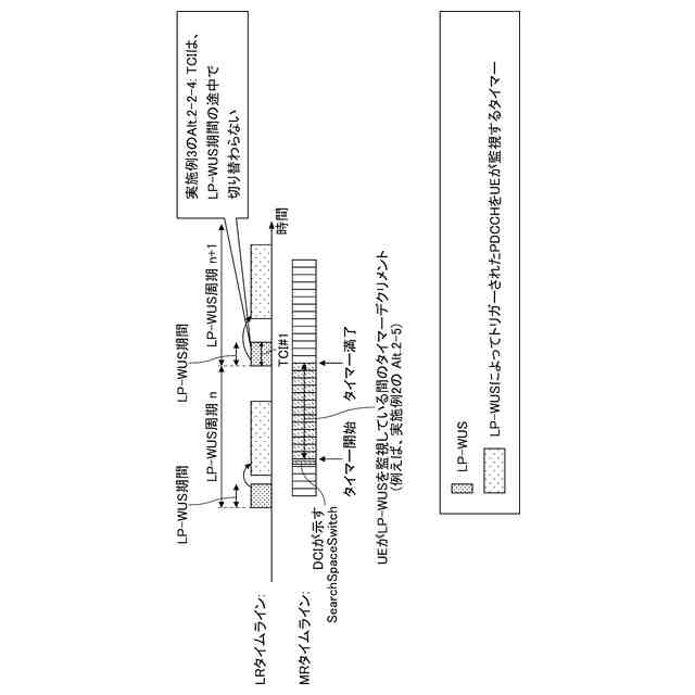
本実施形態におけるSSSGスイッチングに基づくLP-WUSのTCIの切り替えの動作の一例を示す図である。
本実施形態におけるSSSGスイッチングに基づくLP-WUSのTCIの切り替えの動作の一例を示す図である。
本実施形態における基地局の機能構成の一例を示す図である。
本実施形態における端末の機能構成の一例を示す図である。
本実施形態における基地局又は端末のハードウェア構成の一例を示す図である。
本実施形態における車両の構成の一例を示す図である。
【発明を実施するための形態】
【0010】
以下、図面を参照して本実施形態を説明する。なお、以下で説明する実施の形態は一例であり、本発明が適用される実施の形態は、以下の実施の形態に限られない。
(【0011】以降は省略されています)
この特許をJ-PlatPat(特許庁公式サイト)で参照する
関連特許
個人
監視カメラシステム
今日
個人
店内配信予約システム
3か月前
キーコム株式会社
光伝送線路
1日前
WHISMR合同会社
収音装置
1か月前
サクサ株式会社
中継装置
6日前
個人
スキャン式車載用撮像装置
今日
サクサ株式会社
中継装置
3か月前
サクサ株式会社
中継装置
7日前
アイホン株式会社
電気機器
28日前
キヤノン株式会社
電子機器
3か月前
キヤノン株式会社
撮像装置
1か月前
サクサ株式会社
無線通信装置
6日前
キヤノン電子株式会社
画像読取装置
1か月前
個人
ワイヤレスイヤホン対応耳掛け
26日前
サクサ株式会社
無線システム
5日前
サクサ株式会社
無線通信装置
6日前
キヤノン電子株式会社
モバイル装置
3か月前
株式会社リコー
画像形成装置
1か月前
株式会社リコー
画像形成装置
2か月前
日本精機株式会社
画像投映システム
3か月前
株式会社リコー
画像形成装置
1か月前
株式会社ニコン
撮像装置
2か月前
キヤノン株式会社
撮像システム
28日前
日本電気株式会社
海底分岐装置
1日前
個人
発信機及び発信方法
5日前
ブラザー工業株式会社
読取装置
2か月前
株式会社小糸製作所
画像照射装置
1か月前
株式会社NTTドコモ
端末
今日
株式会社NTTドコモ
端末
今日
株式会社NTTドコモ
端末
1日前
国立大学法人電気通信大学
小型光学装置
1か月前
DXO株式会社
情報処理システム
2か月前
パテントフレア株式会社
水中電波通信法
2か月前
株式会社松平商会
携帯機器カバー
1か月前
パテントフレア株式会社
超高速電波通信
1か月前
沖電気工業株式会社
画像形成装置
8日前
続きを見る
他の特許を見る