TOP
|
特許
|
意匠
|
商標
特許ウォッチ
Twitter
他の特許を見る
公開番号
2025166271
公報種別
公開特許公報(A)
公開日
2025-11-06
出願番号
2022148956
出願日
2022-09-20
発明の名称
移動通信端末
出願人
株式会社NTTドコモ
代理人
個人
,
個人
,
個人
,
個人
主分類
H04L
9/08 20060101AFI20251029BHJP(電気通信技術)
要約
【課題】 秘密鍵のような暗号資産の利用に用いられると共に秘匿されるべき秘匿情報を安全に保持する。
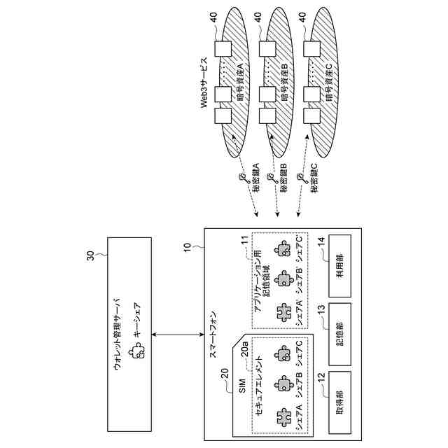
【解決手段】 スマートフォン10は、暗号資産の利用に用いられると共に、移動体通信に用いられる加入者情報を記憶する加入者認証モジュールであるSIM20を備えることが可能な移動通信端末であって、暗号資産の利用に用いられると共に秘匿されるべき秘匿情報が分割された複数の分割後情報を取得する取得部12と、取得された分割後情報の何れかをSIM20に、分割後情報の何れかをSIM20以外の自端末の記憶領域11にそれぞれ記憶させる記憶部13と、異なる記憶領域に記憶された複数の分割後情報から秘匿情報を生成して暗号資産の利用に用いる利用部14とを備える。
【選択図】 図1
特許請求の範囲
【請求項1】
暗号資産の利用に用いられると共に、移動体通信に用いられる加入者情報を記憶する加入者認証モジュールを備えることが可能な移動通信端末であって、
暗号資産の利用に用いられると共に秘匿されるべき秘匿情報が分割された複数の分割後情報を取得する取得部と、
前記取得部によって取得された分割後情報の何れかを前記加入者認証モジュールに、分割後情報の何れかを前記加入者認証モジュール以外の自端末の記憶領域にそれぞれ記憶させる記憶部と、
前記記憶部によって異なる記憶領域に記憶された複数の分割後情報から秘匿情報を生成して暗号資産の利用に用いる利用部と、
を備える移動通信端末。
続きを表示(約 220 文字)
【請求項2】
前記記憶部は、分割後情報の何れかを、前記加入者認証モジュールによる移動体通信に係る移動体通信網上の装置に記憶させる請求項1に記載の移動通信端末。
【請求項3】
前記利用部は、生成した秘匿情報を暗号資産の利用に用いた後、破棄する請求項1に記載の移動通信端末。
【請求項4】
前記取得部は、秘匿情報を取得して、取得した秘匿情報を複数の分割後情報に分割することで取得する請求項1に記載の移動通信端末。
発明の詳細な説明
【技術分野】
【0001】
本発明は、暗号資産の利用に用いられる移動通信端末に関する。
続きを表示(約 1,300 文字)
【背景技術】
【0002】
従来、暗号資産(仮想通貨)の利用に用いられる秘密鍵を移動通信端末に記憶させることが提案されている(例えば、特許文献1参照)。
【先行技術文献】
【特許文献】
【0003】
特開2020-35106号公報
【発明の概要】
【発明が解決しようとする課題】
【0004】
秘密鍵が漏洩すると暗号資産が他者に不正に引き出されてしまうおそれがある。上記のように秘密鍵を単に移動通信端末に記憶させておくだけでは、必ずしも秘密鍵を安全に保持しているとは言えない。
【0005】
本発明は、上記に鑑みてなされたものであり、秘密鍵のような暗号資産の利用に用いられると共に秘匿されるべき秘匿情報を安全に保持することができる移動通信端末を提供することを目的とする。
【課題を解決するための手段】
【0006】
上記の目的を達成するために、本発明に係る移動通信端末は、暗号資産の利用に用いられると共に、移動体通信に用いられる加入者情報を記憶する加入者認証モジュールを備えることが可能な移動通信端末であって、暗号資産の利用に用いられると共に秘匿されるべき秘匿情報が分割された複数の分割後情報を取得する取得部と、取得部によって取得された分割後情報の何れかを加入者認証モジュールに、分割後情報の何れかを加入者認証モジュール以外の自端末の記憶領域にそれぞれ記憶させる記憶部と、記憶部によって異なる記憶領域に記憶された複数の分割後情報から秘匿情報を生成して暗号資産の利用に用いる利用部と、を備える。
【0007】
本発明に係る移動通信端末によれば、複数の独立した記憶領域に分割後情報を記憶させることができる。その結果、秘匿情報を安全に保持することができる。
【発明の効果】
【0008】
本発明によれば、秘密鍵のような暗号資産の利用に用いられると共に秘匿されるべき秘匿情報を安全に保持することができる。
【図面の簡単な説明】
【0009】
本発明の実施形態に係る移動通信端末であるスマートフォンの構成、及びスマートフォンを含むシステムの構成を示す図である。
秘密鍵及び複数のシェアの例を示すグラフである。
本発明の実施形態に係る移動通信端末であるスマートフォンで、シェアが記憶領域に記憶される際に実行される処理を示すフローチャートである。
本発明の実施形態に係る移動通信端末であるスマートフォンで、秘密鍵が利用される際に実行される処理を示すフローチャートである。
本発明の実施形態に係る移動通信端末であるスマートフォンのハードウェア構成を示す図である。
【発明を実施するための形態】
【0010】
以下、図面と共に本発明に係る移動通信端末の実施形態について詳細に説明する。なお、図面の説明においては同一要素には同一符号を付し、重複する説明を省略する。
(【0011】以降は省略されています)
この特許をJ-PlatPat(特許庁公式サイト)で参照する
関連特許
株式会社NTTドコモ
移動通信端末
24日前
株式会社NTTドコモ
端末及び通信方法
13日前
株式会社NTTドコモ
端末及び測位方法
3日前
株式会社NTTドコモ
端末及び通信方法
3日前
株式会社NTTドコモ
端末及び通信方法
11日前
株式会社NTTドコモ
端末及び通信方法
12日前
株式会社NTTドコモ
端末及び通信方法
16日前
株式会社NTTドコモ
端末及び通信方法
13日前
株式会社NTTドコモ
情報処理装置及び方法
25日前
株式会社NTTドコモ
情報処理装置及び方法
25日前
株式会社NTTドコモ
管理装置及び管理方法
16日前
株式会社NTTドコモ
管理装置及び管理方法
16日前
株式会社NTTドコモ
管理装置及び管理方法
16日前
株式会社NTTドコモ
情報処理装置及び方法
10日前
株式会社NTTドコモ
生成装置及び生成方法
4日前
株式会社NTTドコモ
生成システム及び生成方法
23日前
株式会社NTTドコモ
測位支援装置及び測位支援方法
18日前
株式会社NTTドコモ
端末、無線通信方法及び基地局
3日前
株式会社NTTドコモ
人物同定装置、及び人物同定方法
2日前
株式会社NTTドコモ
電力監視装置、及び、電力監視方法
18日前
株式会社NTTドコモ
情報処理装置及びナビゲーション方法
2日前
株式会社NTTドコモ
端末
12日前
株式会社NTTドコモ
太陽電池の配置支援装置及び太陽電池の配置支援方法
16日前
株式会社NTTドコモ
端末
18日前
株式会社NTTドコモ
端末及び通信方法
25日前
株式会社NTTドコモ
端末及び通信方法
25日前
株式会社NTTドコモ
端末及び通信方法
2日前
株式会社NTTドコモ
通信制御方法、端末、通信制御装置、通信制御システム、通信制御プログラム
23日前
株式会社NTTドコモ
端末、通信システム及び通信方法
25日前
株式会社NTTドコモ
端末、無線通信システム及び無線通信方法
18日前
株式会社NTTドコモ
端末、無線通信システム及び無線通信方法
12日前
株式会社NTTドコモ
端末、無線通信方法、基地局及びシステム
25日前
株式会社NTTドコモ
端末、基地局、通信システム及び通信方法
25日前
株式会社NTTドコモ
端末、基地局、無線通信システム及び無線通信方法
25日前
個人
イヤーピース
23日前
個人
イヤーマフ
1か月前
続きを見る
他の特許を見る