TOP
|
特許
|
意匠
|
商標
特許ウォッチ
Twitter
他の特許を見る
10個以上の画像は省略されています。
公開番号
2025169380
公報種別
公開特許公報(A)
公開日
2025-11-12
出願番号
2025136405,2023528921
出願日
2025-08-19,2021-06-18
発明の名称
端末
出願人
株式会社NTTドコモ
代理人
個人
,
個人
,
個人
主分類
H04W
36/24 20090101AFI20251105BHJP(電気通信技術)
要約
【課題】無人航空機(UAV)に搭載される端末(UE)のコンディショナル再設定に関する処理を適切に実行する端末を提供する。
【解決手段】それぞれセルC1~セルC4を有する無線基地局100A~100Dを含む無線通信システム10において、UE200は、コンディショナル再設定において、2以上の候補セルの中から対象セルを選択する制御部と、コンディショナル再設定において、対象セルに接続するためのメッセージを送信する送信部と、を備え、制御部は、2以上の候補セルのそれぞれのビームの数に関する条件に基づいて対象セルを選択する。ビームの数に関する条件は、特定品質を満たすビームの数が最大である条件及び特定品質を満たすビームの数が特定数を超える条件の少なくともいずれか1つが含まれる。
【選択図】図1
特許請求の範囲
【請求項1】
コンディショナル再設定において、2以上の候補セルの中から対象セルを選択する制御部と、
前記コンディショナル再設定において、前記対象セルに接続するためのメッセージを送信する送信部と、を備え、
前記制御部は、前記2以上の候補セルのそれぞれのビームの数に関する条件に基づいて前記対象セルを選択する、
端末。
続きを表示(約 110 文字)
【請求項2】
前記ビームの数に関する条件は、特定品質を満たすビームの数が最大である条件及び前記特定品質を満たすビームの数が特定数を超える条件の少なくともいずれか1つを含む、
請求項1に記載の端末。
発明の詳細な説明
【技術分野】
【0001】
本開示は、無人航空機などに搭載される端末のコンディショナル再設定に関する処理を実行する基地局及び端末に関する。
続きを表示(約 1,400 文字)
【背景技術】
【0002】
3rd Generation Partnership Project(3GPP)は、5th generation mobile communication system(5G、New Radio(NR)またはNext Generation(NG)とも呼ばれる)を仕様化し、さらに、Beyond 5G、5G Evolution或いは6Gと呼ばれる次世代の仕様化も進めている。
【0003】
3GPP Release 15では、UEと同様の無線通信モジュールを搭載したドローンなど、小型の無人航空機(UAV; Unmanned Aerial Vehicles)を用いたサービス及びユースケースについて検討している(非特許文献1参照)。
【0004】
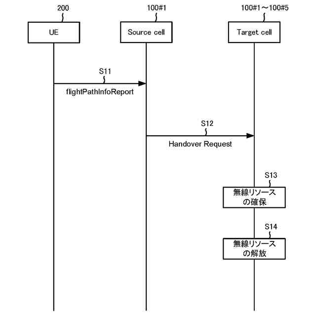
3GPP Release 16では、ターゲットセルに対する再確立要求メッセージを送信することなく、ターゲットセルへの接続を実行するコンディショナル再設定が導入された。コンディショナル再設定は、Conditional Handover(CHO)を含んでもよく、Conditional PSCell(Primary Secondary Cell) Change(CPC)、Conditional PSCell Additionを含んでもよい。UEは、コンディショナル再設定において、実行条件(CHO execution condition)を満たすセルに自律的に接続する。
【先行技術文献】
【非特許文献】
【0005】
3GPP TR 36.777 V15.0.0, 3rd Generation Partnership Project; Technical Specification Group Radio Access Network; Study on Enhanced LTE Support for Aerial Vehicles (Release 15)、3GPP、2017年12月
【発明の概要】
【0006】
無人航空機(UAV)に搭載されるUEは、通常のUEと異なり、基地局の上空を飛行するため、ビルなどの遮蔽物の影響を受け難く、伝播環境の見通しが良好である。
【0007】
このような背景下において、発明者等は、鋭意検討の結果、コンディショナル再設定においてターゲットセルの無線リソースを確保する必要があるため、ターゲットセルの無線リソースを有効に利用することができない可能性を見出した。また、発明者等は、鋭意検討の結果、伝播環境の見通しが良好であるため、2以上の候補セルが実行条件を満たすことが想定され、適切なセルに対する接続が実現されない可能性を見出した。
【0008】
このように、発明者等は、UAVに搭載されるUEのコンディショナル再設定において様々な改善の余地があることを見出した。
【0009】
そこで、本開示は、このような状況に鑑みてなされたものであり、UAVに搭載されるUEのコンディショナル再設定に関する処理を適切に実行し得る基地局及び端末を提供することを目的とする。
【0010】
開示の一態様は、端末の飛行経路に基づいて、前記端末のコンディショナル再設定に関するメッセージを近隣セルに送信する送信部を備える、基地局である。
(【0011】以降は省略されています)
特許ウォッチbot のツイートを見る
この特許をJ-PlatPat(特許庁公式サイト)で参照する
関連特許
株式会社NTTドコモ
端末
1か月前
株式会社NTTドコモ
携帯端末
1か月前
株式会社NTTドコモ
推定装置
1か月前
株式会社NTTドコモ
情報処理装置
1か月前
株式会社NTTドコモ
移動通信端末
1か月前
株式会社NTTドコモ
装置及び方法
1か月前
株式会社NTTドコモ
情報処理装置
1か月前
株式会社NTTドコモ
情報処理装置
1か月前
株式会社NTTドコモ
端末及び基地局
1か月前
株式会社NTTドコモ
端末及び通信方法
1か月前
株式会社NTTドコモ
端末及び通信方法
1か月前
株式会社NTTドコモ
端末及び通信方法
1か月前
株式会社NTTドコモ
端末及び通信方法
1か月前
株式会社NTTドコモ
端末及び通信方法
1か月前
株式会社NTTドコモ
端末及び通信方法
1か月前
株式会社NTTドコモ
端末及び通信方法
1か月前
株式会社NTTドコモ
端末及び通信方法
1か月前
株式会社NTTドコモ
端末及び通信方法
1か月前
株式会社NTTドコモ
端末及び通信方法
1か月前
株式会社NTTドコモ
端末及び通信方法
1か月前
株式会社NTTドコモ
端末及び通信方法
1か月前
株式会社NTTドコモ
端末及び通信方法
1か月前
株式会社NTTドコモ
端末及び通信方法
1か月前
株式会社NTTドコモ
端末及び通信方法
1か月前
株式会社NTTドコモ
端末及び通信方法
1か月前
株式会社NTTドコモ
端末及び通信方法
1か月前
株式会社NTTドコモ
端末及び通信方法
1か月前
株式会社NTTドコモ
端末及び通信方法
1か月前
株式会社NTTドコモ
端末及び通信方法
1か月前
株式会社NTTドコモ
端末及び通信方法
1か月前
株式会社NTTドコモ
端末及び通信方法
1か月前
株式会社NTTドコモ
端末及び通信方法
21日前
株式会社NTTドコモ
端末及び通信方法
1か月前
株式会社NTTドコモ
端末及び測位方法
11日前
株式会社NTTドコモ
端末及び通信方法
11日前
株式会社NTTドコモ
端末及び通信方法
19日前
続きを見る
他の特許を見る