TOP
|
特許
|
意匠
|
商標
特許ウォッチ
Twitter
他の特許を見る
公開番号
2025168815
公報種別
公開特許公報(A)
公開日
2025-11-12
出願番号
2024073593
出願日
2024-04-30
発明の名称
測位支援装置及び測位支援方法
出願人
株式会社NTTドコモ
代理人
個人
,
個人
,
個人
,
個人
主分類
H04W
64/00 20090101AFI20251105BHJP(電気通信技術)
要約
【課題】ローミング環境における衛星測位の成功率を向上させる。
【解決手段】
一態様に係る測位支援装置は、ローミング先の通信事業者の通信網に接続する通信端末の衛星測位を支援する。この測位支援装置は、通信端末が在圏する基地局を示すセル識別コードを通信端末から取得する識別コード取得部と、セル識別コードの少なくとも一部と、基地局の所在エリアを示す地域情報と、所在エリア毎の代表位置を示す代表位置情報とが関連付けられた代表位置データを記憶する記憶部と、通信端末から取得したセル識別コードと部分的に一致するセル識別コードを含むレコードを代表位置データから特定し、特定されたレコードに含まれる代表位置情報を取得する位置情報取得部と、取得された代表位置情報に対応する測位衛星に関する情報を含むアシストデータを取得するアシストデータ取得部と、取得したアシストデータを通信端末に送信する送信部と、を備える。
【選択図】図2
特許請求の範囲
【請求項1】
ローミング先の通信事業者の通信網に接続する通信端末の衛星測位を支援する測位支援装置であって、
前記通信端末が在圏する基地局を示すセル識別コードを前記通信端末から取得する識別コード取得部と、
前記セル識別コードの少なくとも一部と、前記基地局の所在エリアを示す地域情報と、前記所在エリア毎の代表位置を示す代表位置情報とが関連付けられた代表位置データを記憶する記憶部と、
前記通信端末から取得した前記セル識別コードと部分的に一致する前記セル識別コードを含むレコードを前記代表位置データから特定し、特定されたレコードに含まれる前記代表位置情報を取得する位置情報取得部と、
取得された前記代表位置情報に対応する測位衛星に関する情報を含むアシストデータを取得するアシストデータ取得部と、
取得した前記アシストデータを前記通信端末に送信する送信部と、
を備える、測位支援装置。
続きを表示(約 1,300 文字)
【請求項2】
前記セル識別コードが、E-UTRAN Cell Global Identifier(ECGI)又はNR Cell Global Identifier(NCGI)である、請求項1に記載の測位支援装置。
【請求項3】
前記記憶部は、前記セル識別コードと前記基地局の位置情報とが関連付けられたセル学習データを更に記憶し、
前記位置情報取得部は、情報前記通信端末から取得した前記セル識別コードに一致する前記セル識別コードが前記セル学習データに存在しないときに、前記代表位置データから前記代表位置情報を取得する、請求項1に記載の測位支援装置。
【請求項4】
前記アシストデータを用いた衛星測位によって取得された前記通信端末の位置情報を前記通信端末から受信する測位結果取得部と、
前記通信端末から受信した前記セル識別コードと前記通信端末の位置情報とが関連付けられたレコードを前記セル学習データに追加する学習部と、
を更に含む、請求項3に記載の測位支援装置。
【請求項5】
前記代表位置データは、前記基地局を管理する通信事業者を示す情報を更に含み、一つの通信事業者に複数の代表位置が関連付けられている、請求項1に記載の測位支援装置。
【請求項6】
ローミング先の通信事業者の通信網に接続する通信端末の衛星測位を支援する測位支援方法であって、
前記通信端末が在圏する基地局を示すセル識別コードを前記通信端末から取得するステップと、
前記セル識別コードの少なくとも一部と、基地局の所在エリアを示す地域情報と、前記所在エリア毎の代表位置を示す代表位置情報とが関連付けられた代表位置データを記憶する記憶部を参照して、前記通信端末から取得した前記セル識別コードと部分的に一致する前記セル識別コードを含むレコードを前記代表位置データから特定し、特定されたレコードに含まれる前記代表位置情報を取得するステップと、
取得された前記代表位置情報に対応する測位衛星に関する情報を含むアシストデータを取得するステップと、
取得した前記アシストデータを前記通信端末に送信するステップと、
を備える、測位支援方法。
【請求項7】
前記記憶部は、前記セル識別コードと前記基地局の位置情報とが関連付けられたセル学習データを更に記憶し、
情報前記通信端末から取得した前記セル識別コードに一致する前記セル識別コードが前記セル学習データに存在しないときに、前記代表位置データから前記代表位置情報を取得する、請求項6に記載の測位支援方法。
【請求項8】
前記アシストデータを用いた衛星測位によって取得された前記通信端末の位置情報を前記通信端末から受信するステップと、
前記通信端末から受信した前記セル識別コードと前記通信端末の位置情報とが関連付けられたレコードを前記セル学習データに追加するステップと、
を更に含む、請求項7に記載の測位支援方法。
発明の詳細な説明
【技術分野】
【0001】
本開示は、測位支援装置及び測位支援方法に関する。
続きを表示(約 2,100 文字)
【背景技術】
【0002】
携帯電話等の通信端末の高性能化に伴い、GNSS(Global Navigation Satellite System)等の衛星測位システムを利用した衛星測位機能を有する通信端末の普及が進んでいる。通信端末において衛星測位を行う場合には、測位衛星からの電波のみを受信して測位する単独測位方式では測位時間の長期化等の問題がある。このため、測位支援装置から提供される測位衛星の軌道情報(アシストデータ)を受信して衛星測位を行うことで測位時間の短縮を図るネットワークアシスト方式が広く採用されている。ネットワークアシスト方式では、測位支援装置は、通信端末の通信エリアに基づいて通信端末の大まかな位置(概位置)を特定し、特定された概位置に対応する測位衛星に関するアシストデータを通信端末に送信する。
【0003】
衛星測位の成功率は、測位支援装置によって特定される通信端末の概位置に大きく依存する。一般的に、特定された概位置が実際の通信端末の位置から150km以上離れている場合には、衛星測位は殆ど成功することがないと言われている。ここで、自社通信網の基地局の位置情報はデータベースに登録されているので、その基地局に接続する通信端末の概位置を容易に特定することが可能である。一方で、通信端末が他社通信網にローミング接続している場合には、通信端末が在圏する基地局の位置を特定することは容易でない。この場合には、測位支援装置は、基地局の国情報といった限られた情報から通信端末の概位置を特定してアシストデータを生成するため、アシストデータの正確性が低下する。アシストデータの正確性が低下すると、通信端末による衛星測位の成功率が低下する。
【0004】
ローミング環境で衛星測位の成功率を向上させるための技術として、例えば下記特許文献1が知られている。特許文献1には、通信エリアを示す情報と概位置情報とを対応付けて記憶する概位置情報DBを参照して通信端末の通信エリアに応じた概位置情報を取得し、取得した概位置情報に応じたアシストデータを通信端末に送信する測位支援装置が記載されている。この測位支援装置は、アシストデータを利用した衛星測位の結果を示す測位結果情報を通信端末から受信し、当該測位結果情報に基づいて通信エリアに対応する概位置情報を更新する。
【先行技術文献】
【特許文献】
【0005】
特開2011-242285号公報
【発明の概要】
【発明が解決しようとする課題】
【0006】
特許文献1に記載の測位支援装置では、アシストデータを用いた衛星測位が成功したときに通信エリアに対応する概位置情報を更新するので、ローミング環境においても、通信エリアに対応する正確な概位置情報を取得することができる。しかしながら、通信端末が過去に衛星測位が成功したことのない通信エリアに在圏している場合には、正確な概位置情報を取得することができないので、高い成功率で衛星測位を行うことは困難である。
【0007】
そこで、本開示は、ローミング環境における衛星測位の成功率を向上させることを目的とする。
【課題を解決するための手段】
【0008】
一態様に係る測位支援装置は、ローミング先の通信事業者の通信網に接続する通信端末の衛星測位を支援する。この測位支援装置は、通信端末が在圏する基地局を示すセル識別コードを通信端末から取得する識別コード取得部と、セル識別コードの少なくとも一部と、基地局の所在エリアを示す地域情報と、所在エリア毎の代表位置を示す代表位置情報とが関連付けられた代表位置データを記憶する記憶部と、通信端末から取得したセル識別コードと部分的に一致するセル識別コードを含むレコードを代表位置データから特定し、特定されたレコードに含まれる代表位置情報を取得する位置情報取得部と、取得された代表位置情報に対応する測位衛星に関する情報を含むアシストデータを取得するアシストデータ取得部と、取得したアシストデータを通信端末に送信する送信部と、を備える。
【発明の効果】
【0009】
本開示によれば、ローミング環境における衛星測位の成功率を向上させることができる。
【図面の簡単な説明】
【0010】
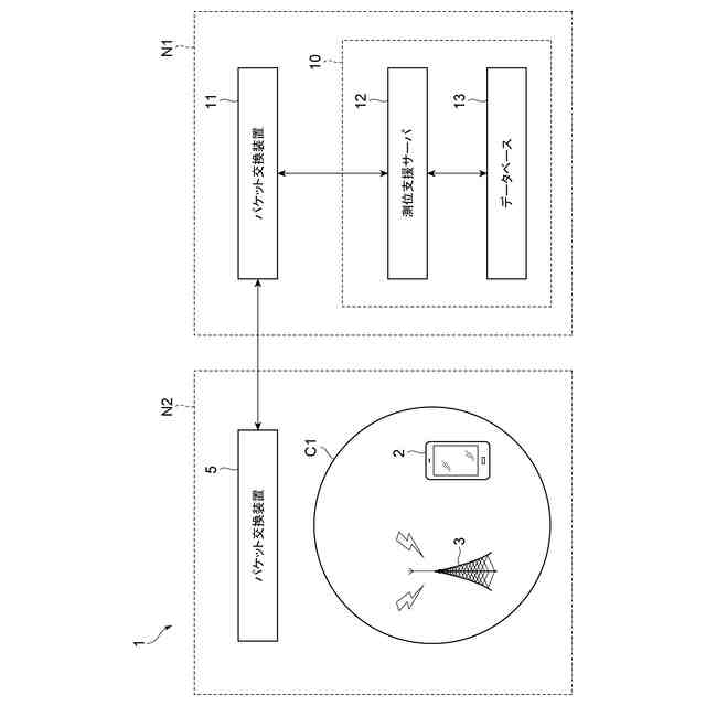
図1は、一実施形態に係る測位システムの機能的構成を示すブロック図である。
図2は、一実施形態に係る測位支援装置の機能的構成を示すブロック図である。
図3は、セル学習データの一例を示す図である。
図4は、ECGIのフォーマットを示す図である。
図5は、代表位置データの一例を示す図である。
図6は、更新されたセル学習データ一例を示す図である。
図7は、一実施形態に係る測位方法を示すシーケンスチャートである。
図8は、測位支援装置のハードウェア構成を示す図である。
【発明を実施するための形態】
(【0011】以降は省略されています)
特許ウォッチbot のツイートを見る
この特許をJ-PlatPat(特許庁公式サイト)で参照する
関連特許
株式会社NTTドコモ
携帯端末
19日前
株式会社NTTドコモ
推定装置
19日前
株式会社NTTドコモ
情報処理装置
19日前
株式会社NTTドコモ
情報処理装置
21日前
株式会社NTTドコモ
移動通信端末
12日前
株式会社NTTドコモ
端末及び通信方法
今日
株式会社NTTドコモ
端末及び通信方法
25日前
株式会社NTTドコモ
端末及び通信方法
25日前
株式会社NTTドコモ
端末及び通信方法
1日前
株式会社NTTドコモ
端末及び通信方法
4日前
株式会社NTTドコモ
端末及び通信方法
1日前
株式会社NTTドコモ
管理装置及び管理方法
4日前
株式会社NTTドコモ
情報処理装置及び方法
13日前
株式会社NTTドコモ
管理装置及び管理方法
4日前
株式会社NTTドコモ
管理装置及び管理方法
4日前
株式会社NTTドコモ
情報処理装置及び方法
13日前
株式会社NTTドコモ
端末、基地局及び通信方法
25日前
株式会社NTTドコモ
生成システム及び生成方法
11日前
株式会社NTTドコモ
測位支援装置及び測位支援方法
6日前
株式会社NTTドコモ
情報処理装置及び情報処理方法
25日前
株式会社NTTドコモ
電力監視装置、及び、電力監視方法
6日前
株式会社NTTドコモ
基地局、ネットワークノード及び端末
25日前
株式会社NTTドコモ
最適化支援装置および最適化支援方法
19日前
株式会社NTTドコモ
端末装置、プログラム、及び情報処理方法
26日前
株式会社NTTドコモ
太陽電池の配置支援装置及び太陽電池の配置支援方法
4日前
株式会社NTTドコモ
端末
6日前
株式会社NTTドコモ
端末
今日
株式会社NTTドコモ
端末及び通信方法
13日前
株式会社NTTドコモ
端末及び通信方法
13日前
株式会社NTTドコモ
通信制御方法、端末、通信制御装置、通信制御システム、通信制御プログラム
11日前
株式会社NTTドコモ
端末、通信システム及び通信方法
13日前
株式会社NTTドコモ
無線通信ノード、および、無線通信方法
21日前
株式会社NTTドコモ
端末、基地局、通信システム及び通信方法
13日前
株式会社NTTドコモ
端末、無線通信システム及び無線通信方法
今日
株式会社NTTドコモ
端末、無線通信方法、基地局及びシステム
13日前
株式会社NTTドコモ
端末、無線通信システム及び無線通信方法
6日前
続きを見る
他の特許を見る