TOP
|
特許
|
意匠
|
商標
特許ウォッチ
Twitter
他の特許を見る
10個以上の画像は省略されています。
公開番号
2025170185
公報種別
公開特許公報(A)
公開日
2025-11-17
出願番号
2025018723
出願日
2025-02-06
発明の名称
端末及び通信方法
出願人
株式会社NTTドコモ
代理人
コネクトIP弁理士法人
主分類
H04W
56/00 20090101AFI20251110BHJP(電気通信技術)
要約
【課題】所定周期のTDDパターンを用いた通信を適切に制御する。
【解決手段】下りリンク期間とガード期間と上りリンク期間とを含み、且つ特定の周期を有するTDD(Time Division Duplex)パターンを用いて通信を行う送受信部と、前記TDDパターンにおける非下りリンク期間と前記送受信部が受信する下りリンク信号との衝突に関する制御を行う制御部と、を有する端末である。
【選択図】図13
特許請求の範囲
【請求項1】
下りリンク期間とガード期間と上りリンク期間とを含み、且つ特定の周期を有するTDD(Time Division Duplex)パターンを用いて通信を行う送受信部と、
前記TDDパターンにおける非下りリンク期間と前記送受信部が受信する下りリンク信号との衝突に関する制御を行う制御部と、を有する端末。
続きを表示(約 940 文字)
【請求項2】
前記送受信部は、
前記下りリンク信号に関する設定情報を基地局から受信する受信部と、
前記設定情報に基づいて、前記特定の周期に応じた周期又は開始タイミングで、前記下りリンク期間内において前記下りリンク信号を受信する受信部と、を有し、
前記下りリンク信号は、システム情報、下りリンク制御情報、ページング及びランダムアクセス応答のいずれかである、請求項1に記載の端末。
【請求項3】
前記下りリンク信号は、前記システム情報、前記ページング及び前記ランダムアクセス応答のいずれかであり、
前記開始タイミングは、サブフレーム単位で示される前記下りリンク信号のオフセットに基づくタイミングである、請求項2に記載の端末。
【請求項4】
前記送受信部は、
前記下りリンク信号に関する設定情報を基地局から受信する受信部と、
前記設定情報に基づいて、前記下りリンク期間内において前記下りリンク信号の繰り返し送信を受信する受信部と、を有し、
前記下りリンク信号は、下りリンク制御情報、ページング及びランダムアクセス応答のいずれかであり、
前記設定情報に含まれる前記繰り返し送信の回数は、前記TDDパターンにおける前記下りリンク期間に基づいて設定される、請求項1に記載の端末。
【請求項5】
前記制御部は、前記衝突が生じる場合、前記下りリンク信号を破棄する、前記下りリンク信号の受信を延期する、及び前記下りリンク信号の受信を優先するのうち、いずれか1つを実行し、
前記下りリンク信号は、システム情報、下りリンク制御情報、ページング、ランダムアクセス応答のいずれかである、請求項1に記載の端末。
【請求項6】
下りリンク期間とガード期間と上りリンク期間とを含み、且つ特定の周期を有するTDD(Time Division Duplex)パターンを用いて通信を行う第1のステップと、
前記TDDパターンにおける非下りリンク期間と前記第1のステップで受信する下りリンク信号との衝突に関する制御を行う第2のステップと、を端末が実行する通信方法。
発明の詳細な説明
【技術分野】
【0001】
本開示は、無線通信システムにおける端末及び通信方法に関する。
続きを表示(約 1,700 文字)
【背景技術】
【0002】
3GPP(登録商標)(3rd Generation Partnership Project)規格に準拠する無線通信システムの通信容量の更なる大容量化、データ伝送速度の更なる高速化、及び無線区間における更なる低遅延化等を実現するための技術が検討されている(例えば、非特許文献1参照)。
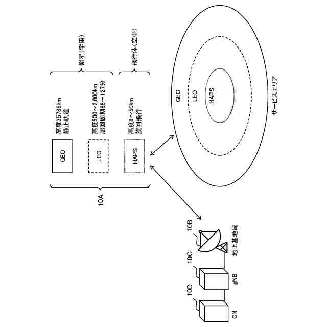
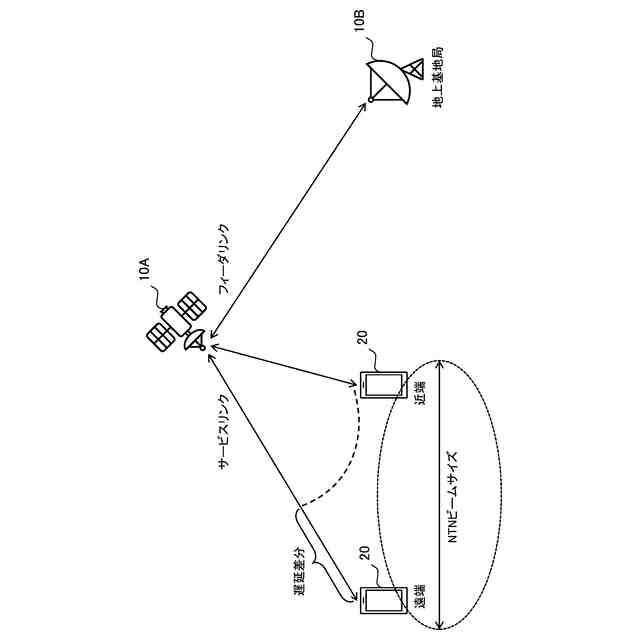
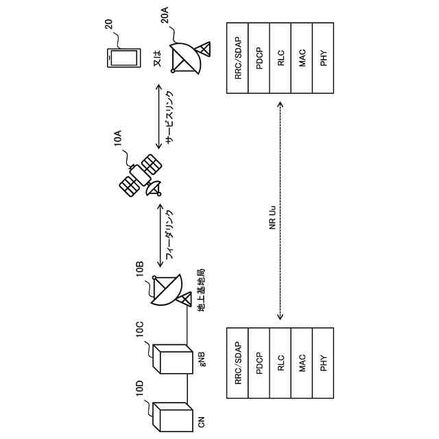
【0003】
また、NTN(Non-Terrestrial Network)が検討されている。NTNとは、衛星等の非地上型ネットワークを使用することで、地上型ネットワークでは主にコスト面でカバーできないエリアにサービスを提供するものである(例えば、非特許文献2参照)。
【0004】
さらに、NB-IoT(Narrow Band Internet of Things)、LTE-マシンタイプ通信(MTC:Machine Type Communication)、LTE-M等のIoT関連の通信が知られている(例えば、非特許文献3参照)。このような通信をサポートする端末(以下、「IoT端末」と呼ぶ)は、拡張DRX(Discontinuous Reception)の動作を行うことができる。拡張DRXでは、端末は、複数の無線フレームを束ねた時間フレームであるハイパーフレームの整数倍のDRXサイクルで間欠受信動作を行うことができる。
【0005】
このようなIoT端末に対して、NTNによって通信サービスを提供できれば、地上ネットワークではカバーできないエリアに設置されたセンサデバイス等のIoT端末であっても通信が可能になると考えられる。以下において、このような通信を「IoT-NTN通信」とも称する。
【先行技術文献】
【非特許文献】
【0006】
3GPP TS 38.300 V18.3.0 (2024-09)
3GPP TR 38.821 V16.2.0 (2023-03)
3GPP TS 36.300 V18.4.0 (2024-12)
3GPP TR 36.763 V17.0.0 (2021-06)
3GPP TSG RAN Meeting #106,RP-243293,2024-12
【発明の概要】
【発明が解決しようとする課題】
【0007】
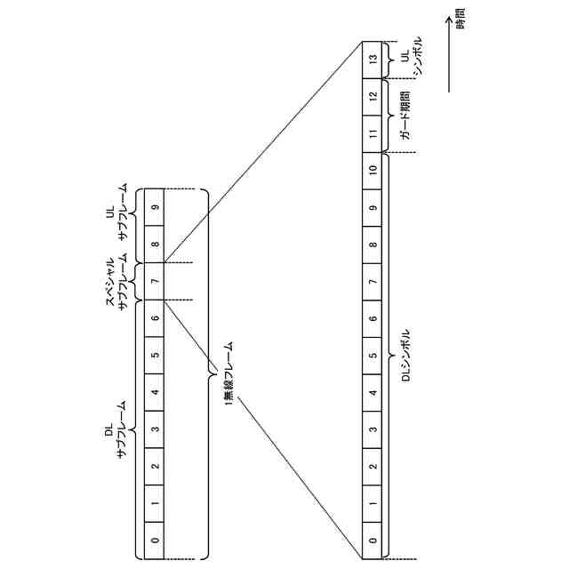
衛星とIoT端末間での直接通信を実現するIoT-NTN通信における時分割複信(TDD:Time Division Duplex)モードでは、既存システムとの干渉を避けるため、さまざまな方法が考えられる。例えば、IoT端末には、N無線フレーム周期のTDDパターンを使用することが推奨される(ここで、Nは2以上の整数)。しかしながら、既存のIoT端末における下りリンク(DL:Downlink)受信のタイミングと当該TDDパターンとが整合していない。この非整合により、既存のIoT端末のDL受信に悪影響を及ぼす可能性がある。また、このような問題は、IoT-NTN通信のみならず、所定周期のTDDパターンを用いる種々の通信においても生じる虞がある。
【0008】
本開示は、所定周期のTDDパターンを用いた通信を適切に制御することを目的の1つとする。
【課題を解決するための手段】
【0009】
本開示の技術によれば、下りリンク期間とガード期間と上りリンク期間とを含み、且つ特定の周期を有するTDD(Time Division Duplex)パターンを用いて通信を行う送受信部と、前記TDDパターンにおける非下りリンク期間と前記送受信部が受信する下りリンク信号との衝突に関する制御を行う制御部と、を有する端末が提供される。
【発明の効果】
【0010】
本開示の技術によれば、所定周期のTDDパターンを用いた通信を適切に制御することができる。
【図面の簡単な説明】
(【0011】以降は省略されています)
特許ウォッチbot のツイートを見る
この特許をJ-PlatPat(特許庁公式サイト)で参照する
関連特許
株式会社NTTドコモ
推定装置
1か月前
株式会社NTTドコモ
携帯端末
1か月前
株式会社NTTドコモ
情報処理装置
1か月前
株式会社NTTドコモ
移動通信端末
1か月前
株式会社NTTドコモ
情報処理装置
1か月前
株式会社NTTドコモ
端末及び測位方法
11日前
株式会社NTTドコモ
端末及び通信方法
20日前
株式会社NTTドコモ
端末及び通信方法
24日前
株式会社NTTドコモ
端末及び通信方法
11日前
株式会社NTTドコモ
端末及び通信方法
21日前
株式会社NTTドコモ
端末及び通信方法
21日前
株式会社NTTドコモ
端末及び通信方法
19日前
株式会社NTTドコモ
情報処理装置及び方法
18日前
株式会社NTTドコモ
生成装置及び生成方法
12日前
株式会社NTTドコモ
管理装置及び管理方法
24日前
株式会社NTTドコモ
管理装置及び管理方法
24日前
株式会社NTTドコモ
管理装置及び管理方法
24日前
株式会社NTTドコモ
情報処理装置及び方法
1か月前
株式会社NTTドコモ
情報処理装置及び方法
1か月前
株式会社NTTドコモ
生成システム及び生成方法
1か月前
株式会社NTTドコモ
端末、無線通信方法及び基地局
11日前
株式会社NTTドコモ
測位支援装置及び測位支援方法
26日前
株式会社NTTドコモ
人物同定装置、及び人物同定方法
10日前
株式会社NTTドコモ
電力監視装置、及び、電力監視方法
26日前
株式会社NTTドコモ
最適化支援装置および最適化支援方法
1か月前
株式会社NTTドコモ
情報処理装置及びナビゲーション方法
10日前
株式会社NTTドコモ
端末
26日前
株式会社NTTドコモ
端末
20日前
株式会社NTTドコモ
太陽電池の配置支援装置及び太陽電池の配置支援方法
24日前
株式会社NTTドコモ
端末及び通信方法
1か月前
株式会社NTTドコモ
端末及び通信方法
1か月前
株式会社NTTドコモ
端末及び通信方法
10日前
株式会社NTTドコモ
端末、及び基地局
5日前
株式会社NTTドコモ
端末及び無線通信方法
5日前
株式会社NTTドコモ
通信制御方法、端末、通信制御装置、通信制御システム、通信制御プログラム
1か月前
株式会社NTTドコモ
端末、通信システム及び通信方法
1か月前
続きを見る
他の特許を見る