TOP
|
特許
|
意匠
|
商標
特許ウォッチ
Twitter
他の特許を見る
10個以上の画像は省略されています。
公開番号
2025155547
公報種別
公開特許公報(A)
公開日
2025-10-14
出願番号
2024141155
出願日
2024-08-22
発明の名称
端末及び通信方法
出願人
株式会社NTTドコモ
代理人
弁理士法人鷲田国際特許事務所
主分類
H04W
72/0446 20230101AFI20251006BHJP(電気通信技術)
要約
【課題】時分割複信のバンドを設定する複数のサブバンドを利用可能なときにチャネル又は信号を適切に受信又は送信すること。
【解決手段】端末は、時分割複信のバンドを構成する複数のサブバンドの利用により下りリンクと上りリンクとの同時使用が可能な第1シンボルタイプと、時分割複信のバンドにおいて下りリンクと上りリンクの一方のみが使用可能な第2シンボルタイプの何れか一方のシンボルタイプにおいて、周期的又はセミパーシステントな信号又はチャネルを受信又は送信することが設定され、かつ、前記信号又はチャネルを受信又は送信するために有効なシンボルタイプが設定されていない場合、前記信号又はチャネルを受信又は送信するために有効なシンボルタイプを特定の条件に基づいて決定する制御部と、前記有効なシンボルタイプにおいて、前記周期的又はセミパーシステントな信号又はチャネルを受信又は送信する送受信部と、を備える。
【選択図】図18
特許請求の範囲
【請求項1】
時分割複信のバンドを構成する複数のサブバンドの利用により下りリンクと上りリンクとの同時使用が可能な第1シンボルタイプと、時分割複信のバンドにおいて下りリンクと上りリンクの一方のみが使用可能な第2シンボルタイプの何れか一方のシンボルタイプにおいて、周期的又はセミパーシステントな信号又はチャネルを受信又は送信することが設定され、かつ、前記周期的又はセミパーシステントな信号又はチャネルを受信又は送信するために有効なシンボルタイプが設定されていない場合、前記周期的又はセミパーシステントな信号又はチャネルを受信又は送信するために有効なシンボルタイプを特定の条件に基づいて決定する制御部と、
前記有効なシンボルタイプにおいて、前記周期的又はセミパーシステントな信号又はチャネルを受信又は送信する送受信部と、
を備える端末。
続きを表示(約 790 文字)
【請求項2】
前記制御部は、アクティベーション後の最初の受信オケージョン又は送信オケージョンのシンボルタイプを、前記周期的又はセミパーシステントな信号又はチャネルを受信又は送信するために有効なシンボルタイプとして決定する、
請求項1に記載の端末。
【請求項3】
前記制御部は、アクティベーションDCIまたはアクティベーションMAC CEを伝送するPDSCHを搬送するシンボルタイプを、前記周期的又はセミパーシステントな信号又はチャネルを受信又は送信するために有効なシンボルタイプとして決定する、
請求項1に記載の端末。
【請求項4】
前記制御部は、設定後の最初の受信オケージョン又は送信オケージョンのシンボルタイプを、前記周期的又はセミパーシステントな信号又はチャネルを受信又は送信するために有効なシンボルタイプとして決定する、
請求項1に記載の端末。
【請求項5】
端末が、
時分割複信のバンドを構成する複数のサブバンドの利用により下りリンクと上りリンクとの同時使用が可能な第1シンボルタイプと、時分割複信のバンドにおいて下りリンクと上りリンクの一方のみが使用可能な第2シンボルタイプの何れか一方のシンボルタイプにおいて、周期的又はセミパーシステントな信号又はチャネルを受信又は送信することが設定され、かつ、前記周期的又はセミパーシステントな信号又はチャネルを受信又は送信するために有効なシンボルタイプが設定されていない場合、前記周期的又はセミパーシステントな信号又はチャネルを受信又は送信するために有効なシンボルタイプを特定の条件に基づいて決定し、
前記有効なシンボルタイプにおいて、前記周期的又はセミパーシステントな信号又はチャネルを受信又は送信する、
通信方法。
発明の詳細な説明
【技術分野】
【0001】
本開示は、端末及び通信方法に関する。
続きを表示(約 2,400 文字)
【背景技術】
【0002】
3GPP(登録商標)は、5th generation mobile communication system(5G、New Radio(NR)またはNext Generation(NG)とも呼ばれる。)を仕様化し、さらに、Beyond 5G、5G Evolutionあるいは6Gと呼ばれる次世代の移動通信システムの仕様化も進めている。
【0003】
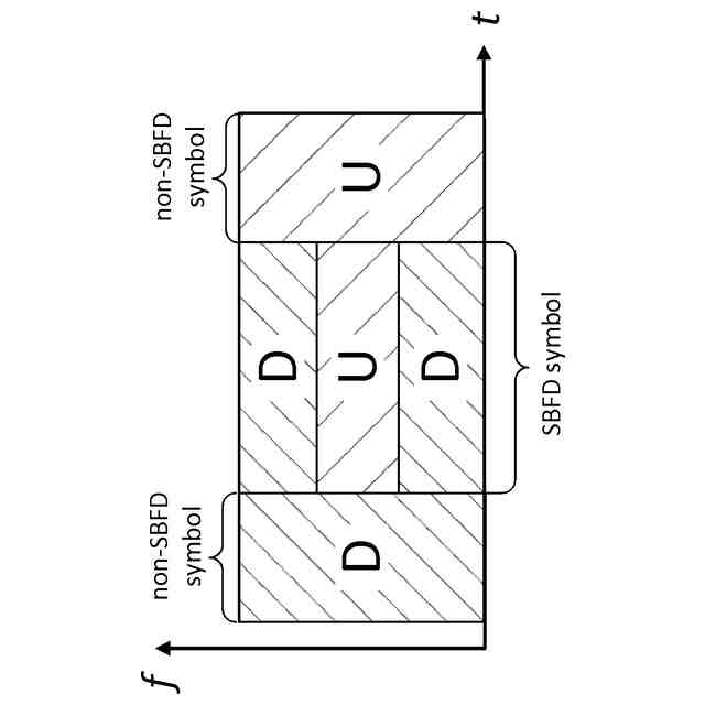
Release 18において、時分割複信(TDD)のバンドを構成する複数のサブバンドを利用することにより、下りリンク(DL)と上りリンク(UL)との同時使用を可能にする複信方式が議論されている。このような複信方式は、subband non-overlapping full duplex(SBFD)と呼ばれている。なお、SBFDが適用されるシンボルは、SBFDシンボルと呼ばれてもよい。また、SBFDシンボルにおいて、DLに使用されるサブバンドはDLサブバンドと呼ばれてもよいし、ULに使用されるサブバンドはULサブバンドと呼ばれてもよい。
【0004】
さらに、Release 19に向けて、異なるスロット内のSBFDシンボル及び非SBFDシンボルにわたるUL送信及びDL受信に関する拡張が検討されている。
【先行技術文献】
【非特許文献】
【0005】
“New WID: Evolution of NR duplex operation: Sub-band full duplex (SBFD)”, RP-234035, 3GPP TSG RAN Meeting #102, 3GPP, December 11-15, 2023
【発明の概要】
【0006】
現行の無線通信システムでは、チャネル又は信号を繰り返し送信又は受信するための設定が可能である(例えば、CG PUSCH、SPS PDSCH、PDSCH repetition等)。
【0007】
このような周期的/セミパーシステントなチャネル又は信号あるいは繰り返し(送信)について、SBFDが適用される場合の動作については明確化されていない。このような動作が明確化されなければ、チャネル又は信号を適切に送受信することができず、システム性能が劣化するおそれがある。
【0008】
本開示の一態様は、時分割複信のバンドを構成する複数のサブバンドを利用可能なときにチャネル又は信号を適切に受信又は送信することができる端末及び通信方法を提供する。
【0009】
本開示の一態様に係る端末は、時分割複信のバンドを構成する複数のサブバンドの利用により下りリンクと上りリンクとの同時使用が可能な第1シンボルタイプと、時分割複信のバンドにおいて下りリンクと上りリンクの一方のみが使用可能な第2シンボルタイプの何れか一方のシンボルタイプにおいて、周期的又はセミパーシステントな信号又はチャネルを受信又は送信することが設定され、かつ、前記周期的又はセミパーシステントな信号又はチャネルを受信又は送信するために有効なシンボルタイプが設定されていない場合、前記周期的又はセミパーシステントな信号又はチャネルを受信又は送信するために有効なシンボルタイプを特定の条件に基づいて決定する制御部と、前記有効なシンボルタイプにおいて、前記周期的又はセミパーシステントな信号又はチャネルを受信又は送信する送受信部と、を備える。
【図面の簡単な説明】
【0010】
無線通信システムの全体概略構成図である。
無線通信システムにおいて用いられる周波数レンジを示す図である。
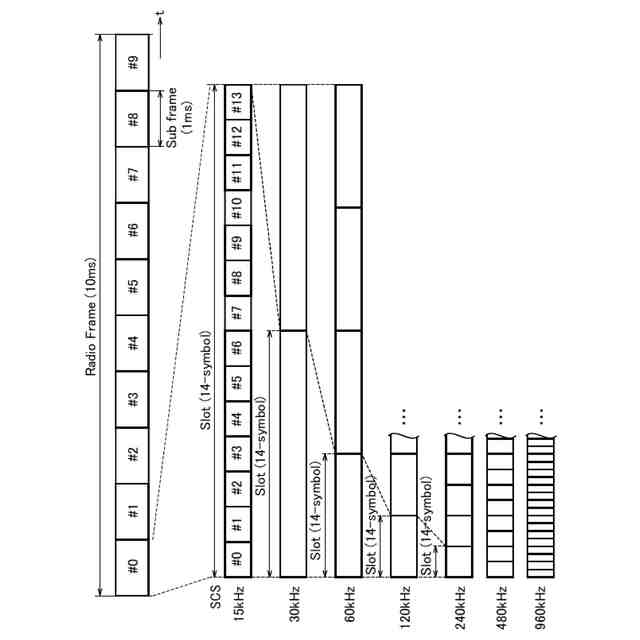
無線通信システムにおいて用いられる無線フレーム、サブフレーム、スロット、シンボルの構成例を示す図である。
Rel.16までに規定されるTDDの設定の一例を示す図である。
SBFDの構成の一例を示す図である。
SBFD動作の一例を示す図である。
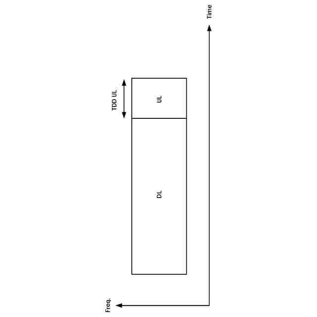
既存のTDD設定の一例を示す図である。
SBFDの設定を含むTDDの一例を示す図である。
ピュア時間単位及びSBFD時間単位を示す図である。
ピュア時間単位及びSBFD時間単位を示す図である。
ピュア時間単位及びSBFD時間単位を示す図である。
ピュア時間単位及びSBFD時間単位を示す図である。
ピュア時間単位及びSBFD時間単位を示す図である。
CG PUSCHの周期性を示す図である。
SPS PDSCHの周期性を示す図である。
設定1を説明する図である。
設定2を説明する図である。
SBFDが適用される場合のDLサブバンド及びULサブバンド用のリソースの例を示す図である。
SBFDが適用される場合のSPS設定の例を示す図である。
SBFDが適用される場合のSPS設定の例を示す図である。
提案1-1に係る、チャネル/信号送信用の各種のリソースの例を示す図である。
提案2-1に係る、チャネル/信号送信用の各種のリソースの例を示す図である。
提案3に係る、CSI-RSリソースの設定例を示す図である。
提案3に係る、CSI-RSリソースの設定例を示す図である。
設定1を説明する図である。
基地局の構成の一例を示すブロック図である。
端末の構成の一例を示すブロック図である。
基地局及び端末のハードウェア構成の一例を示す図である。
車両の構成の一例を示す図である。
【発明を実施するための形態】
(【0011】以降は省略されています)
この特許をJ-PlatPat(特許庁公式サイト)で参照する
関連特許
個人
監視カメラシステム
3日前
キーコム株式会社
光伝送線路
4日前
サクサ株式会社
中継装置
9日前
サクサ株式会社
中継装置
10日前
WHISMR合同会社
収音装置
1か月前
個人
スキャン式車載用撮像装置
3日前
アイホン株式会社
電気機器
1か月前
キヤノン株式会社
撮像装置
1か月前
サクサ株式会社
無線通信装置
9日前
キヤノン電子株式会社
画像読取装置
2日前
キヤノン電子株式会社
画像読取装置
1か月前
個人
ワイヤレスイヤホン対応耳掛け
29日前
サクサ株式会社
無線通信装置
9日前
サクサ株式会社
無線システム
8日前
株式会社リコー
画像形成装置
1か月前
株式会社リコー
画像形成装置
1か月前
個人
発信機及び発信方法
8日前
キヤノン株式会社
撮像システム
1か月前
ブラザー工業株式会社
読取装置
2か月前
日本電気株式会社
海底分岐装置
4日前
シャープ株式会社
端末装置
1日前
株式会社NTTドコモ
端末
3日前
株式会社NTTドコモ
端末
3日前
キヤノン電子株式会社
画像処理システム
2日前
沖電気工業株式会社
画像形成装置
11日前
株式会社JVCケンウッド
通信システム
15日前
大日本印刷株式会社
写真撮影装置
1か月前
有限会社フィデリックス
マイクロフォン
15日前
株式会社NTTドコモ
端末
4日前
キヤノン電子株式会社
シート材搬送装置
2か月前
株式会社NTTドコモ
端末
3日前
株式会社小糸製作所
画像照射装置
1か月前
株式会社松平商会
携帯機器カバー
1か月前
パテントフレア株式会社
超高速電波通信
1か月前
沖電気工業株式会社
画像形成装置
19日前
国立大学法人電気通信大学
小型光学装置
1か月前
続きを見る
他の特許を見る