TOP
|
特許
|
意匠
|
商標
特許ウォッチ
Twitter
他の特許を見る
10個以上の画像は省略されています。
公開番号
2025157031
公報種別
公開特許公報(A)
公開日
2025-10-15
出願番号
2024138351
出願日
2024-08-19
発明の名称
端末及び通信方法
出願人
株式会社NTTドコモ
代理人
弁理士法人鷲田国際特許事務所
主分類
H04W
24/10 20090101AFI20251007BHJP(電気通信技術)
要約
【課題】CSI測定結果の報告を適切に行うことができる端末及び通信方法を提供すること。
【解決手段】端末は、チャネル状態情報の測定を行う制御部と、前記チャネル状態情報の測定結果を候補セルに送信する送信部と、を備え、Intra-CU LTMの場合とInter-CU LTMの場合とで、前記候補セルへの前記チャネル状態情報の測定結果の送信が異なる。
【選択図】図12
特許請求の範囲
【請求項1】
チャネル状態情報の測定を行う制御部と、
前記チャネル状態情報の測定結果を候補セルに送信する送信部と、
を備え、
Intra-CU LTMの場合とInter-CU LTMの場合とで、前記候補セルへの前記チャネル状態情報の測定結果の送信が異なる、
端末。
続きを表示(約 390 文字)
【請求項2】
Intra-CU LTMの場合、前記送信部は、ソース基地局に前記チャネル状態情報を送信し、
前記チャネル状態情報は、ソース基地局からCUに送信され、CUから前記候補セルに送信される、
請求項1に記載の端末。
【請求項3】
Inter-CU LTMの場合、前記送信部は、ソース基地局に前記チャネル状態情報を送信し、
前記チャネル状態情報は、ソース基地局から前記候補セルに送信される、
請求項1に記載の端末。
【請求項4】
端末が、
チャネル状態情報の測定を行い、
前記チャネル状態情報の測定結果を候補セルに送信し、
Intra-CU LTMの場合とInter-CU LTMの場合とで、前記候補セルへの前記チャネル状態情報の測定結果の送信が異なる、
通信方法。
発明の詳細な説明
【技術分野】
【0001】
本開示は、LTM(L1/L2 mobility)をサポートする端末及び通信方法に関する。
続きを表示(約 1,900 文字)
【背景技術】
【0002】
3rd Generation Partnership Project(3GPP(登録商標))は、5th generation mobile communication system(5G、New Radio(NR)またはNext Generation10 (NG)とも呼ばれる。)を仕様化し、さらに、Beyond 5G、5G Evolutionあるいは6Gと呼ばれる次世代の移動通信システムの仕様化も進めている。
【0003】
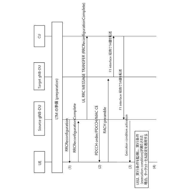
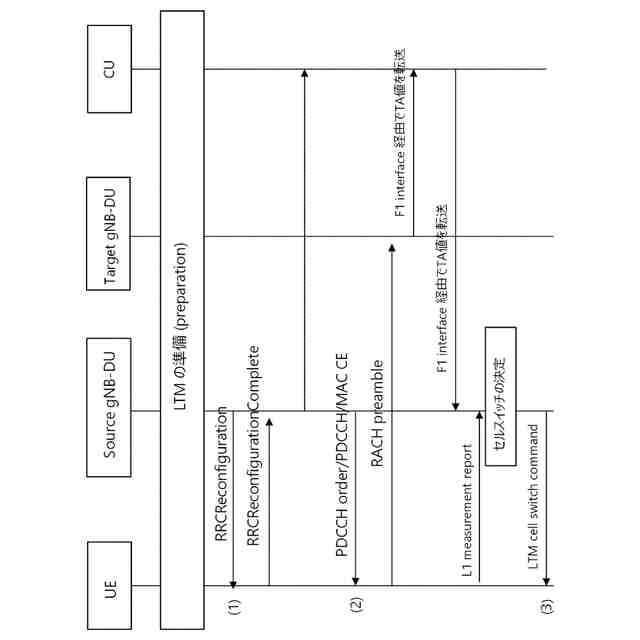
例えば、3GPP Release 19では、レイヤ1/レイヤ2モビリティ(L1/L2 mobility、具体的には、Lower layer Triggered Mobility(LTM)の拡張が議論されている(非特許文献1)。LTMは、レイヤ1またはレイヤ2における端末(User Equipment, UE)のモビリティに係る技術であり、UEの他セルなどへの遷移(ハンドオーバー(HO))などが含まれる。LTMによるHOは、媒体アクセス制御レイヤ(MAC)などの下位レイヤによって実現される。
【0004】
また、Conditional LTM、具体的には、UE主導のLTM(UE triggered LTM)では、条件付きハンドオーバー(CHO:Conditional Handover)のように、UEは、無線基地局(gNB)か特定の実行条件(execution condition)を受信後、当該execution conditionに従って状態を監視し、execution conditionを満足した場合、他セルへのハンドオーバーを実行する。さらに、LTMでは、ランダムアクセス手順(RA手順)を伴わないHO(RACH less HO)が可能である。
【0005】
RACH less HOの場合、gNBからのUEに対するランダムアクセス応答(RAR:Random Access Response)が省略されるため、UEは、ターゲットセルにおいて適用すべきタイミング調整値(TA:Timing Advance)を知ることができない。そこで、ターゲットセル(ターゲットgNB、候補セルなどと呼ばれてもよい)が自セルに対してのTAを予め取得する方法(early TA acquisition)が規定されている(非特許文献2)。ターゲットセルがearly TA acquisitionによって取得したTAは、Cell Switch Command MAC-CEによってUEに通知される。early TA acquisitionでは、3GPP TS38.300において規定されるearly synchronizationが実行されてもよい。
【先行技術文献】
【非特許文献】
【0006】
"New WID: NR mobility enhancements Phase 4", RP-234036, 3GPP TSG RAN Meeting #102, 3GPP, 2023年12月
3GPP TS 38.401 V18.0.0, 3rd Generation Partnership Project; Technical Specification Group Radio Access Network; NG-RAN; Architecture description (Release 18)、3GPP、2023年12月
【発明の概要】
【0007】
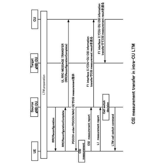
ハンドオーバーを実施した後に高いスループットを維持するためには、候補セルが、早期にUEからのCSI(Channel State Information)測定結果を取得しなければならない。
【0008】
しかしながら、CSI測定結果の報告に関する具体的なスキームについては現時点で十分に検討されていない。
【0009】
本開示の一態様は、CSI測定結果の報告を適切に行うことができる端末及び通信方法を提供する。
【0010】
本開示の一態様に係る端末は、チャネル状態情報の測定を行う制御部と、前記チャネル状態情報の測定結果を候補セルに送信する送信部と、を備え、Intra-CU LTMの場合とInter-CU LTMの場合とで、前記候補セルへの前記チャネル状態情報の測定結果の送信が異なる。
【図面の簡単な説明】
(【0011】以降は省略されています)
この特許をJ-PlatPat(特許庁公式サイト)で参照する
関連特許
株式会社NTTドコモ
端末
5日前
株式会社NTTドコモ
端末
6日前
株式会社NTTドコモ
端末
5日前
株式会社NTTドコモ
端末
6日前
株式会社NTTドコモ
端末
5日前
株式会社NTTドコモ
端末
6日前
株式会社NTTドコモ
端末
6日前
株式会社NTTドコモ
端末
5日前
株式会社NTTドコモ
端末
5日前
株式会社NTTドコモ
基地局
5日前
株式会社NTTドコモ
デバイス
5日前
株式会社NTTドコモ
デバイス
5日前
株式会社NTTドコモ
デバイス
6日前
株式会社NTTドコモ
デバイス
6日前
株式会社NTTドコモ
デバイス
6日前
株式会社NTTドコモ
デバイス
6日前
株式会社NTTドコモ
デバイス
5日前
株式会社NTTドコモ
装置及び方法
3日前
株式会社NTTドコモ
端末及び方法
1か月前
株式会社NTTドコモ
情報処理装置
12日前
株式会社NTTドコモ
リニアライザ
13日前
株式会社NTTドコモ
装置および方法
18日前
株式会社NTTドコモ
端末及び基地局
5日前
株式会社NTTドコモ
基地局及び端末
5日前
株式会社NTTドコモ
端末及び基地局
5日前
株式会社NTTドコモ
端末及び基地局
5日前
株式会社NTTドコモ
基地局及び端末
5日前
株式会社NTTドコモ
端末及び通信方法
6日前
株式会社NTTドコモ
端末及び通信方法
6日前
株式会社NTTドコモ
端末及び通信方法
6日前
株式会社NTTドコモ
端末及び通信方法
6日前
株式会社NTTドコモ
端末及び通信方法
6日前
株式会社NTTドコモ
端末及び通信方法
6日前
株式会社NTTドコモ
端末及び通信方法
6日前
株式会社NTTドコモ
端末及び通信方法
6日前
株式会社NTTドコモ
端末及び通信方法
6日前
続きを見る
他の特許を見る