TOP
|
特許
|
意匠
|
商標
特許ウォッチ
Twitter
他の特許を見る
10個以上の画像は省略されています。
公開番号
2025155642
公報種別
公開特許公報(A)
公開日
2025-10-14
出願番号
2024179411
出願日
2024-10-11
発明の名称
端末及び通信方法
出願人
株式会社NTTドコモ
代理人
弁理士法人ITOH
主分類
H04W
72/23 20230101AFI20251006BHJP(電気通信技術)
要約
【課題】マルチキャリアスケジューリングを適切に行う。
【解決手段】リソース割り当てに関する第1の情報、データの初期送信または再送信を示す第2の情報、冗長化に関する冗長バージョンを示す第3の情報を少なくとも含む下り制御情報に基づいて、複数の物理上り共有チャネル及び複数の物理下り共有チャネルのうち少なくとも一方のリソースを特定する制御部と、前記下り制御情報及び前記リソースに基づく、前記複数の物理下り共有チャネル又は前記複数の物理上り共有チャネルを送信する通信部と、を有し、前記第1の情報、前記第2の情報、前記第3の情報のうち少なくとも1つは、特定の単位で共通に通知される端末である。
【選択図】図6
特許請求の範囲
【請求項1】
リソース割り当てに関する第1の情報、データの初期送信または再送信を示す第2の情報、冗長化に関する冗長バージョンを示す第3の情報を少なくとも含む下り制御情報に基づいて、複数の物理上り共有チャネル及び複数の物理下り共有チャネルのうち少なくとも一方のリソースを特定する制御部と、
前記下り制御情報及び前記リソースに基づく、前記複数の物理下り共有チャネル又は前記複数の物理上り共有チャネルを送信する通信部と、を有し、
前記第1の情報、前記第2の情報、前記第3の情報のうち少なくとも1つは、特定の単位で共通に通知される、端末。
続きを表示(約 600 文字)
【請求項2】
前記特定の単位は、共同スケジュールされたセルごと、かつ、物理上り共有チャネル又は物理下り共有チャネルごとである、請求項1に記載の端末。
【請求項3】
前記特定の単位は、同じ共同スケジュールされたセル内の少なくとも一部の物理上り共有チャネル間又は物理下り共有チャネル間である、請求項1に記載の端末。
【請求項4】
前記特定の単位は、複数の共同スケジュールされたセルの複数の物理上り共有チャネル間又は複数の物理下り共有チャネル間である、請求項1に記載の端末。
【請求項5】
前記通信部は、前記通知に関する能力情報を送信する、請求項1に記載の端末。
【請求項6】
リソース割り当てに関する第1の情報、データの初期送信または再送信を示す第2の情報、冗長化に関する冗長バージョンを示す第3の情報を少なくとも含む下り制御情報に基づいて、複数の物理上り共有チャネル及び複数の物理下り共有チャネルのうち少なくとも一方のリソースを特定するステップと、
前記下り制御情報及び前記リソースに基づく、前記複数の物理下り共有チャネル又は前記複数の物理上り共有チャネルを送信するステップと、を有し、
前記第1の情報、前記第2の情報、前記第3の情報のうち少なくとも1つは、特定の単位で共通に通知される、端末により実行される通信方法。
発明の詳細な説明
【技術分野】
【0001】
本発明は、無線通信システムにおける端末及び通信方法に関連するものである。
続きを表示(約 1,900 文字)
【背景技術】
【0002】
3GPP(登録商標)(3rd Generation Partnership Project)では、システム容量の更なる大容量化、データ伝送速度の更なる高速化及び無線区間における更なる低遅延化等を実現するための技術の標準化が行われている(例えば、非特許文献1及び非特許文献2)。
【0003】
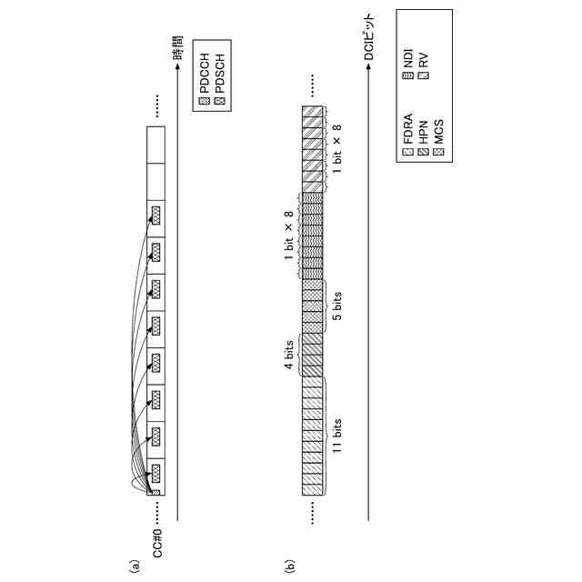
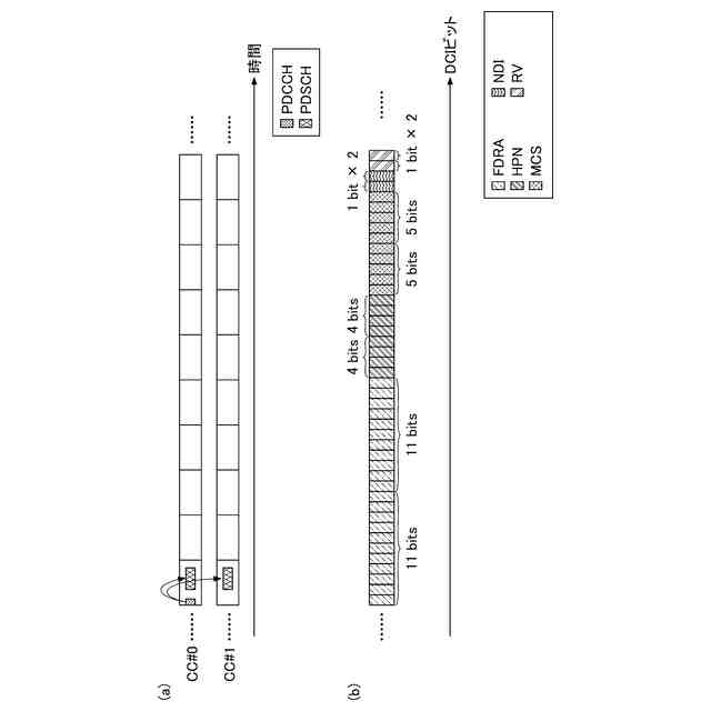
当該技術のうち、マルチキャリア拡張(MCE: Multi-Carrier Enhancements)として、3GPP Release 18では、シグナリングのオーバヘッド削減のため、マルチキャリアスケジューリング(マルチセルスケジューリングと呼ばれてもよい)が規定された。マルチキャリアスケジューリングは、1つの下り制御情報(DCI: Downlink Control Information)で複数のセルをスケジュールすることを可能にする(例えば、非特許文献3及び非特許文献4)。
【0004】
3GPP Release 18では、マルチキャリアスケジューリングにてスケジュールされる、各セルにおける物理下りリンク共有チャネル(PDSCH: Physical Downlink Shared Channel)/物理上りリンク制御チャネル(PUCCH: Physical Uplink Control Channel)は、1つに制限されていた。しかし、3GPP Release 19では、マルチキャリアスケジューリングは、各セルにおいて、複数のPDSCH/PUSCHをスケジュールすることが可能となった(マルチセルマルチPDSCH/PUSCHスケジューリングと呼ばれてもよい)。
【0005】
さらに、複数のDCIフォーマット(DCI format)のフィールドタイプが合意された。複数のDCIフィールドタイプには、例えば、DCIによって共同スケジュールされたセル(co-scheduled cells)の各々に対して情報を通知する別々のフィールドを有するタイプ(Type 2)等がある。
【先行技術文献】
【非特許文献】
【0006】
3GPP TS 38.300 V18.2.0(2024-06)
3GPP TS 38.401 V18.2.0(2024-06)
3GPP TS 38.212 V18.2.0(2024-06)
3GPP TS 38.331 V18.2.0(2024-06)
【発明の概要】
【発明が解決しようとする課題】
【0007】
非特許文献3によれば、DCI format 0_1/1_1は、シングルセルにおけるシングル又はマルチPUSCH/PDSCHスケジューリング(シングルPUSCH/PDSCHスケジューリング、又はマルチPUSCH/PDSCHスケジューリングと呼ばれてもよい)を行うDCIである。DCI format 0_3/1_3は、シングルセル/マルチセルにおけるPUSCH/PDSCHスケジューリング(シングルセルPUSCH/PDSCHスケジューリング、又はマルチセルPUSCH/PDSCHスケジューリングと呼ばれてもよい)を行うDCIである。
【0008】
マルチPUSCH/PDSCHスケジューリングでは、PUSCH/PDSCHごとに、上りリンクデータ/下りリンクデータの初期送信または再送信を示す情報(NDI: New Data Indicator)及び冗長化に関する冗長バージョン(RV: Redundancy Version)をDCIで通知する。そのため、当該DCIのサイズが、シングルPUSCH/PDSCHスケジューリングを行う場合よりも増加する。
【0009】
マルチセルPUSCH/PDSCHスケジューリングでは、上述のとおりType 2フィールドが共同スケジュールされたセル(co-scheduled cells)ごとにDCIによる通知をする。そのため、当該DCIのサイズがシングルセルPUSCH/PDSCHスケジューリングを行う場合よりも増加する。
【0010】
共同スケジュールされたセル(co-scheduled cells)の数と、スケジュールされたセルあたりのPUSCH/PDSCHの数が増えると、マルチセルマルチPDSCH/PUSCHスケジューリングにおいてDCIの最大サイズ(巡回冗長検査(CRC: Cyclic Redundancy Check)を除いて140ビット)を超えてしまうおそれがある。
(【0011】以降は省略されています)
この特許をJ-PlatPat(特許庁公式サイト)で参照する
関連特許
株式会社NTTドコモ
端末
1日前
株式会社NTTドコモ
端末
2日前
株式会社NTTドコモ
端末
2日前
株式会社NTTドコモ
端末
1日前
株式会社NTTドコモ
端末
1日前
株式会社NTTドコモ
端末
2日前
株式会社NTTドコモ
端末
1日前
株式会社NTTドコモ
端末
2日前
株式会社NTTドコモ
端末
1日前
株式会社NTTドコモ
基地局
1日前
株式会社NTTドコモ
デバイス
1日前
株式会社NTTドコモ
デバイス
1日前
株式会社NTTドコモ
デバイス
2日前
株式会社NTTドコモ
デバイス
2日前
株式会社NTTドコモ
デバイス
1日前
株式会社NTTドコモ
デバイス
2日前
株式会社NTTドコモ
デバイス
2日前
株式会社NTTドコモ
端末及び基地局
1日前
株式会社NTTドコモ
基地局及び端末
1日前
株式会社NTTドコモ
端末及び基地局
1日前
株式会社NTTドコモ
端末及び基地局
1日前
株式会社NTTドコモ
基地局及び端末
1日前
株式会社NTTドコモ
端末及び通信方法
2日前
株式会社NTTドコモ
端末及び通信方法
2日前
株式会社NTTドコモ
端末及び通信方法
2日前
株式会社NTTドコモ
端末及び通信方法
2日前
株式会社NTTドコモ
端末及び通信方法
2日前
株式会社NTTドコモ
端末及び通信方法
2日前
株式会社NTTドコモ
端末及び通信方法
2日前
株式会社NTTドコモ
端末及び通信方法
2日前
株式会社NTTドコモ
端末及び通信方法
2日前
株式会社NTTドコモ
端末及び通信方法
2日前
株式会社NTTドコモ
端末及び通信方法
2日前
株式会社NTTドコモ
端末及び通信方法
2日前
株式会社NTTドコモ
端末及び通信方法
2日前
株式会社NTTドコモ
端末及び通信方法
1日前
続きを見る
他の特許を見る