TOP
|
特許
|
意匠
|
商標
特許ウォッチ
Twitter
他の特許を見る
10個以上の画像は省略されています。
公開番号
2025155612
公報種別
公開特許公報(A)
公開日
2025-10-14
出願番号
2024174656
出願日
2024-10-03
発明の名称
端末及び通信方法
出願人
株式会社NTTドコモ
代理人
弁理士法人ITOH
主分類
H04W
8/24 20090101AFI20251006BHJP(電気通信技術)
要約
【課題】無線通信システムにおいて、複数セルへの柔軟なスケジューリングをサポートすること。
【解決手段】サブキャリア間隔及びキャリアタイプの少なくとも一つが異なる複数セルへの共同スケジューリングをサポートするか否かを示す能力情報を基地局に送信する送信部と、単一のDCI(Downlink Control Information)フォーマットを前記基地局から受信する受信部を有し、前記受信部は、前記単一のDCIフォーマットに基づいて、前記複数セルにおいてスケジューリングされるPDSCH(Physical Downlink Shared Channel)を前記基地局から受信する。
【選択図】図9
特許請求の範囲
【請求項1】
サブキャリア間隔及びキャリアタイプの少なくとも一つが異なる複数セルへの共同スケジューリングをサポートするか否かを示す能力情報を基地局に送信する送信部と、
単一のDCI(Downlink Control Information)フォーマットを前記基地局から受信する受信部を有し、
前記受信部は、前記単一のDCIフォーマットに基づいて、前記複数セルにおいてスケジューリングされるPDSCH(Physical Downlink Shared Channel)を前記基地局から受信する端末。
続きを表示(約 770 文字)
【請求項2】
前記送信部は、特定のDCIフォーマットにおいて、いずれのサブキャリア間隔及びいずれのキャリアタイプを含む前記複数セルへの共同スケジューリングをサポートするか否かを示す能力情報を前記基地局に送信する請求項1記載の端末。
【請求項3】
前記送信部は、前記複数セルへの共同スケジューリングをサポートする、単一のDCIフォーマットにおける異なるサブキャリア間隔及びキャリアタイプの組み合わせの最大数を含む能力情報を前記基地局に送信する請求項1記載の端末。
【請求項4】
前記送信部は、サブキャリア間隔及びキャリアタイプが同一である複数セルへの共同スケジューリングをサポートする能力を、サブキャリア間隔及びキャリアタイプの少なくとも一つが異なる複数セルへの共同スケジューリングをサポートする場合の前提条件とする請求項1記載の端末。
【請求項5】
前記送信部は、DCIフォーマットごとに、サブキャリア間隔及びキャリアタイプの少なくとも一つが異なる複数セルへの共同スケジューリングをサポートするか否かを示す能力情報を前記基地局に送信する請求項1記載の端末。
【請求項6】
サブキャリア間隔及びキャリアタイプの少なくとも一つが異なる複数セルへの共同スケジューリングをサポートするか否かを示す能力情報を基地局に送信する手順と、
単一のDCI(Downlink Control Information)フォーマットを前記基地局から受信する手順と、
前記単一のDCIフォーマットに基づいて、前記複数セルにおいてスケジューリングされるPDSCH(Physical Downlink Shared Channel)を前記基地局から受信する手順とを端末が実行する通信方法。
発明の詳細な説明
【技術分野】
【0001】
本発明は、無線通信システムにおける端末及び通信方法に関する。
続きを表示(約 2,400 文字)
【背景技術】
【0002】
LTE(Long Term Evolution)の後継システムであるNR(New Radio)(「5G」ともいう。)においては、要求条件として、大容量のシステム、高速なデータ伝送速度、低遅延、多数の端末の同時接続、低コスト、省電力等を満たす技術が検討されている(例えば非特許文献1)。
【0003】
例えば、下りリンク制御情報(DCI:Downlink Control Information)に関して、3GPP(登録商標)リリース16/17では、複数スロットによって送信されるPDSCH(Physical Downlink Shared Channel)/PUSCH(Physical Uplink Shared Channel)を単一のDCIによってスケジューリングする機能、シングルDCIマルチスロットPDSCH/PUSCHスケジューリング(single DCI multi-slot PDSCH/PUSCH schedulingと呼ぶ)が規定されている(例えば非特許文献2)。
【0004】
また3GPPリリース18では、複数コンポーネントキャリア(CC)によって送信されるPDSCH/PUSCHを単一のDCIによってスケジューリングする機能の導入が検討されている(例えば非特許文献3)。このような機能は、シングルDCIマルチキャリアPDSCH/PUSCHスケジューリング(Single DCI Multi-carrier PDSCH/PUSCH scheduling)又はシングルDCIマルチセルPDSCH/PUSCHスケジューリング(Single DCI Multi-Cell PDSCH/PUSCH scheduling)等と呼ばれている(以下では、シングルDCIマルチキャリアPDSCH/PUSCHスケジューリングと記載する)。なお、PDSCH/PUSCHは、PDSCH及び/又はPUSCHに置換されてもよい。
【先行技術文献】
【非特許文献】
【0005】
3GPP TS 38.300 V18.3.0 (2024-09)
3GPP TS 38.212 V17.4.0 (2022-12)
"New WID on Multi-carrier enhancements", RP-213577, 3GPP TSG RAN Meeting #94e, 3GPP, 2021年12月
"New WID on Multi-carrier enhancements for NR Phase 2", RP-242408, 3GPP TSG RAN Meeting #105, 3GPP, 2024年9月
3GPP TS 38.306 V18.3.0 (2024-09)
3GPP TS 38.331 V18.3.0 (2024-09)
【発明の概要】
【発明が解決しようとする課題】
【0006】
異なるサブキャリア間隔及び/又はキャリアタイプを有する複数セルへの共同スケジューリング(co-scheduling)をサポートすることが検討されている(非特許文献4参照)。当該共同スケジューリングをサポートする場合、当該スケジューリングをサポートすることを示すUE能力シグナリングを規定することが必要となる。
【0007】
本発明は上記の点に鑑みてなされたものであり、無線通信システムにおいて、複数セルへの柔軟なスケジューリングをサポートすることを目的とする。
【課題を解決するための手段】
【0008】
開示の技術によれば、サブキャリア間隔及びキャリアタイプの少なくとも一つが異なる複数セルへの共同スケジューリングをサポートするか否かを示す能力情報を基地局に送信する送信部と、単一のDCI(Downlink Control Information)フォーマットを前記基地局から受信する受信部を有し、前記受信部は、前記単一のDCIフォーマットに基づいて、前記複数セルにおいてスケジューリングされるPDSCH(Physical Downlink Shared Channel)を前記基地局から受信する端末が提供される。
【発明の効果】
【0009】
開示の技術によれば、無線通信システムにおいて、複数セルへの柔軟なスケジューリングをサポートすることができる。
【図面の簡単な説明】
【0010】
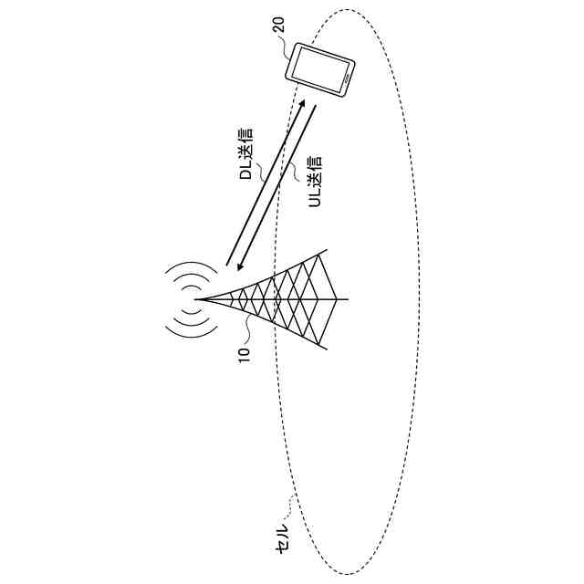
無線通信システムの構成例を示す図である。
本発明の実施の形態に係る周波数帯域の例を示す図である。
本発明の実施の形態に係る無線フレームの例を示す図である。
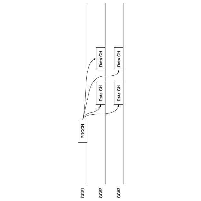
本発明の実施の形態に係るスケジューリングの例(1)を示す図である。
本発明の実施の形態に係るスケジューリングの例(2)を示す図である。
本発明の実施の形態に係るPDCCHモニタリングの例を示す図である。
本発明の実施の形態に係るスケジューリングの例(3)を示す図である。
本発明の実施の形態に係るスケジューリングの例(4)を示す図である。
本発明の実施の形態に係る異なるSCS及びキャリアタイプを有する複数セルへの共同スケジューリングの例を説明するためのフローチャートである。
本発明の実施の形態に係る基地局10の機能構成の一例を示す図である。
本発明の実施の形態に係る端末20の機能構成の一例を示す図である。
本発明の実施の形態に係る基地局10又は端末20のハードウェア構成の一例を示す図である。
本発明の実施の形態における車両2001の構成の一例を示す図である。
【発明を実施するための形態】
(【0011】以降は省略されています)
この特許をJ-PlatPat(特許庁公式サイト)で参照する
関連特許
株式会社NTTドコモ
端末
今日
株式会社NTTドコモ
端末
今日
株式会社NTTドコモ
端末
1日前
株式会社NTTドコモ
端末
今日
株式会社NTTドコモ
端末
今日
株式会社NTTドコモ
端末
1日前
株式会社NTTドコモ
端末
1日前
株式会社NTTドコモ
端末
1日前
株式会社NTTドコモ
端末
今日
株式会社NTTドコモ
基地局
今日
株式会社NTTドコモ
デバイス
1日前
株式会社NTTドコモ
デバイス
今日
株式会社NTTドコモ
デバイス
1日前
株式会社NTTドコモ
デバイス
1日前
株式会社NTTドコモ
デバイス
今日
株式会社NTTドコモ
デバイス
今日
株式会社NTTドコモ
デバイス
1日前
株式会社NTTドコモ
情報処理装置
7日前
株式会社NTTドコモ
リニアライザ
8日前
株式会社NTTドコモ
端末及び基地局
今日
株式会社NTTドコモ
端末及び基地局
今日
株式会社NTTドコモ
基地局及び端末
今日
株式会社NTTドコモ
端末及び基地局
今日
株式会社NTTドコモ
基地局及び端末
今日
株式会社NTTドコモ
装置および方法
13日前
株式会社NTTドコモ
端末及び通信方法
1日前
株式会社NTTドコモ
端末及び通信方法
1日前
株式会社NTTドコモ
端末及び通信方法
1日前
株式会社NTTドコモ
端末及び通信方法
1日前
株式会社NTTドコモ
端末及び通信方法
1日前
株式会社NTTドコモ
端末及び通信方法
1日前
株式会社NTTドコモ
端末及び通信方法
1日前
株式会社NTTドコモ
端末及び通信方法
1日前
株式会社NTTドコモ
端末及び通信方法
1日前
株式会社NTTドコモ
端末及び通信方法
1日前
株式会社NTTドコモ
端末及び通信方法
1日前
続きを見る
他の特許を見る