TOP
|
特許
|
意匠
|
商標
特許ウォッチ
Twitter
他の特許を見る
10個以上の画像は省略されています。
公開番号
2025156314
公報種別
公開特許公報(A)
公開日
2025-10-14
出願番号
2025079028
出願日
2025-05-09
発明の名称
端末及び通信方法
出願人
株式会社NTTドコモ
代理人
弁理士法人ITOH
主分類
H04W
72/23 20230101AFI20251006BHJP(電気通信技術)
要約
【課題】無線通信システムにおいて、追加のPRACHリソースのサブセットを識別するためのPRACHマスクを適用する際の手順を明確化すること。
【解決手段】端末は、基地局から、追加で有効化するPRACH(Physical Random Access Channel)のリソースを指定する指定情報を含む下り制御情報を受信する受信部と、前記指定情報に基づいて、指定されるAP(PRACH association period)を決定する制御部と、を有し、前記制御部は、前記指定情報で指定されるAPの数が1以上の整数であることを想定する。
【選択図】図7
特許請求の範囲
【請求項1】
基地局から、追加で有効化するPRACH(Physical Random Access Channel)のリソースを指定する指定情報を含む下り制御情報を受信する受信部と、
前記指定情報に基づいて、指定されるAP(PRACH association period)を決定する制御部と、
を有し、
前記制御部は、前記指定情報で指定されるAPの数が1以上の整数であることを想定する、
端末。
続きを表示(約 970 文字)
【請求項2】
前記制御部は、前記指定情報に基づいて算出されるAPの数が小数値である場合、
前記小数値の小数点以下を切り上げる、又は、前記小数値の小数点以下を切り捨てる、又は、前記小数値に最も近い整数値を選択する、ことによりAPの数を決定する、
請求項1に記載の端末。
【請求項3】
前記制御部は、前記指定情報で指定されるPRACHのマスクインデックスごとに、前記マスクインデックスが適用されるAPP(PRACH association period pattern)の数と、PRACHの設定周期と、の組合せが設定されることを想定する、
請求項1に記載の端末。
【請求項4】
基地局から、追加で有効化するPRACH(Physical Random Access Channel)のリソースを有効化する設定情報を含むシステム情報と、前記システム情報の変更を示す指示と、を受信する受信部と、
前記有効化するPRACHのリソースは、設定された時間基準点から有効又は無効となることを想定する制御部と、
を有し、
前記制御部は、現在のアイドル状態における間欠受信サイクルにおいて、前記システム情報の更新を示す指示を受信した場合、現在又は次のアイドル状態における間欠受信サイクルの最初又は最後のフレームの開始又は終了を前記時間基準点とする、
端末。
【請求項5】
前記制御部は、過去に受信した前記設定情報、及び/又は、新規に受信した前記設定情報に基づいて、レガシーのPRACHリソース、及び/又は、追加のPRACHリソースが有効化されることを想定する、
請求項4に記載の端末。
【請求項6】
基地局から、追加で有効化するPRACH(Physical Random Access Channel)のリソースを指定する指定情報を含む下り制御情報を受信するステップと、
前記指定情報に基づいて、指定されるAP(PRACH association period)を決定するステップと、
前記指定情報で指定されるAPの数が1以上の整数であることを想定するステップと、
を有する端末が実行する通信方法。
発明の詳細な説明
【技術分野】
【0001】
本発明は、通信システムにおける端末及び通信方法に関する。
続きを表示(約 1,600 文字)
【背景技術】
【0002】
3GPP(登録商標)規格に基づく無線通信システムであるNR(New Radio)(「5G」ともいう)及びNRの後継のシステム(例えば「6G」)においては、要求条件として、大容量のシステム、高速なデータ伝送速度、低遅延、多数の端末の同時接続、低コスト、省電力等を満たす技術が検討されている。
【0003】
NRでは、LTE(Long Term Evolution)のネットワークアーキテクチャにおけるコアネットワークであるEPC(Evolved Packet Core)に対応する5GC(5G Core Network)及びLTEのネットワークアーキテクチャにおけるRAN(Radio Access Network)であるE-UTRAN(Evolved Universal Terrestrial Radio Access Network)に対応するNG-RAN(Next Generation - Radio Access Network)を含むネットワークアーキテクチャが検討されている(例えば非特許文献1)。
【0004】
また、3GPP Rel-19では、NES(Network Energy Saving)に関するワーキングアイテムにおいて、共通の信号/チャネルの送信(common signal/channel transmission)に関するアイテムとして、時間領域における物理ランダムアクセスチャネルの適応(Adaptation of PRACH in time domain)が議論されている。
【先行技術文献】
【非特許文献】
【0005】
3GPP TS 38.300 V18.5.0(2025-03)
3GPP TS 38.331 V18.5.0(2025-03)
3GPP TS 38.212 V18.6.0(2025-03)
【発明の概要】
【発明が解決しようとする課題】
【0006】
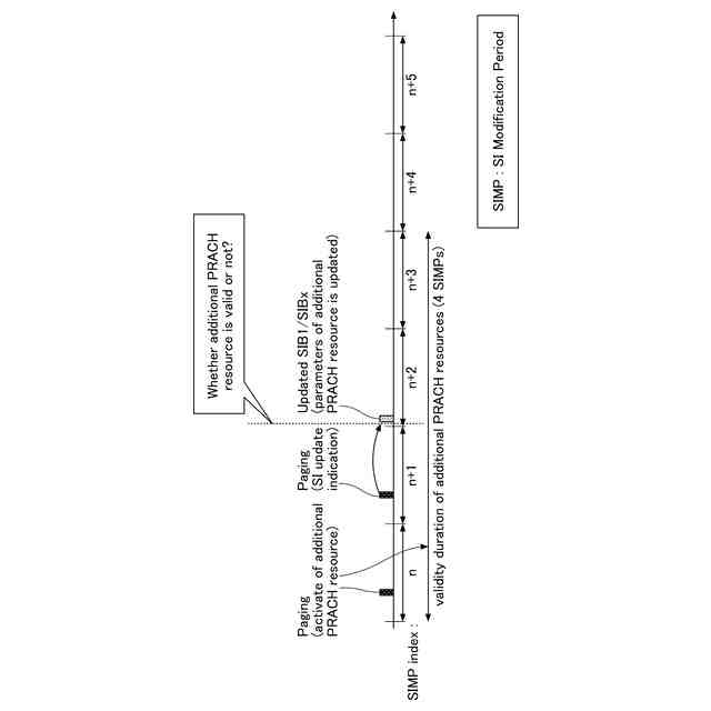
3GPPでは、下りリンク制御情報(Downlink Control Information(DCI))に含まれる情報(PRACHマスクインデックス)に基づいて、追加の物理ランダムアクセスチャネル(Physical Random Access Channel(PRACH))リソースを指定する方法が検討されている。また、設定された追加PRACHリソースの有効期間は、上位シグナリングにより、当該DCIを含むシステム情報(System Information(SI))の更新周期の整数倍に設定することが検討されている。
【0007】
しかしながら、現在、検討されている追加のPRACHリソースの設定において、明確でない点が含まれることから、適切に設定が実行できない可能がある。
【0008】
本発明は上記の点に鑑みてなされたものであり、無線通信システムにおいて、追加のPRACHリソースを設定することを目的とする。
【課題を解決するための手段】
【0009】
開示の技術によれば、基地局から、追加で有効化するPRACH(Physical Random Access Channel)のリソースを指定する指定情報を含む下り制御情報を受信する受信部と、前記指定情報に基づいて、指定されるAP(PRACH association period)を決定する制御部と、を有し、前記制御部は、前記指定情報で指定されるAPの数が1以上の整数であることを想定する端末が提供される。
【発明の効果】
【0010】
開示の技術によれば、無線通信システムにおいて、追加のPRACHリソースを設定することができる。
【図面の簡単な説明】
(【0011】以降は省略されています)
この特許をJ-PlatPat(特許庁公式サイト)で参照する
関連特許
個人
イヤーピース
13日前
個人
イヤーマフ
27日前
個人
監視カメラシステム
1か月前
個人
スイッチシステム
21日前
キーコム株式会社
光伝送線路
1か月前
サクサ株式会社
中継装置
1か月前
個人
スキャン式車載用撮像装置
1か月前
WHISMR合同会社
収音装置
2か月前
サクサ株式会社
中継装置
1か月前
キヤノン株式会社
撮像装置
2か月前
アイホン株式会社
電気機器
2か月前
株式会社リコー
画像形成装置
3か月前
ヤマハ株式会社
放音制御装置
21日前
株式会社リコー
画像形成装置
2か月前
個人
ワイヤレスイヤホン対応耳掛け
2か月前
キヤノン電子株式会社
画像読取装置
21日前
個人
映像表示装置、及びARグラス
22日前
キヤノン電子株式会社
画像読取装置
13日前
株式会社リコー
画像形成装置
29日前
サクサ株式会社
無線通信装置
1か月前
キヤノン電子株式会社
画像読取装置
1か月前
サクサ株式会社
無線通信装置
1か月前
キヤノン電子株式会社
画像読取装置
2か月前
株式会社リコー
画像形成装置
2か月前
サクサ株式会社
無線システム
1か月前
キヤノン電子株式会社
シート搬送装置
13日前
個人
発信機及び発信方法
1か月前
日本電気株式会社
海底分岐装置
1か月前
ブラザー工業株式会社
読取装置
3か月前
キヤノン株式会社
撮像システム
2か月前
キヤノン株式会社
画像処理装置
16日前
シャープ株式会社
端末装置
1か月前
株式会社NTTドコモ
端末
1か月前
パテントフレア株式会社
超高速電波通信
2か月前
株式会社JVCケンウッド
通信システム
1か月前
株式会社NTTドコモ
端末
1か月前
続きを見る
他の特許を見る