TOP
|
特許
|
意匠
|
商標
特許ウォッチ
Twitter
他の特許を見る
10個以上の画像は省略されています。
公開番号
2025156277
公報種別
公開特許公報(A)
公開日
2025-10-14
出願番号
2025060842
出願日
2025-04-01
発明の名称
端末及び通信方法
出願人
株式会社NTTドコモ
代理人
弁理士法人ITOH
主分類
H04W
8/24 20090101AFI20251006BHJP(電気通信技術)
要約
【課題】無線通信システムにおいて、L1 CLI測定リソースに関する端末能力を規定すること。
【解決手段】端末は、同時に使用する又は有効化するレイヤ1 CLI(Cross Link Interference)測定リソース数に関する端末能力を、報告するか否かを決定する制御部と、前記端末能力を報告すると決定した場合、前記端末能力を示す能力情報を基地局に送信する送信部とを有し、前記制御部は、前記端末能力を報告しないと決定した場合、スロットあたりのアクティブなレイヤ1 CLI測定リソースの最大数は、自装置に設定したレイヤ1 CLI測定リソースのサポートする最大数と等しいことを想定する。
【選択図】図1
特許請求の範囲
【請求項1】
同時に使用する又は有効化するレイヤ1 CLI(Cross Link Interference)測定リソース数に関する端末能力を、報告するか否かを決定する制御部と、
前記端末能力を報告すると決定した場合、前記端末能力を示す能力情報を基地局に送信する送信部と
を有し、
前記制御部は、前記端末能力を報告しないと決定した場合、スロットあたりのアクティブなレイヤ1 CLI測定リソースの最大数は、自装置に設定したレイヤ1 CLI測定リソースのサポートする最大数と等しいことを想定する、端末。
続きを表示(約 1,400 文字)
【請求項2】
前記制御部は、前記端末能力は、同時に使用する又は有効化するレイヤ1 CLI測定リソース数と、同時に使用するNZP(Non Zero Power) CSI-RS(Channel State Information-Reference Signal)リソース数と、が合算されることを想定する、
請求項1に記載の端末。
【請求項3】
同時に使用する又は有効化するレイヤ1 CLI(Cross Link Interference)測定リソースのポート数に関する端末能力を決定する制御部と、
前記端末能力を示す能力情報を基地局に送信する送信部と
を有する端末。
【請求項4】
前記制御部は、前記端末能力は、同時に使用する又は有効化するレイヤ1 CLI測定リソースのポート数と、同時に使用するNZP(Non Zero Power) CSI-RS(Channel State Information-Reference Signal)リソースのポート数と、が合算されることを想定する、
請求項3に記載の端末。
【請求項5】
レイヤ1 CLI(Cross Link Interference)測定リソースが有効化される時間区間を決定して、前記時間区間におけるレイヤ1 CLI測定リソースにおいて、SRS-RSRP(Sounding Reference Signal - Reference Signal Received Power)とCLI-RSSI(Received Signal Strength Indicator)の測定を実行する制御部と、
前記測定の結果を基地局に送信する送信部と、
を有し、
前記制御部は、
レイヤ1 CLI測定リソースが、非周期的L1 CLIリソースの場合、
前記時間区間は、要求を含む物理下りリンク制御チャネルの終点から開始し、前記非周期的L1 CLIリソースに関連付けられた報告を含むスケジューリングされた物理上りリンクデータチャネルの終点で終了すると想定し、
レイヤ1 CLI測定リソースが、準周期的L1 CLIリソースの場合、
前記時間区間は、アクティブ化コマンドが適用される終点から開始し、非アクティブ化コマンドが適用される終点で終了すると想定し、
レイヤ1 CLI測定リソースが、周期的L1 CLIリソースの場合、
前記時間区間は、周期的L1 CLIリソースが上位層シグナリングによって構成される際に開始し、周期的L1 CLIリソース設定が解放される際に終了すると想定する、端末。
【請求項6】
同時に使用する又は有効化するレイヤ1 CLI(Cross Link Interference)測定リソース数に関する端末能力を、報告するか否かを決定するステップと、
前記端末能力を報告すると決定した場合、前記端末能力を示す能力情報を基地局に送信するステップと
前記端末能力を報告しないと決定した場合、スロットあたりのアクティブなレイヤ1 CLI測定リソースの最大数は、自装置に設定したレイヤ1 CLI測定リソースのサポートする最大数と等しいことを想定するステップと、
を有する端末が実行する通信方法。
発明の詳細な説明
【技術分野】
【0001】
本発明は、無線通信システムにおける端末及び通信方法に関する。
続きを表示(約 1,800 文字)
【背景技術】
【0002】
3GPP(登録商標)(3rd Generation Partnership Project)では、システム容量の更なる大容量化、データ伝送速度の更なる高速化、無線区間における更なる低遅延化等を実現するために、5GあるいはNR(New Radio)と呼ばれる無線通信方式(以下、当該無線通信方式を「NR」という。)の検討が進んでいる。5Gでは、10Gbps以上のスループットを実現しつつ無線区間の遅延を1ms以下にするという要求条件を満たすために、様々な無線技術及びネットワークアーキテクチャの検討が行われている(例えば、非特許文献1及び非特許文献2)。
【0003】
Release 18において、時分割複信(TDD)のバンドを構成する複数のサブバンドを利用することにより、下りリンク(DL)と上りリンク(UL)との同時使用を可能にする複信方式の拡張が議論されている。このような拡張された複信方式は、Subband non-overlapping Full Duplex(SBFD)と呼ばれている。
【0004】
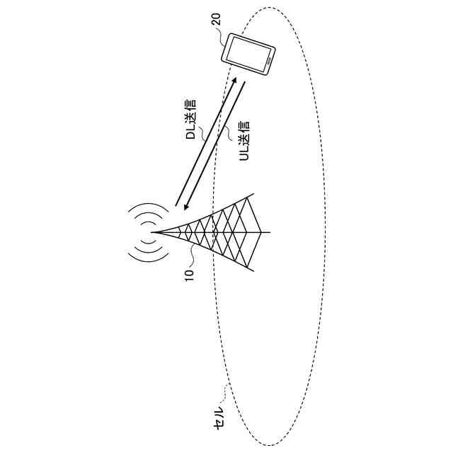
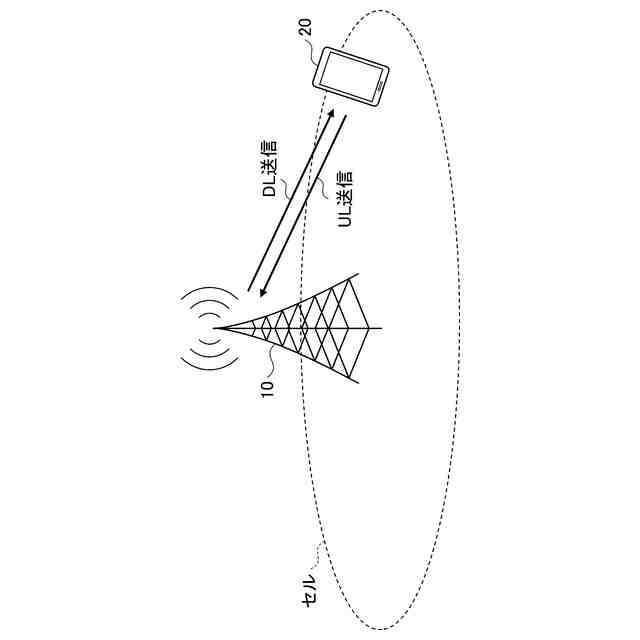
SBFDと動的/フレキシブルTDDの導入により、基地局(以下、gNodeB(gNB)ともいう)/端末(以下、ユーザ装置(UE)ともいう)からのDL/UL送信が同時に可能になった。
【0005】
一方で、複信方式の拡張により、Cross Link Interference(CLI)が発生することになった。また、セル毎にDL送信、UL送信のタイミングが異なるダイナミックTDDにおいてもCLIが発生する。
【0006】
これらの通信方式では、CLI対策のため、端末が、CLI measurementを行い、基地局に、L1(Layer 1)ベースのCLI measurementの結果報告(以下、「L1-CLI報告」という)を行う。
【先行技術文献】
【非特許文献】
【0007】
3GPP TS 38.300 V18.4.0(2024-12)
3GPP TS 38.401 V18.4.0(2024-12)
3GPP TS 38.214 V18.4.0(2024-09)
3GPP TS 38.306 V18.6.0(2025-03)
3GPP TS 38.331 V18.5.0(2025-03)
【発明の概要】
【発明が解決しようとする課題】
【0008】
3GPP Rel-19において、L1 CLI-RSSI(Received Signal Strength Indicator)測定リソース及びL1 SRS-RSRP(Sounding Reference Signal - Reference Signal Received Power)測定リソースの導入が検討されている。ここで、L1-CLI報告(特にL1 SRS-RSRP測定)が、既存の測定報告(L1-RSPR/SINR(Signal-to-Interference-plus-Noise Ratio)報告)に非常に類似していることから、既存の測定報告と同様に、例えば、アクティブなL1 CLI測定リソースとポートの最大数が、端末能力による制限が必要となる可能性がある。
【0009】
本発明は上記の点に鑑みてなされたものであり、無線通信システムにおいて、L1 CLI測定リソースに関する端末能力を規定することを目的とする。
【課題を解決するための手段】
【0010】
開示の技術によれば、同時に使用する又は有効化するレイヤ1 CLI(Cross Link Interference)測定リソース数に関する端末能力を、報告するか否かを決定する制御部と、前記端末能力を報告すると決定した場合、前記端末能力を示す能力情報を基地局に送信する送信部とを有し、前記制御部は、前記端末能力を報告しないと決定した場合、スロットあたりのアクティブなレイヤ1 CLI測定リソースの最大数は、自装置に設定したレイヤ1 CLI測定リソースのサポートする最大数と等しいことを想定する端末が提供される。
【発明の効果】
(【0011】以降は省略されています)
この特許をJ-PlatPat(特許庁公式サイト)で参照する
関連特許
株式会社NTTドコモ
端末
今日
株式会社NTTドコモ
端末
今日
株式会社NTTドコモ
端末
今日
株式会社NTTドコモ
端末
1日前
株式会社NTTドコモ
端末
1日前
株式会社NTTドコモ
端末
今日
株式会社NTTドコモ
端末
1日前
株式会社NTTドコモ
端末
1日前
株式会社NTTドコモ
端末
今日
株式会社NTTドコモ
基地局
今日
株式会社NTTドコモ
デバイス
1日前
株式会社NTTドコモ
デバイス
1日前
株式会社NTTドコモ
デバイス
今日
株式会社NTTドコモ
デバイス
今日
株式会社NTTドコモ
デバイス
1日前
株式会社NTTドコモ
デバイス
1日前
株式会社NTTドコモ
デバイス
今日
株式会社NTTドコモ
端末及び基地局
今日
株式会社NTTドコモ
端末及び基地局
今日
株式会社NTTドコモ
基地局及び端末
今日
株式会社NTTドコモ
端末及び基地局
今日
株式会社NTTドコモ
基地局及び端末
今日
株式会社NTTドコモ
端末及び通信方法
1日前
株式会社NTTドコモ
端末及び通信方法
今日
株式会社NTTドコモ
端末及び通信方法
1日前
株式会社NTTドコモ
端末及び通信方法
今日
株式会社NTTドコモ
端末及び通信方法
今日
株式会社NTTドコモ
端末及び通信方法
今日
株式会社NTTドコモ
端末及び通信方法
1日前
株式会社NTTドコモ
端末及び通信方法
今日
株式会社NTTドコモ
端末及び通信方法
1日前
株式会社NTTドコモ
端末及び通信方法
1日前
株式会社NTTドコモ
端末及び通信方法
今日
株式会社NTTドコモ
端末及び通信方法
今日
株式会社NTTドコモ
端末及び通信方法
1日前
株式会社NTTドコモ
端末及び通信方法
今日
続きを見る
他の特許を見る