TOP
|
特許
|
意匠
|
商標
特許ウォッチ
Twitter
他の特許を見る
10個以上の画像は省略されています。
公開番号
2025157064
公報種別
公開特許公報(A)
公開日
2025-10-15
出願番号
2024181402
出願日
2024-10-17
発明の名称
端末及び通信方法
出願人
株式会社NTTドコモ
代理人
弁理士法人ITOH
主分類
H04W
72/0446 20230101AFI20251007BHJP(電気通信技術)
要約
【課題】マルチキャリアスケジューリングにおいて効率的な動作を行う。
【解決手段】時間領域リソース割り当てに関する制御情報を含む下り制御情報を受信する受信部と、前記下り制御情報に基づいて、複数の物理上りリンク共有チャネル及び複数の物理下りリンク共有チャネルのうち少なくとも一方の時間領域リソースを特定する制御部と、を有し、前記時間領域リソース割り当ては、複数のセルそれぞれに対する、前記複数の物理上りリンク共有チャネル及び前記複数の物理下りリンク共有チャネルのうち少なくとも一方をスケジューリングするための、ジョイント時間領域リソース割り当てテーブルであり、前記下り制御情報に含まれる特定のフィールドのビット数は、前記ジョイント時間領域リソース割り当てテーブルのインデックス内の各エントリにおいて設定される、前記複数の物理上りリンク共有チャネル及び前記複数の物理下りリンク共有チャネルのうち少なくとも一方の数の組み合わせの最大ビット数に設定される端末である。
【選択図】図10
特許請求の範囲
【請求項1】
時間領域リソース割り当てに関する制御情報を含む下り制御情報を受信する受信部と、
前記下り制御情報に基づいて、複数の物理上りリンク共有チャネル及び複数の物理下りリンク共有チャネルのうち少なくとも一方の時間領域リソースを特定する制御部と、を有し、
前記時間領域リソース割り当ては、複数のセルそれぞれに対する、前記複数の物理上りリンク共有チャネル及び前記複数の物理下りリンク共有チャネルのうち少なくとも一方をスケジューリングするための、ジョイント時間領域リソース割り当てテーブルであり、
前記下り制御情報に含まれる特定のフィールドのビット数は、前記ジョイント時間領域リソース割り当てテーブルのインデックス内の各エントリにおいて設定される、前記複数の物理上りリンク共有チャネル及び前記複数の物理下りリンク共有チャネルのうち少なくとも一方の数の組み合わせの最大ビット数に設定される、端末。
続きを表示(約 1,100 文字)
【請求項2】
前記ジョイント時間領域リソース割り当てテーブルのインデックスに対応する、前記特定のフィールドの合計ビット数は、前記ジョイント時間領域リソース割り当てテーブルの各インデックスのうち、前記複数の物理上りリンク共有チャネル及び前記複数の物理下りリンク共有チャネルのうち少なくとも一方の合計数が最も多いインデックスに基づいて設定される、請求項1に記載の端末。
【請求項3】
前記ジョイント時間領域リソース割り当てテーブルのインデックスに対応する、前記特定のフィールドの合計ビット数は、前記ジョイント時間領域リソース割り当てテーブルの各インデックスにおける、前記複数の物理上りリンク共有チャネル及び前記複数の物理下りリンク共有チャネルのうち少なくとも一方の合計数に基づいて設定される、請求項1に記載の端末。
【請求項4】
前記ジョイント時間領域リソース割り当てテーブルのインデックスに対応する、前記特定のフィールド内のビットの順序は、前記ジョイント時間領域リソース割り当てテーブルのインデックス内の各エントリ内の、各物理上りリンク共有チャネル及び各物理下りリンク共有チャネルのインデックスに対して昇順または降順に設定される、請求項1に記載の端末。
【請求項5】
前記特定のフィールドにおいて、前記ジョイント時間領域リソース割り当てテーブルのインデックス内の各エントリに対応するビットの位置の割り当ては、前記ジョイント時間領域リソース割り当てテーブルにて参照される時間領域リソース割り当てテーブルに基づいて設定される、請求項1に記載の端末。
【請求項6】
時間領域リソース割り当てに関する制御情報を含む下り制御情報を受信するステップと、
前記下り制御情報に基づいて、複数の物理上りリンク共有チャネル及び複数の物理下りリンク共有チャネルのうち少なくとも一方の時間領域リソースを特定するステップと、を有し、
前記時間領域リソース割り当ては、複数のセルそれぞれに対する、前記複数の物理上りリンク共有チャネル及び前記複数の物理下りリンク共有チャネルのうち少なくとも一方をスケジューリングするための、ジョイント時間領域リソース割り当てテーブルであり、
前記下り制御情報に含まれる特定のフィールドのビット数は、前記ジョイント時間領域リソース割り当てテーブルのインデックス内の各エントリにおいて設定される、前記複数の物理上りリンク共有チャネル及び前記複数の物理下りリンク共有チャネルのうち少なくとも一方の数の組み合わせの最大ビット数に設定される、端末により実行される通信方法。
発明の詳細な説明
【技術分野】
【0001】
本発明は、無線通信システムにおける端末及び通信方法に関連するものである。
続きを表示(約 2,000 文字)
【背景技術】
【0002】
3GPP(登録商標)(3rd Generation Partnership Project)では、システム容量の更なる大容量化、データ伝送速度の更なる高速化及び無線区間における更なる低遅延化等を実現するための技術の標準化が行われている(例えば、非特許文献1及び非特許文献2)。
【0003】
当該技術のうち、マルチキャリア拡張(MCE: Multi-Carrier Enhancements)として、3GPP Release 18では、シグナリングのオーバヘッド削減のため、マルチキャリアスケジューリング(マルチセルスケジューリングと呼ばれてもよい)が規定された。マルチキャリアスケジューリングは、1つの下り制御情報(DCI: Downlink Control Information)で複数のセル(マルチセル)をスケジューリングすることを可能にする(例えば、非特許文献3及び非特許文献4)。
【0004】
3GPP Release 18では、マルチキャリアスケジューリングにてスケジューリングされる、各セルにおける物理上りリンク制御チャネル(PUCCH: Physical Uplink Control Channel)/物理下りリンク共有チャネル(PDSCH: Physical Downlink Shared Channel)は、1つに制限されていた(マルチセルシングルPUSCH/PDSCHスケジューリング、あるいはマルチPUSCH/PDSCHスケジューリングと呼ばれてもよい)。しかし、3GPP Release 19では、マルチキャリアスケジューリングは、各セルにおいて複数のPUSCH/PDSCHをスケジューリングすることが可能となった(マルチセルマルチPUSCH/PDSCHスケジューリングと呼ばれてもよい)。
【先行技術文献】
【非特許文献】
【0005】
3GPP TS 38.300 V18.2.0(2024-06)
3GPP TS 38.401 V18.2.0(2024-06)
3GPP TS 38.212 V18.2.0(2024-06)
3GPP TS 38.331 V18.2.0(2024-06)
【発明の概要】
【発明が解決しようとする課題】
【0006】
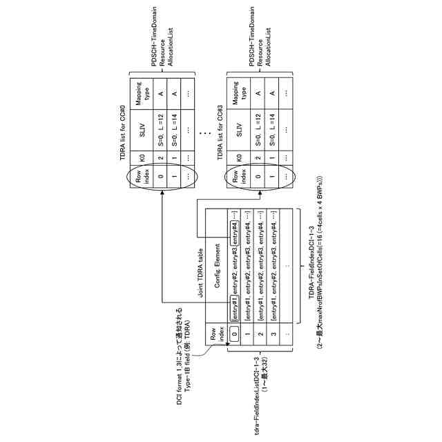
非特許文献4に示されるように、マルチキャリアスケジューリングで使用されるジョイント時間領域リソース割り当て(Joint TDRA(Time Domain Resource Allocation))テーブルの1以上のエントリを含むインデックスのうち、どのインデックスを使用するかは、DCI format 0_3/1_3によって通知される。また、ジョイントTDRAテーブルのエントリは、DCI format 0_1/1_1によるスケジューリング時に使用されるTDRAテーブルのインデックスである。
【0007】
非特許文献3に示されるように、DCI format 0_1/1_1によるスケジューリング(例えば、シングルセルマルチPUSCH/PDSCHスケジューリング)では、NDI(New Data Indicator)及びRV(Redundancy Version)をDCI format 0_1/1_1で通知する。係る場合、NDIビット数及びRVビット数は、スケジュールされたPUSCH数/PDSCH数が1でなければ、全エントリ中でスケジューリングが可能なPUSCH/PDSCHの最大数分必要である。
【0008】
非特許文献3に示されるように、DCI format 0_3/1_3によるスケジューリング(例えば、マルチセルシングルPUSCH/PDSCHスケジューリング)では、NDI及びRVをDCI format 0_3/1_3で通知する。係る場合、NDIビット数及びRVビット数は、トランスポートブロック(TB)ごと(セルごと)にスケジュールされたセル数分必要である。
【0009】
ここで、NDIは、リソースを割り当てたデータ信号が、とあるコードワード(CW)の初回送信なのか再送なのかを示す、下り制御信号中の通知ビットである。RVは、送信側で変調および符号化した信号のうち、実際に送信された部分を示す、下り制御信号中の通知ビットである。
【0010】
マルチセルマルチPUSCH/PDSCHスケジューリングにおけるDCIに必要なNDIビット数及びRVビット数について、既存の仕様を適用する場合、NDIビット数及びRVビット数は、実際に設定可能な最大数より大きなビット数になってしまうおそれがある。これにより、効率的なリソース割り当てが困難になる。
(【0011】以降は省略されています)
この特許をJ-PlatPat(特許庁公式サイト)で参照する
関連特許
株式会社NTTドコモ
推定装置
21日前
株式会社NTTドコモ
携帯端末
21日前
株式会社NTTドコモ
情報処理装置
21日前
株式会社NTTドコモ
情報処理装置
23日前
株式会社NTTドコモ
移動通信端末
14日前
株式会社NTTドコモ
端末及び通信方法
2日前
株式会社NTTドコモ
端末及び通信方法
3日前
株式会社NTTドコモ
端末及び通信方法
3日前
株式会社NTTドコモ
端末及び通信方法
6日前
株式会社NTTドコモ
端末及び通信方法
27日前
株式会社NTTドコモ
端末及び通信方法
1日前
株式会社NTTドコモ
端末及び通信方法
27日前
株式会社NTTドコモ
情報処理装置及び方法
15日前
株式会社NTTドコモ
情報処理装置及び方法
15日前
株式会社NTTドコモ
情報処理装置及び方法
今日
株式会社NTTドコモ
管理装置及び管理方法
6日前
株式会社NTTドコモ
管理装置及び管理方法
6日前
株式会社NTTドコモ
管理装置及び管理方法
6日前
株式会社NTTドコモ
生成システム及び生成方法
13日前
株式会社NTTドコモ
端末、基地局及び通信方法
27日前
株式会社NTTドコモ
情報処理装置及び情報処理方法
27日前
株式会社NTTドコモ
測位支援装置及び測位支援方法
8日前
株式会社NTTドコモ
電力監視装置、及び、電力監視方法
8日前
株式会社NTTドコモ
基地局、ネットワークノード及び端末
27日前
株式会社NTTドコモ
最適化支援装置および最適化支援方法
21日前
株式会社NTTドコモ
端末
8日前
株式会社NTTドコモ
太陽電池の配置支援装置及び太陽電池の配置支援方法
6日前
株式会社NTTドコモ
端末
2日前
株式会社NTTドコモ
端末及び通信方法
15日前
株式会社NTTドコモ
端末及び通信方法
15日前
株式会社NTTドコモ
通信制御方法、端末、通信制御装置、通信制御システム、通信制御プログラム
13日前
株式会社NTTドコモ
端末、通信システム及び通信方法
15日前
株式会社NTTドコモ
無線通信ノード、および、無線通信方法
23日前
株式会社NTTドコモ
端末、基地局、通信システム及び通信方法
15日前
株式会社NTTドコモ
端末、無線通信方法、基地局及びシステム
15日前
株式会社NTTドコモ
端末、無線通信システム及び無線通信方法
8日前
続きを見る
他の特許を見る