TOP
|
特許
|
意匠
|
商標
特許ウォッチ
Twitter
他の特許を見る
公開番号
2025161888
公報種別
公開特許公報(A)
公開日
2025-10-24
出願番号
2025135560
出願日
2025-08-15
発明の名称
端末及び通信方法
出願人
株式会社NTTドコモ
代理人
弁理士法人ITOH
主分類
H04W
36/08 20090101AFI20251017BHJP(電気通信技術)
要約
【課題】NTN(Non-Terrestrial Network)においてモビリティを適切に実行すること。
【解決手段】端末は、NTN(Non-Terrestrial Network)環境において、GNSS(Global Navigation Satellite System)情報を利用しない場合のモビリティに係るパラメータを決定する制御部と、前記パラメータを使用して、ハンドオーバ又はCHO(Conditional handover)を実行する通信部とを有する。
【選択図】図5
特許請求の範囲
【請求項1】
NTN(Non-Terrestrial Network)環境において、GNSS(Global Navigation Satellite System)情報を利用しない場合のモビリティに係るパラメータを決定する制御部と、
前記パラメータを使用して、ハンドオーバ又はCHO(Conditional handover)を実行する通信部とを有する端末。
続きを表示(約 570 文字)
【請求項2】
前記通信部は、GNSS情報を利用しない場合、UEにおけるGNSSロスに関連するアシスタンス情報をネットワークに報告する請求項1記載の端末。
【請求項3】
前記通信部は、GNSS情報を利用しない場合、GNSSによって取得できる情報とは独立する情報をネットワークに報告する請求項1記載の端末。
【請求項4】
前記制御部は、GNSS情報を利用しない場合、CHO実行条件に、追加の条件を設定する請求項1記載の端末。
【請求項5】
前記制御部は、GNSS情報を利用しない場合、かつRRC(Radio Resource Control)非アクティブ状態時又はRRC非接続状態時に、角度ベースの条件による測定開始を実行するか又は角度ベースのセル選択基準を使用する請求項1記載の端末。
【請求項6】
NTN(Non-Terrestrial Network)環境において、GNSS(Global Navigation Satellite System)情報を利用しない場合のモビリティに係るパラメータを決定する手順と、
前記パラメータを使用して、ハンドオーバ又はCHO(Conditional handover)を実行する手順とを端末が実行する通信方法。
発明の詳細な説明
【技術分野】
【0001】
本発明は、無線通信システムにおける端末及び通信方法に関する。
続きを表示(約 1,600 文字)
【背景技術】
【0002】
LTE(Long Term Evolution)の後継システムであるNR(New Radio)(「5G」ともいう。)においては、要求条件として、大容量のシステム、高速なデータ伝送速度、低遅延、多数の端末の同時接続、低コスト、省電力等を満たす技術が検討されている(例えば非特許文献1)。
【0003】
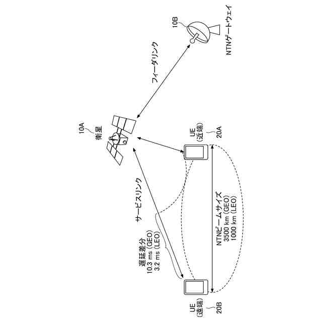
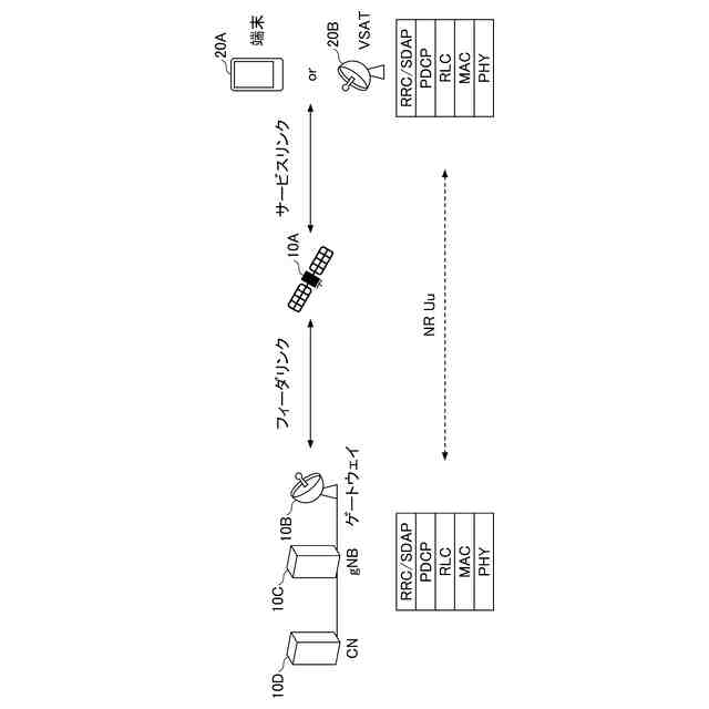
また現在、NTN(Non-Terrestrial Network)が検討されている。NTNとは、衛星等の非地上型ネットワークを使用して、地上型5Gネットワークでは主にコスト面でカバーできないエリアにサービスを提供するものである(例えば非特許文献2及び非特許文献3)。
【先行技術文献】
【非特許文献】
【0004】
3GPP TS 38.300 V18.4.0 (2024-12)
3GPP TR 38.821 V16.2.0 (2023-03)
小西 他,"HAPS移動通信システムにおける下りリンク周波数共用に関する一検討",電子情報通信学会総合大会,B-17-1,2020年
3GPP TS 38.304 V18.4.0 (2024-12)
3GPP TS 38.331 V18.4.0 (2024-12)
【発明の概要】
【発明が解決しようとする課題】
【0005】
従来、NTNでは同期ソースとして、GNSS(Global Navigation Satellite System)が必須であった。一方で、頻繁にGNSS情報を取得する場合端末における消費電力が増大すること、及び環境によってはGNSS信号が利用できない場合がある。GNSS信号が利用できない場合、セル再選択のための位置ベース測定の開始又はCHO(Conditional handover)向け位置ベースの条件が適用できない可能性がある。
【0006】
本発明は上記の点に鑑みてなされたものであり、NTN(Non-Terrestrial Network)においてモビリティを適切に実行することを目的とする。
【課題を解決するための手段】
【0007】
開示の技術によれば、NTN(Non-Terrestrial Network)環境において、GNSS(Global Navigation Satellite System)情報を利用しない場合のモビリティに係るパラメータを決定する制御部と、前記パラメータを使用して、ハンドオーバ又はCHO(Conditional handover)を実行する通信部とを有する端末が提供される。
【発明の効果】
【0008】
開示の技術によれば、NTN(Non-Terrestrial Network)においてモビリティを適切に実行することができる。
【図面の簡単な説明】
【0009】
NTNの例(1)を示す図である。
NTNの例(2)を示す図である。
NTNの例(3)を示す図である。
NTNの例(4)を示す図である。
本発明の実施の形態における、モビリティの例を説明するためのフローチャートである。
本発明の実施の形態における基地局10の機能構成の一例を示す図である。
本発明の実施の形態における端末20の機能構成の一例を示す図である。
本発明の実施の形態における基地局10又は端末20のハードウェア構成の一例を示す図である。
【発明を実施するための形態】
【0010】
以下、図面を参照して本発明の実施の形態を説明する。なお、以下で説明する実施の形態は一例であり、本発明が適用される実施の形態は、以下の実施の形態に限られない。
(【0011】以降は省略されています)
特許ウォッチbot のツイートを見る
この特許をJ-PlatPat(特許庁公式サイト)で参照する
関連特許
株式会社NTTドコモ
端末
1か月前
株式会社NTTドコモ
端末
1か月前
株式会社NTTドコモ
端末
1か月前
株式会社NTTドコモ
端末
1か月前
株式会社NTTドコモ
端末
1か月前
株式会社NTTドコモ
端末
1か月前
株式会社NTTドコモ
端末
1か月前
株式会社NTTドコモ
端末
1か月前
株式会社NTTドコモ
端末
1か月前
株式会社NTTドコモ
基地局
1か月前
株式会社NTTドコモ
デバイス
1か月前
株式会社NTTドコモ
デバイス
1か月前
株式会社NTTドコモ
推定装置
29日前
株式会社NTTドコモ
携帯端末
29日前
株式会社NTTドコモ
デバイス
1か月前
株式会社NTTドコモ
デバイス
1か月前
株式会社NTTドコモ
デバイス
1か月前
株式会社NTTドコモ
デバイス
1か月前
株式会社NTTドコモ
デバイス
1か月前
株式会社NTTドコモ
情報処理装置
1か月前
株式会社NTTドコモ
情報処理装置
1か月前
株式会社NTTドコモ
移動通信端末
22日前
株式会社NTTドコモ
装置及び方法
1か月前
株式会社NTTドコモ
情報処理装置
29日前
株式会社NTTドコモ
端末及び基地局
1か月前
株式会社NTTドコモ
端末及び基地局
1か月前
株式会社NTTドコモ
端末及び基地局
1か月前
株式会社NTTドコモ
基地局及び端末
1か月前
株式会社NTTドコモ
基地局及び端末
1か月前
株式会社NTTドコモ
端末及び通信方法
1か月前
株式会社NTTドコモ
端末及び通信方法
1か月前
株式会社NTTドコモ
端末及び通信方法
1か月前
株式会社NTTドコモ
端末及び通信方法
1か月前
株式会社NTTドコモ
端末及び通信方法
1か月前
株式会社NTTドコモ
端末及び通信方法
1か月前
株式会社NTTドコモ
端末及び通信方法
1か月前
続きを見る
他の特許を見る