TOP
|
特許
|
意匠
|
商標
特許ウォッチ
Twitter
他の特許を見る
10個以上の画像は省略されています。
公開番号
2025156310
公報種別
公開特許公報(A)
公開日
2025-10-14
出願番号
2025078540
出願日
2025-05-09
発明の名称
端末及び通信方法
出願人
株式会社NTTドコモ
代理人
弁理士法人ITOH
主分類
H04W
24/10 20090101AFI20251006BHJP(電気通信技術)
要約
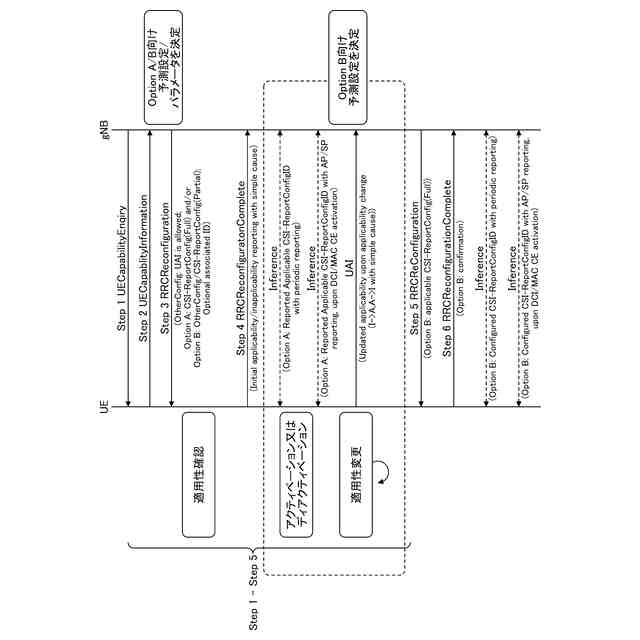
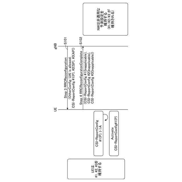
【課題】モビリティ向けの人工知能及び機械学習のモデルの適用性を変更すること。
【解決手段】端末は、予測設定を含むCSI(Channel State Information)報告設定を基地局から受信する受信部と、前記CSI報告設定の適用性を前記基地局に送信する送信部と、前記CSI報告設定の適用性の変化を検知する制御部とを有し、前記制御部は、適用可能な前記CSI報告設定をアクティベーションして、予測を実行する。
【選択図】図3
特許請求の範囲
【請求項1】
予測設定を含むCSI(Channel State Information)報告設定を基地局から受信する受信部と、
前記CSI報告設定の適用性を前記基地局に送信する送信部と、
前記CSI報告設定の適用性の変化を検知する制御部とを有し、
前記制御部は、適用可能な前記CSI報告設定をアクティベーションして、予測を実行する端末。
続きを表示(約 690 文字)
【請求項2】
前記制御部は、前記CSI報告設定が適用可能に変化したことを検知し、適用可能に変化した前記CSI報告設定をアクティベーションして、予測を実行する請求項1記載の端末。
【請求項3】
前記制御部は、前記CSI報告設定が適用可能に変化したことを検知し、
前記送信部は、前記CSI報告設定が適用可能に変化したことを示す情報を前記基地局に送信する請求項1記載の端末。
【請求項4】
前記制御部は、前記CSI報告設定が適用可能に変化したことを検知し、
前記送信部は、前記CSI報告設定が適用可能に変化したことを示す情報を前記基地局に送信し、
前記受信部は、前記CSI報告設定をアクティベーションする指示を前記基地局から受信する請求項1記載の端末。
【請求項5】
前記制御部は、保持タイマが前記CSI報告設定に含まれる場合、前記保持タイマをスタートし、前記保持タイマが満了した場合、UAI(User assistance information)を介して前記CSI報告設定の適用性を前記基地局に送信する請求項1記載の端末。
【請求項6】
予測設定を含むCSI(Channel State Information)報告設定を基地局から受信する手順と、
前記CSI報告設定の適用性を前記基地局に送信する手順と、
前記CSI報告設定の適用性の変化を検知する手順と、
適用可能な前記CSI報告設定をアクティベーションして、予測を実行する手順とを端末が実行する通信方法。
発明の詳細な説明
【技術分野】
【0001】
本発明は、通信システムにおける端末及び通信方法に関する。
続きを表示(約 1,900 文字)
【背景技術】
【0002】
3GPP(登録商標)(3rd Generation Partnership Project)では、システム容量の更なる大容量化、データ伝送速度の更なる高速化、無線区間における更なる低遅延化等を実現するために、5GあるいはNR(New Radio)と呼ばれる無線通信方式(以下、当該無線通信方式を「5G」あるいは「NR」という。)の検討が進んでいる。5Gでは、10Gbps以上のスループットを実現しつつ無線区間の遅延を1ms以下にするという要求条件を満たすために、様々な無線技術の検討が行われている。
【0003】
NRでは、LTE(Long Term Evolution)のネットワークアーキテクチャにおけるコアネットワークであるEPC(Evolved Packet Core)に対応する5GC(5G Core Network)及びLTEのネットワークアーキテクチャにおけるRAN(Radio Access Network)であるE-UTRAN(Evolved Universal Terrestrial Radio Access Network)に対応するNG-RAN(Next Generation - Radio Access Network)を含むネットワークアーキテクチャが検討されている(例えば非特許文献1)。
【0004】
また、さらに次世代の6G向けに様々な要件が検討されている。例えば、当該要件は、超広帯域通信(Ultra broadband communication)、ミッションクリティカル通信(Mission critical communication)、超大量接続(Ultra massive connection)、ユニバーサルカバレッジ(Universal coverage)、インテリジェント接続(Intelligent connection)、ユビキタスセンシング(Ubiquitous sensing)等である。
【0005】
当該要件を実現するため、新たなコンセプトとして、拡張できること(Extensible, 例えばより将来も有効に使用可能とする)、容易に運用可能(Easy-operational)カスタマイズ可能(Customizable, 例えばより容易に運用可能とする)、持続可能であること(Sustainable,例えばコスト削減、より堅牢な構成とする、復元力がある)が目標とされている。また、保証された通信(Guaranteed communication)として、最低限のパフォーマンスを常に確約することが検討されている。
【0006】
また、人工知能/機械学習のモデル(AI(Artificial Intelligence)/ML(Machine Learning)モデル)を活用して、ネットワーク管理又は自動化等の各種制御を実行することが検討されている(例えば非特許文献2)。
【先行技術文献】
【非特許文献】
【0007】
3GPP TS 23.501 V18.7.0 (2024-09)
3GPP TSG-RAN Meeting #105 RP-242393, Melbourne, Australia, 9-12 September 2024
【発明の概要】
【発明が解決しようとする課題】
【0008】
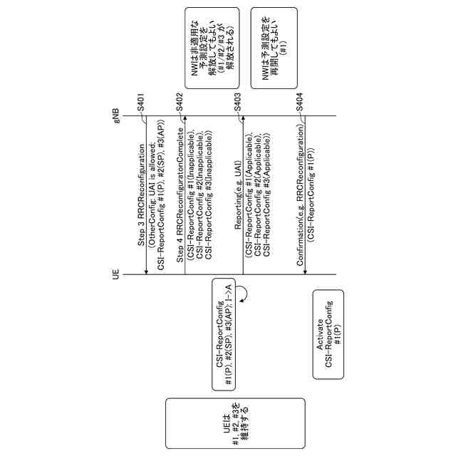
モビリティに対してAIMLがサポートされる可能性がある。UEは、BSからRRCメッセージを介して予測設定を受信することが想定される。ここで、UE側AIMLにおいて、追加条件が変更され、適用性が変更される可能性がある。
【0009】
本発明は上記の点に鑑みてなされたものであり、モビリティ向けの人工知能及び機械学習のモデルの適用性を変更することを目的とする。
【課題を解決するための手段】
【0010】
開示の技術によれば、予測設定を含むCSI(Channel State Information)報告設定を基地局から受信する受信部と、前記CSI報告設定の適用性を前記基地局に送信する送信部と、前記CSI報告設定の適用性の変化を検知する制御部とを有し、前記制御部は、適用可能な前記CSI報告設定をアクティベーションして、予測を実行する端末が提供される。
【発明の効果】
(【0011】以降は省略されています)
この特許をJ-PlatPat(特許庁公式サイト)で参照する
関連特許
株式会社NTTドコモ
端末
1か月前
株式会社NTTドコモ
端末
1か月前
株式会社NTTドコモ
端末
1か月前
株式会社NTTドコモ
端末
1か月前
株式会社NTTドコモ
端末
1か月前
株式会社NTTドコモ
端末
1か月前
株式会社NTTドコモ
端末
1か月前
株式会社NTTドコモ
基地局
1か月前
株式会社NTTドコモ
デバイス
1か月前
株式会社NTTドコモ
デバイス
1か月前
株式会社NTTドコモ
デバイス
1か月前
株式会社NTTドコモ
推定装置
17日前
株式会社NTTドコモ
携帯端末
17日前
株式会社NTTドコモ
情報処理装置
25日前
株式会社NTTドコモ
装置及び方法
1か月前
株式会社NTTドコモ
情報処理装置
17日前
株式会社NTTドコモ
情報処理装置
19日前
株式会社NTTドコモ
移動通信端末
10日前
株式会社NTTドコモ
端末及び基地局
1か月前
株式会社NTTドコモ
基地局及び端末
1か月前
株式会社NTTドコモ
端末及び基地局
1か月前
株式会社NTTドコモ
基地局及び端末
1か月前
株式会社NTTドコモ
端末及び基地局
1か月前
株式会社NTTドコモ
端末及び通信方法
1か月前
株式会社NTTドコモ
端末及び通信方法
1か月前
株式会社NTTドコモ
端末及び通信方法
1か月前
株式会社NTTドコモ
端末及び通信方法
1か月前
株式会社NTTドコモ
端末及び通信方法
1か月前
株式会社NTTドコモ
端末及び通信方法
1か月前
株式会社NTTドコモ
端末及び通信方法
1か月前
株式会社NTTドコモ
端末及び通信方法
1か月前
株式会社NTTドコモ
端末及び通信方法
1か月前
株式会社NTTドコモ
端末及び通信方法
1か月前
株式会社NTTドコモ
端末及び通信方法
1か月前
株式会社NTTドコモ
端末及び通信方法
1か月前
株式会社NTTドコモ
端末及び通信方法
1か月前
続きを見る
他の特許を見る