TOP
|
特許
|
意匠
|
商標
特許ウォッチ
Twitter
他の特許を見る
10個以上の画像は省略されています。
公開番号
2025157091
公報種別
公開特許公報(A)
公開日
2025-10-15
出願番号
2024196287
出願日
2024-11-08
発明の名称
端末及び通信方法
出願人
株式会社NTTドコモ
代理人
弁理士法人ITOH
主分類
H04W
72/232 20230101AFI20251007BHJP(電気通信技術)
要約
【課題】NTN(Non-Terrestrial Network)又はTN(Terrestrial Network)において拡張されたPDCCH(Physical Downlink Control Channel)をサポートすること。
【解決手段】端末は、NTN(Non-Terrestrial Network)又はTN(Terrestrial Network)において、拡張されたPDCCH(Physical Downlink Control Channel)に係る設定を基地局から受信する受信部と、前記設定に基づいて、拡張されたPDCCHを前記基地局から受信する制御部とを有し、前記制御部は、拡張されたPDCCHをサポートする端末向けの前記設定及び、拡張されたPDCCHをサポートする端末と拡張されたPDCCHをサポートしない端末との間で共通の前記設定の両方を使用する。
【選択図】図6
特許請求の範囲
【請求項1】
NTN(Non-Terrestrial Network)又はTN(Terrestrial Network)において、拡張されたPDCCH(Physical Downlink Control Channel)に係る設定を基地局から受信する受信部と、
前記設定に基づいて、拡張されたPDCCHを前記基地局から受信する制御部とを有し、
前記制御部は、拡張されたPDCCHをサポートする端末向けの前記設定及び、拡張されたPDCCHをサポートする端末と拡張されたPDCCHをサポートしない端末との間で共通の前記設定の両方を使用する端末。
続きを表示(約 880 文字)
【請求項2】
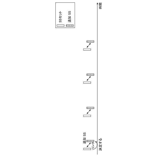
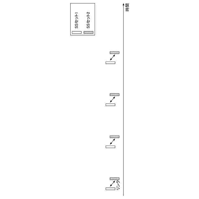
前記拡張されたPDCCHはPDCCHの繰り返し受信であって、前記制御部は、前記設定に基づいて、リンクされた二つのサーチスペースをモニタリングして、PDCCHの繰り返しを受信する請求項1記載の端末。
【請求項3】
前記拡張されたPDCCHはPDCCHの繰り返し受信であって、前記制御部は、前記設定に基づいて、PDCCHの繰り返しをサポートする端末とPDCCHの繰り返しをサポートしない端末との間で共通のサーチスペース及びPDCCHの繰り返しをサポートする端末向けのサーチスペースをモニタリングして、PDCCHの繰り返しを受信する請求項1記載の端末。
【請求項4】
前記拡張されたPDCCHはDCI(Downlink Control Information)のいくつかのフィールドが固定値となる方法であって、前記制御部は、前記設定に基づいて、当該いくつかのフィールドを固定値と想定してDCIを受信する請求項1の端末。
【請求項5】
前記拡張されたPDCCHはDCI(Downlink Control Information)のいくつかのフィールドが固定値となる方法であって、前記制御部は、前記設定に基づいて、リダンダンシバージョンのフィールドの少なくともいくつかのビットを固定値と想定してDCIを受信する請求項1の端末。
【請求項6】
NTN(Non-Terrestrial Network)又はTN(Terrestrial Network)において、拡張されたPDCCH(Physical Downlink Control Channel)に係る設定を基地局から受信する手順と、
前記設定に基づいて、拡張されたPDCCHを前記基地局から受信する手順と、
拡張されたPDCCHをサポートする端末向けの前記設定及び、拡張されたPDCCHをサポートする端末と拡張されたPDCCHをサポートしない端末との間で共通の前記設定の両方を使用する手順とを端末が実行する通信方法。
発明の詳細な説明
【技術分野】
【0001】
本発明は、無線通信システムにおける端末及び通信方法に関する。
続きを表示(約 2,100 文字)
【背景技術】
【0002】
LTE(Long Term Evolution)の後継システムであるNR(New Radio)(「5G」ともいう。)においては、要求条件として、大容量のシステム、高速なデータ伝送速度、低遅延、多数の端末の同時接続、低コスト、省電力等を満たす技術が検討されている(例えば非特許文献1)。
【0003】
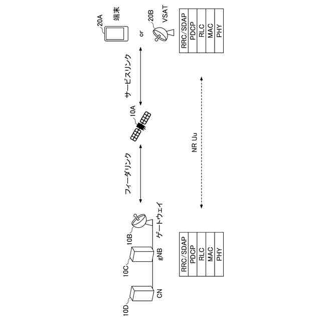
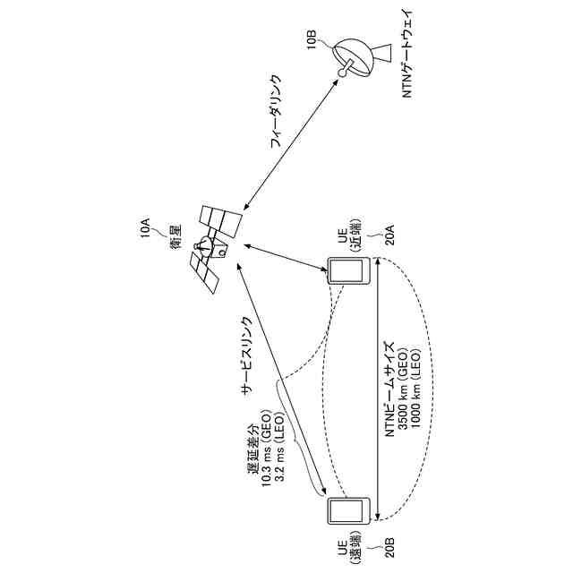
また現在、NTN(Non-Terrestrial Network)が検討されている。NTNとは、衛星等の非地上型ネットワークを使用して、地上型5Gネットワークでは主にコスト面でカバーできないエリアにサービスを提供するものである(例えば非特許文献2及び非特許文献3)。
【先行技術文献】
【非特許文献】
【0004】
3GPP TS 38.300 V18.0.0 (2023-12)
3GPP TR 38.821 V16.2.0 (2023-03)
小西 他,"HAPS移動通信システムにおける下りリンク周波数共用に関する一検討",電子情報通信学会総合大会,B-17-1,2020年
3GPP TS 38.211 V18.1.0 (2023-12)
3GPP TSG RAN Meeting #102, RP-234078, December 2023
3GPP TS 38.822 V17.1.0 (2023-06)
3GPP TS 38.331 V18.0.0 (2023-12)
3GPP TS 38.213 V18.1.0 (2023-12)
【発明の概要】
【発明が解決しようとする課題】
【0005】
NTNでは、DLカバレッジの強化が検討されている。DLカバレッジを強化するための解決策にPDCCH(Physical Downlink Control Channel)の拡張が挙げられる。一方、拡張されたPDCCHを端末が受信する方法が明確ではなかった。
【0006】
本発明は上記の点に鑑みてなされたものであり、NTN(Non-Terrestrial Network)又はTN(Terrestrial Network)において拡張されたPDCCH(Physical Downlink Control Channel)をサポートすることを目的とする。
【課題を解決するための手段】
【0007】
開示の技術によれば、NTN(Non-Terrestrial Network)又はTN(Terrestrial Network)において、拡張されたPDCCH(Physical Downlink Control Channel)に係る設定を基地局から受信する受信部と、前記設定に基づいて、拡張されたPDCCHを前記基地局から受信する制御部とを有し、前記制御部は、拡張されたPDCCHをサポートする端末向けの前記設定及び、拡張されたPDCCHをサポートする端末と拡張されたPDCCHをサポートしない端末との間で共通の前記設定の両方を使用する端末が提供される。
【発明の効果】
【0008】
開示の技術によれば、NTN(Non-Terrestrial Network)又はTN(Terrestrial Network)において拡張されたPDCCH(Physical Downlink Control Channel)をサポートすることができる。
【図面の簡単な説明】
【0009】
NTNの例(1)を示す図である。
NTNの例(2)を示す図である。
NTNの例(3)を示す図である。
NTNの例(4)を示す図である。
NTNの例(5)を示す図である。
本発明の実施の形態における拡張PDCCH受信の例を説明するためのフローチャートである。
本発明の実施の形態におけるサーチスペースの例(1)を説明するための図である。
本発明の実施の形態におけるサーチスペースの例(2)を説明するための図である。
本発明の実施の形態におけるサーチスペースの例(3)を説明するための図である。
本発明の実施の形態における基地局10の機能構成の一例を示す図である。
本発明の実施の形態における端末20の機能構成の一例を示す図である。
本発明の実施の形態における基地局10又は端末20のハードウェア構成の一例を示す図である。
本発明の実施の形態における車両2001の構成の一例を示す図である。
【発明を実施するための形態】
【0010】
以下、図面を参照して本発明の実施の形態を説明する。なお、以下で説明する実施の形態は一例であり、本発明が適用される実施の形態は、以下の実施の形態に限られない。
(【0011】以降は省略されています)
特許ウォッチbot のツイートを見る
この特許をJ-PlatPat(特許庁公式サイト)で参照する
関連特許
株式会社NTTドコモ
携帯端末
18日前
株式会社NTTドコモ
推定装置
18日前
株式会社NTTドコモ
情報処理装置
20日前
株式会社NTTドコモ
移動通信端末
11日前
株式会社NTTドコモ
情報処理装置
18日前
株式会社NTTドコモ
端末及び通信方法
今日
株式会社NTTドコモ
端末及び通信方法
24日前
株式会社NTTドコモ
端末及び通信方法
24日前
株式会社NTTドコモ
端末及び通信方法
3日前
株式会社NTTドコモ
端末及び通信方法
今日
株式会社NTTドコモ
情報処理装置及び方法
12日前
株式会社NTTドコモ
管理装置及び管理方法
3日前
株式会社NTTドコモ
管理装置及び管理方法
3日前
株式会社NTTドコモ
管理装置及び管理方法
3日前
株式会社NTTドコモ
情報処理装置及び方法
12日前
株式会社NTTドコモ
端末、基地局及び通信方法
24日前
株式会社NTTドコモ
生成システム及び生成方法
10日前
株式会社NTTドコモ
情報処理装置及び情報処理方法
24日前
株式会社NTTドコモ
測位支援装置及び測位支援方法
5日前
株式会社NTTドコモ
電力監視装置、及び、電力監視方法
5日前
株式会社NTTドコモ
最適化支援装置および最適化支援方法
18日前
株式会社NTTドコモ
基地局、ネットワークノード及び端末
24日前
株式会社NTTドコモ
端末
5日前
株式会社NTTドコモ
太陽電池の配置支援装置及び太陽電池の配置支援方法
3日前
株式会社NTTドコモ
端末及び通信方法
12日前
株式会社NTTドコモ
端末及び通信方法
12日前
株式会社NTTドコモ
通信制御方法、端末、通信制御装置、通信制御システム、通信制御プログラム
10日前
株式会社NTTドコモ
端末、通信システム及び通信方法
12日前
株式会社NTTドコモ
無線通信ノード、および、無線通信方法
20日前
株式会社NTTドコモ
端末、基地局、通信システム及び通信方法
12日前
株式会社NTTドコモ
端末、無線通信方法、基地局及びシステム
12日前
株式会社NTTドコモ
端末、無線通信システム及び無線通信方法
5日前
株式会社NTTドコモ
端末、基地局、無線通信システム及び無線通信方法
12日前
個人
イヤーピース
10日前
個人
イヤーマフ
24日前
個人
監視カメラシステム
1か月前
続きを見る
他の特許を見る