TOP
|
特許
|
意匠
|
商標
特許ウォッチ
Twitter
他の特許を見る
10個以上の画像は省略されています。
公開番号
2025176108
公報種別
公開特許公報(A)
公開日
2025-12-03
出願番号
2025144903,2022577979
出願日
2025-09-01,2021-01-29
発明の名称
端末及び無線通信方法
出願人
株式会社NTTドコモ
代理人
コネクトIP弁理士法人
主分類
H04L
27/26 20060101AFI20251126BHJP(電気通信技術)
要約
【課題】UCIなどの増加に充分に対応した上り制御チャネル(PUCCH)を送信できる端末及び無線通信方法を提供する。
【解決手段】無線通信システムにおいて、端末(UE)200は、上り制御チャネル用の復調用参照信号を設定する制御部270と、復調用参照信号を送信する送信部210と、を備える。制御部は、上り制御チャネルの設定情報に基づいて、時間領域または周波数領域の少なくとも何れかにおいて直交する復調用参照信号を設定する。
【選択図】図3
特許請求の範囲
【請求項1】
Medium Access Control(MAC)制御要素(CE)を受信する受信部と、
前記MAC CEに基づいて、1つのPhysical Uplink Control Channel (PUCCH)リソースに対して、1つ以上の空間的関係を決定する制御部と、
前記1つのPUCCHリソースと、前記1つ以上の空間的関係とを用いて、PUCCHを送信する送信部と、
を備え、
前記MAC CEに含まれるビットフィールドが1に設定されている場合、前記MAC CEが、前記1つのPUCCHリソースに対して複数のspatial relation info IDフィールドを含むことを示しており、前記制御部は、前記MAC CEに基づいて、複数の空間的関係を決定し、
前記ビットフィールドが0に設定されている場合、前記MAC CEが、前記1つのPUCCHリソースに対して複数のspatial relation info IDフィールドを含まないことを示しており、前記制御部は、前記MAC CEに基づいて、1つの空間的関係を決定する、端末。
続きを表示(約 1,600 文字)
【請求項2】
Medium Access Control(MAC)制御要素(CE)を送信する送信部と、
1つのPhysical Uplink Control Channel (PUCCH)リソースと、1つ以上の空間的関係とを用いて送信されるPUCCHを受信する受信部と、
を備え、
前記MAC CEに含まれるビットフィールドが1に設定されている場合、前記MAC CEが、前記1つのPUCCHリソースに対して複数のspatial relation info IDフィールドを含むことを示しており、前記受信部は、前記MAC CEに基づいて決定された複数の空間的関係を用いて送信される前記PUCCHを受信し、
前記ビットフィールドが0に設定されている場合、前記MAC CEが、前記1つのPUCCHリソースに対して複数のspatial relation info IDフィールドを含まないことを示しており、前記受信部は、前記MAC CEに基づいて決定された1つの空間的関係を用いて送信される前記PUCCHを受信する、無線基地局。
【請求項3】
端末及び無線基地局を備え、
前記端末は、
Medium Access Control(MAC)制御要素(CE)を受信する受信部と、
前記MAC CEに基づいて、1つのPhysical Uplink Control Channel (PUCCH)リソースに対して、1つ以上の空間的関係を決定する制御部と、
前記1つのPUCCHリソースと、前記1つ以上の空間的関係とを用いて、PUCCHを送信する送信部と、
を備え、
前記MAC CEに含まれるビットフィールドが1に設定されている場合、前記MAC CEが、前記1つのPUCCHリソースに対して複数のspatial relation info IDフィールドを含むことを示しており、前記制御部は、前記MAC CEに基づいて、複数の空間的関係を決定し、
前記ビットフィールドが0に設定されている場合、前記MAC CEが、前記1つのPUCCHリソースに対して複数のspatial relation info IDフィールドを含まないことを示しており、前記制御部は、前記MAC CEに基づいて、1つの空間的関係を決定し、
前記無線基地局は、
前記MAC CEを送信する送信部と、
前記PUCCHを受信する受信部と、
を備える、無線通信システム。
【請求項4】
端末が、Medium Access Control(MAC)制御要素(CE)を受信するステップと、
前記端末が、前記MAC CEに基づいて、1つのPhysical Uplink Control Channel (PUCCH)リソースに対して、1つ以上の空間的関係を決定するステップと、
前記端末が、前記1つのPUCCHリソースと、前記1つ以上の空間的関係とを用いて、PUCCHを送信するステップと、
を備え、
前記MAC CEに含まれるビットフィールドが1に設定されている場合、前記MAC CEが、前記1つのPUCCHリソースに対して複数のspatial relation info IDフィールドを含むことを示しており、前記決定するステップにおいて、前記端末は、前記MAC CEに基づいて、複数の空間的関係を決定し、
前記ビットフィールドが0に設定されている場合、前記MAC CEが、前記1つのPUCCHリソースに対して複数のspatial relation info IDフィールドを含まないことを示しており、前記決定するステップにおいて、前記端末は、前記MAC CEに基づいて、1つの空間的関係を決定する、無線通信方法。
発明の詳細な説明
【技術分野】
【0001】
本開示は、上りリンク制御情報を送信する端末及び無線通信方法に関する。
続きを表示(約 1,500 文字)
【背景技術】
【0002】
3rd Generation Partnership Project(3GPP)は、5th generation mobile communication system(5G、New Radio(NR)またはNext Generation(NG)とも呼ばれる)を仕様化し、さらに、Beyond 5G、5G Evolution或いは6Gと呼ばれる次世代の仕様化も進めている。
【0003】
3GPPのRelease 15及びRelease 16(NR)では、端末(User Equipment, UE)は、PUCCH(Physical Uplink Control Channel)を介して上りリンク制御情報(UCI:Uplink Control Information)を無線基地局(gNB)に送信することが規定されている(非特許文献1)。
【先行技術文献】
【非特許文献】
【0004】
3GPP TS 38.212 V16.3.0, 3rd Generation Partnership Project; Technical Specification Group Radio Access Network; NR; Multiplexing and channel coding (Release 16)、3GPP、2020年9月
【発明の概要】
【0005】
例えば、正確なビーム管理及びリアルタイム性を追求すると、Channel State Information-Reference Signal(CSI-RS)のフィードバック量が増加するため、UCIも増加する。このため、より多くのUCIを迅速に送信できるスキームが必要となる。
【0006】
そこで、以下の開示は、このような状況に鑑みてなされたものであり、UCIなどの増加に充分に対応した上り制御チャネル(PUCCH)を送信できる端末及び無線通信方法の提供を目的とする。
【0007】
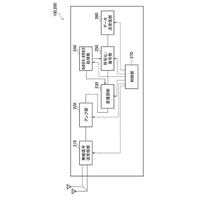
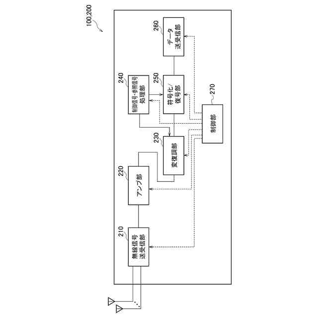
本開示の一態様は、上り制御チャネル用の復調用参照信号を送信する送信部(制御信号・参照信号処理部240)と、前記復調用参照信号の送信を制御する制御部(制御部270)とを備え、前記制御部は、時間領域または周波数領域の少なくとも何れかにおいて直交するように前記復調用参照信号を設定する端末(UE200)である。
【0008】
本開示の一態様は、上り制御チャネル用の復調用参照信号を送信するステップと、前記復調用参照信号の送信を制御するステップとを含み、前記制御するステップでは、時間領域または周波数領域の少なくとも何れかにおいて直交するように前記復調用参照信号を設定する無線通信方法である。
【0009】
本開示の一態様は、上り制御チャネル用の復調用参照信号を設定する制御部(制御部270)と、前記復調用参照信号を送信する送信部(制御信号・参照信号処理部240)とを備え、前記制御部は、前記上り制御チャネルの設定情報に基づいて、時間領域または周波数領域の少なくとも何れかにおいて直交する前記復調用参照信号を設定する端末(UE200)である。
【0010】
本開示の一態様は、上り制御チャネル用のプリコーディング情報、または上りデータチャネル用のプリコーディング情報の少なくとも何れかを用いて前記上り制御チャネルを設定する制御部(制御部270)と、設定された前記上り制御チャネルを送信する送信部(制御信号・参照信号処理部240)とを備える端末(UE200)である。
(【0011】以降は省略されています)
この特許をJ-PlatPat(特許庁公式サイト)で参照する
関連特許
株式会社NTTドコモ
端末
1か月前
株式会社NTTドコモ
端末
1か月前
株式会社NTTドコモ
端末
1か月前
株式会社NTTドコモ
端末
1か月前
株式会社NTTドコモ
端末
1か月前
株式会社NTTドコモ
端末
1か月前
株式会社NTTドコモ
端末
1か月前
株式会社NTTドコモ
端末
1か月前
株式会社NTTドコモ
端末
1か月前
株式会社NTTドコモ
基地局
1か月前
株式会社NTTドコモ
デバイス
1か月前
株式会社NTTドコモ
デバイス
1か月前
株式会社NTTドコモ
デバイス
1か月前
株式会社NTTドコモ
デバイス
1か月前
株式会社NTTドコモ
デバイス
1か月前
株式会社NTTドコモ
デバイス
1か月前
株式会社NTTドコモ
デバイス
1か月前
株式会社NTTドコモ
推定装置
1か月前
株式会社NTTドコモ
携帯端末
1か月前
株式会社NTTドコモ
情報処理装置
1か月前
株式会社NTTドコモ
情報処理装置
1か月前
株式会社NTTドコモ
情報処理装置
1か月前
株式会社NTTドコモ
移動通信端末
1か月前
株式会社NTTドコモ
装置及び方法
1か月前
株式会社NTTドコモ
端末及び基地局
1か月前
株式会社NTTドコモ
端末及び基地局
1か月前
株式会社NTTドコモ
基地局及び端末
1か月前
株式会社NTTドコモ
端末及び基地局
1か月前
株式会社NTTドコモ
基地局及び端末
1か月前
株式会社NTTドコモ
端末及び測定方法
1か月前
株式会社NTTドコモ
端末及び通信方法
1か月前
株式会社NTTドコモ
端末及び通信方法
1か月前
株式会社NTTドコモ
端末及び通信方法
1か月前
株式会社NTTドコモ
端末及び通信方法
1か月前
株式会社NTTドコモ
端末及び通信方法
1か月前
株式会社NTTドコモ
端末及び通信方法
1か月前
続きを見る
他の特許を見る