TOP
|
特許
|
意匠
|
商標
特許ウォッチ
Twitter
他の特許を見る
10個以上の画像は省略されています。
公開番号
2025176112
公報種別
公開特許公報(A)
公開日
2025-12-03
出願番号
2025145080,2022575052
出願日
2025-09-02,2021-01-18
発明の名称
端末、及び基地局
出願人
株式会社NTTドコモ
代理人
弁理士法人ITOH
主分類
H04W
68/00 20090101AFI20251126BHJP(電気通信技術)
要約
【課題】ページングのモニタリングにおいて、端末の消費電力量を削減する端末及び基地局を提供する。
【解決手段】無線通信システムにおいて、端末は、基地局から送信される通知信号に基づいて、ページング機会においてページングのモニタリングを行うために参照信号を利用することが可能か否かを判断する制御部と、参照信号を利用することが可能である場合に、参照信号を受信する受信部と、を備える。
【選択図】図5
特許請求の範囲
【請求項1】
基地局から送信される通知信号に基づいて、ページング機会においてページングのモニタリングを行うために参照信号を利用することが可能か否かを判断する制御部と、
前記参照信号を利用することが可能である場合に、前記参照信号を受信する受信部と、を備える端末であって、
前記制御部は、前記通知信号のリソース位置、及び前記通知信号のシーケンス情報のうちの少なくとも1つに基づいて、特定のリソース位置における1以上の参照信号が利用可能か否かを判断する
端末。
続きを表示(約 430 文字)
【請求項2】
前記制御部は、前記通知信号を検出したか否か、前記通知信号のリソース位置、及び前記通知信号のシーケンス情報のうちの少なくとも1つに基づいて、前記参照信号を利用することが可能か否かを判断する
請求項1に記載の端末。
【請求項3】
前記受信部は、複数の通知信号のうちのある通知信号を受信した場合に、当該通知信号以降の通知信号の検出を試みない
請求項1又は2に記載の端末。
【請求項4】
参照信号を送信するか否かを判断する制御部と、
ページング機会においてページングのモニタリングを行うために前記参照信号を利用することが可能か否か示す通知信号を端末に送信する送信部と、を備える基地局であって、
前記端末は、前記通知信号のリソース位置、及び前記通知信号のシーケンス情報のうちの少なくとも1つに基づいて、特定のリソース位置における1以上の参照信号が利用可能か否かを判断する
基地局。
発明の詳細な説明
【技術分野】
【0001】
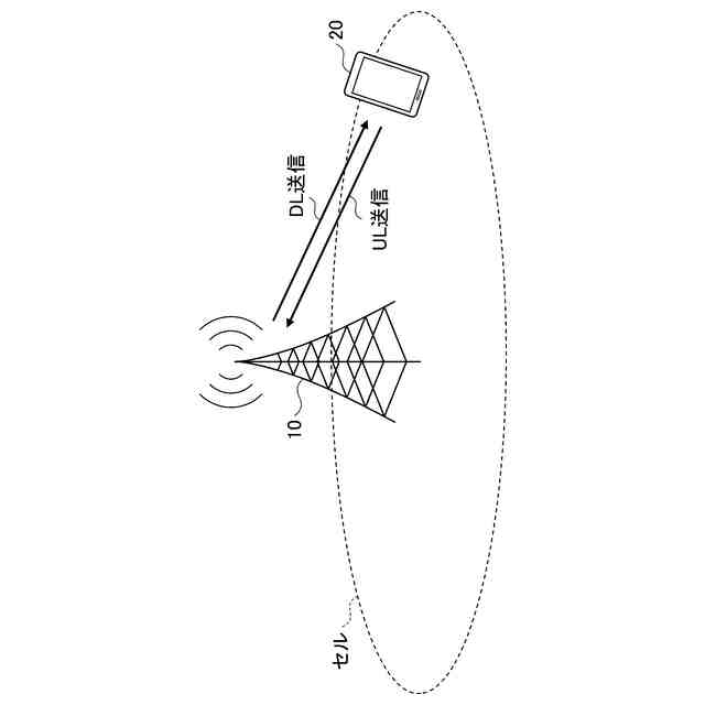
本発明は、無線通信システムにおける端末と基地局に関連するものである。
続きを表示(約 1,800 文字)
【背景技術】
【0002】
3GPP(3rd Generation Partnership Project)では、システム容量の更なる大容量化、データ伝送速度の更なる高速化、無線区間における更なる低遅延化等を実現するために、5GあるいはNR(New Radio)と呼ばれる無線通信方式(以下、当該無線通信方式を「NR」という。)の検討が進んでいる。NRでは、10Gbps以上のスループットを実現しつつ無線区間の遅延を1ms以下にするという要求条件を満たすために、様々な無線技術及びネットワークアーキテクチャの検討が行われている。
【0003】
NRにおいてもLTEと同様に、着信時に待受け在圏中の端末を呼び出すページング(paging)が行われる。NRでは、RRC_IDLE状態又はRRC_INACTIVE状態の端末は、ページングDCIをモニタするために、省電力化のための間欠受信動作を行う(非特許文献1)。間欠受信動作において、端末が、スリープ状態から起きて(Wake upして)、pagingモニタリングを行う期間をPO(paging occasion、ページング機会)と呼ぶ。以降、RRC_IDLE状態又はRRC_INACTIVE状態の端末を、idle/inactive mode UEと呼ぶ場合がある。
【先行技術文献】
【非特許文献】
【0004】
3GPP TS 38.304 V16.1.0(2020-07)
【発明の概要】
【発明が解決しようとする課題】
【0005】
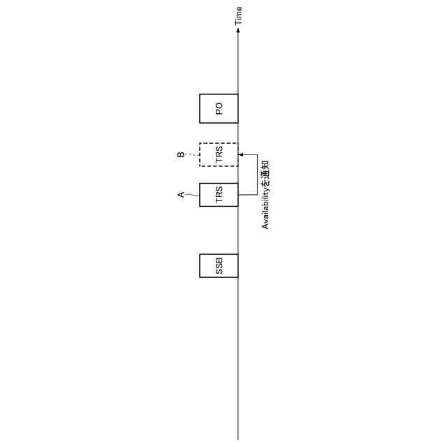
NRにおけるidle/inactive mode UEが、PO(paging occasion)においてpagingモニタリングを行うときに、事前にtime/frequency tracking及びAGC(auto gain control)等を行うために、複数個のSSB(synchronization signal block)の受信処理を行う必要がある。
【0006】
しかし、例えばLTEにおけるCRS(Cell-specific Reference Signal)に比べると、SSBは比較的長い周期で送信されるため、端末はSSB受信処理のために、PO受信のタイミングに対してより早期にwake upしなければならない。そのため、長時間のスリープが確保できなくなり、端末消費電力の増大につながる。
【0007】
pagingモニタリングのために、SSBの他に、TRS(Tracking Reference Signal)又はCSI-RS(Channel State Information Reference Signal)を利用することも考えられる。以降、TRS又はCSI-RSをTRS/CSI-RSと記載する場合がある。
【0008】
しかし、端末(idle/inactive mode UE)において、TRS又はCSI-RSが基地局から送信されているか否かが不明なため、SSBのみを用いる場合と同様に、早期にwake upしなければならない。そのため、長時間のスリープが確保できなくなり、端末消費電力の増大につながる。
【0009】
本発明は上記の点に鑑みてなされたものであり、ページングのモニタリングにおいて、端末の消費電力量を削減することを可能とする技術を提供することを目的とする。
【課題を解決するための手段】
【0010】
開示の技術によれば、基地局から送信される通知信号に基づいて、ページング機会においてページングのモニタリングを行うために参照信号を利用することが可能か否かを判断する制御部と、
前記参照信号を利用することが可能である場合に、前記参照信号を受信する受信部と、を備える端末であって、
前記制御部は、前記通知信号のリソース位置、及び前記通知信号のシーケンス情報のうちの少なくとも1つに基づいて、特定のリソース位置における1以上の参照信号が利用可能か否かを判断する
端末が提供される。
【発明の効果】
(【0011】以降は省略されています)
この特許をJ-PlatPat(特許庁公式サイト)で参照する
関連特許
株式会社NTTドコモ
推定装置
1か月前
株式会社NTTドコモ
携帯端末
1か月前
株式会社NTTドコモ
情報処理装置
1か月前
株式会社NTTドコモ
情報処理装置
1か月前
株式会社NTTドコモ
移動通信端末
1か月前
株式会社NTTドコモ
情報処理装置
1か月前
株式会社NTTドコモ
端末及び通信方法
1か月前
株式会社NTTドコモ
端末及び通信方法
21日前
株式会社NTTドコモ
端末及び通信方法
1か月前
株式会社NTTドコモ
端末及び通信方法
1か月前
株式会社NTTドコモ
端末及び通信方法
1か月前
株式会社NTTドコモ
端末及び通信方法
1か月前
株式会社NTTドコモ
端末及び通信方法
24日前
株式会社NTTドコモ
端末及び通信方法
1か月前
株式会社NTTドコモ
端末及び通信方法
21日前
株式会社NTTドコモ
端末及び通信方法
1か月前
株式会社NTTドコモ
端末及び通信方法
1か月前
株式会社NTTドコモ
端末及び測位方法
11日前
株式会社NTTドコモ
端末及び通信方法
20日前
株式会社NTTドコモ
端末及び通信方法
19日前
株式会社NTTドコモ
端末及び通信方法
11日前
株式会社NTTドコモ
情報処理装置及び方法
18日前
株式会社NTTドコモ
情報処理装置及び方法
1か月前
株式会社NTTドコモ
情報処理装置及び方法
1か月前
株式会社NTTドコモ
生成装置及び生成方法
12日前
株式会社NTTドコモ
管理装置及び管理方法
24日前
株式会社NTTドコモ
管理装置及び管理方法
24日前
株式会社NTTドコモ
管理装置及び管理方法
24日前
株式会社NTTドコモ
生成システム及び生成方法
1か月前
株式会社NTTドコモ
端末、基地局及び通信方法
1か月前
株式会社NTTドコモ
端末、無線通信方法及び基地局
11日前
株式会社NTTドコモ
測位支援装置及び測位支援方法
26日前
株式会社NTTドコモ
情報処理装置及び情報処理方法
1か月前
株式会社NTTドコモ
人物同定装置、及び人物同定方法
10日前
株式会社NTTドコモ
電力監視装置、及び、電力監視方法
26日前
株式会社NTTドコモ
基地局、ネットワークノード及び端末
1か月前
続きを見る
他の特許を見る