TOP
|
特許
|
意匠
|
商標
特許ウォッチ
Twitter
他の特許を見る
10個以上の画像は省略されています。
公開番号
2025157088
公報種別
公開特許公報(A)
公開日
2025-10-15
出願番号
2024196086
出願日
2024-11-08
発明の名称
端末及び通信方法
出願人
株式会社NTTドコモ
代理人
弁理士法人ITOH
主分類
H04W
72/0457 20230101AFI20251007BHJP(電気通信技術)
要約
【課題】マルチキャリアスケジューリングにおいて、リファレンスPDSCHを適切に設定すること。
【解決手段】端末は、マルチセルスケジューリングにおける複数のセル内において、各セルにおける、サブキャリア間隔と、最後にスケジューリングされた下りデータチャネルの時刻とに基づいて、リファレンス下りデータチャネルを決定する制御部と、前記リファレンス下りデータチャネルにより決定されるHARQ-ACK(Hybrid Automatic Repeat reQuest-Acknowledgement)の送信タイミングに基づいて、前記HARQ―ACKを基地局に送信する送信部と、を有する。
【選択図】図8
特許請求の範囲
【請求項1】
マルチセルスケジューリングにおける複数のセル内において、各セルにおける、サブキャリア間隔と、最後にスケジューリングされた下りデータチャネルの時刻とに基づいて、リファレンス下りデータチャネルを決定する制御部と、
前記リファレンス下りデータチャネルにより決定されるHARQ-ACK(Hybrid Automatic Repeat reQuest-Acknowledgement)の送信タイミングに基づいて、前記HARQ―ACKを基地局に送信する送信部と、
を有する端末。
続きを表示(約 890 文字)
【請求項2】
前記制御部は、前記下りデータチャネルの時刻に、前記サブキャリア間隔に基づいて定まる下りデータチャネルの処理時間を加算した時刻が最も遅い下りデータチャネルを前記リファレンス下りデータチャネルに決定する、
請求項1に記載の端末。
【請求項3】
前記制御部は、前記複数のセル内で、最後にスケジューリングされた下りデータチャネルに対するサブキャリア間隔が、前記複数のセル内で最小である場合、前記最後にスケジューリングされた下りデータチャネルを前記リファレンス下りデータチャネルに決定する、
請求項1に記載の端末。
【請求項4】
前記制御部は、前記複数のセル内で、最後にスケジューリングされた下りデータチャネルに対するサブキャリア間隔が、前記複数のセル内で最小でない場合、前記下りデータチャネルの時刻に、前記サブキャリア間隔に基づいて定まる下りデータチャネルの処理時間を加算した時刻が最も遅い下りデータチャネルを前記リファレンス下りデータチャネルに決定する、
請求項1に記載の端末。
【請求項5】
前記制御部は、スケジューリングされた下りデータチャネルの数が、予め定められた数以上であるセルにおける最後にスケジューリングされた下りデータチャネルのみに対して処理時間の算出を実行して、前記リファレンス下りデータチャネルの候補とする、
請求項1に記載の端末。
【請求項6】
マルチセルスケジューリングにおける複数のセル内において、各セルにおける、サブキャリア間隔と、最後にスケジューリングされた下りデータチャネルの時刻とに基づいて、リファレンス下りデータチャネルを決定するステップと、
前記リファレンス下りデータチャネルにより決定されるHARQ-ACK(Hybrid Automatic Repeat reQuest-Acknowledgement)の送信タイミングに基づいて、前記HARQ―ACKを基地局に送信するステップと、
を有する端末が実行する通信方法。
発明の詳細な説明
【技術分野】
【0001】
本発明は、無線通信システムにおける端末及び通信方法に関連するものである。
続きを表示(約 1,700 文字)
【背景技術】
【0002】
3GPP(登録商標)(3rd Generation Partnership Project)では、システム容量の更なる大容量化、データ伝送速度の更なる高速化及び無線区間における更なる低遅延化等を実現するための技術の標準化が行われている(例えば、非特許文献1及び非特許文献2)。
【0003】
当該技術のうち、マルチキャリア拡張(MCE: Multi-Carrier Enhancements)として、3GPP Release 18では、シグナリングのオーバヘッド削減のため、マルチキャリアスケジューリング(マルチセルスケジューリングと呼ばれてもよい)が規定された。マルチキャリアスケジューリングは、1つの下り制御情報(DCI: Downlink Control Information)で複数のセルをスケジューリングすることを可能にする(例えば、非特許文献3及び非特許文献4)。
【0004】
また、3GPP Release-18では、マルチキャリアスケジューリングにおいて、1つの下り制御情報でスケジューリングされ得る複数のセルは全て同じサブキャリア間隔(SubCarrier Spacing, SCS)及びキャリア種別(carrier type)に制限されていた。3GPP Release-19では、当該制限を緩和して、異なるSCS及びキャリア種別のセルに対する共同スケジューリング(co-scheduling)がサポートされた。
【先行技術文献】
【非特許文献】
【0005】
3GPP TS 38.300 V18.3.0(2024-09)
3GPP TS 38.401 V18.3.0(2024-09)
3GPP TS 38.212 V18.2.0(2024-09)
3GPP TS 38.331 V18.3.0(2024-09)
3GPP TS 38.214 V18.4.0(2024-09)
【発明の概要】
【発明が解決しようとする課題】
【0006】
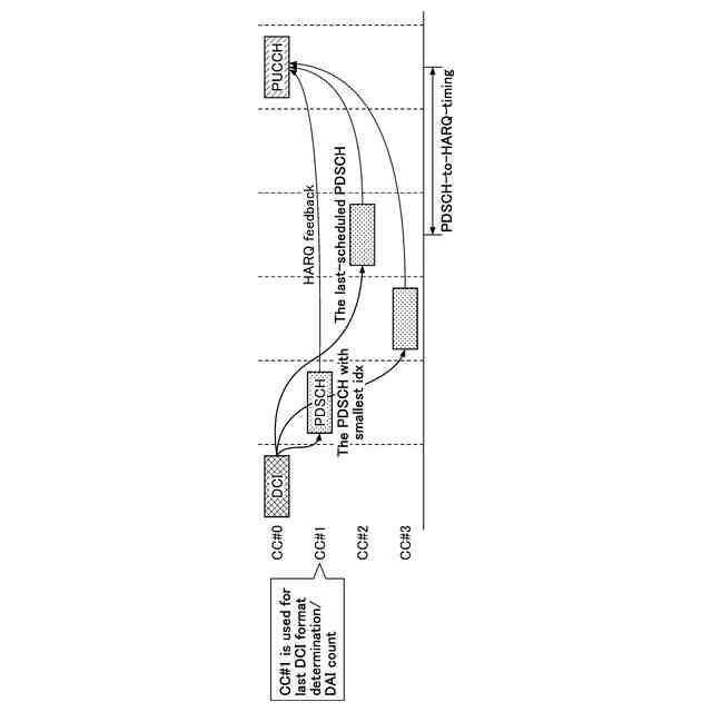
HARQ-ACKを送信するタイミングは、最後にスケジューリングされたリファレンスPDSCHから、当該リファレンスPDSCHに対する処理時間(Tproc,1)が経過した時点と定められている。ここで、Tproc,1は、SCSに依存して異なる時間となる。
【0007】
したがって、3GPP Rel-19でサポートされた、異なるSCS及びキャリア種別のセルに対する共同スケジューリングにおいて、複数のセルにおける最後のPDSCHに対する処理時間経過後が最も遅い時刻になるとは限らないことから、最後のPDSCHがリファレンスPDSCHとして適切でない場合がある。
【0008】
本発明は上記の問題点に鑑みてなされたものであり、マルチキャリアスケジューリングにおいて、リファレンスPDSCHを適切に設定することを目的とする。
【課題を解決するための手段】
【0009】
開示の技術によれば、マルチセルスケジューリングにおける複数のセル内において、各セルにおける、サブキャリア間隔と、最後にスケジューリングされた下りデータチャネルの時刻とに基づいて、リファレンス下りデータチャネルを決定する制御部と、前記リファレンス下りデータチャネルにより決定されるHARQ-ACK(Hybrid Automatic Repeat reQuest-Acknowledgement)の送信タイミングに基づいて、前記HARQ―ACKを基地局に送信する送信部と、を有する端末が提供される。
【発明の効果】
【0010】
開示の技術によれば、マルチキャリアスケジューリングにおいて、リファレンスPDSCHを適切に設定することができる。
【図面の簡単な説明】
(【0011】以降は省略されています)
この特許をJ-PlatPat(特許庁公式サイト)で参照する
関連特許
株式会社NTTドコモ
移動通信端末
12日前
株式会社NTTドコモ
端末及び通信方法
今日
株式会社NTTドコモ
端末及び通信方法
1日前
株式会社NTTドコモ
端末及び通信方法
1日前
株式会社NTTドコモ
端末及び通信方法
4日前
株式会社NTTドコモ
管理装置及び管理方法
4日前
株式会社NTTドコモ
情報処理装置及び方法
13日前
株式会社NTTドコモ
情報処理装置及び方法
13日前
株式会社NTTドコモ
管理装置及び管理方法
4日前
株式会社NTTドコモ
管理装置及び管理方法
4日前
株式会社NTTドコモ
生成システム及び生成方法
11日前
株式会社NTTドコモ
測位支援装置及び測位支援方法
6日前
株式会社NTTドコモ
電力監視装置、及び、電力監視方法
6日前
株式会社NTTドコモ
端末
6日前
株式会社NTTドコモ
太陽電池の配置支援装置及び太陽電池の配置支援方法
4日前
株式会社NTTドコモ
端末
今日
株式会社NTTドコモ
端末及び通信方法
13日前
株式会社NTTドコモ
端末及び通信方法
13日前
株式会社NTTドコモ
通信制御方法、端末、通信制御装置、通信制御システム、通信制御プログラム
11日前
株式会社NTTドコモ
端末、通信システム及び通信方法
13日前
株式会社NTTドコモ
端末、無線通信システム及び無線通信方法
6日前
株式会社NTTドコモ
端末、無線通信システム及び無線通信方法
今日
株式会社NTTドコモ
端末、無線通信方法、基地局及びシステム
13日前
株式会社NTTドコモ
端末、基地局、通信システム及び通信方法
13日前
株式会社NTTドコモ
端末、基地局、無線通信システム及び無線通信方法
13日前
個人
イヤーピース
11日前
個人
イヤーマフ
25日前
個人
監視カメラシステム
1か月前
キーコム株式会社
光伝送線路
1か月前
個人
スイッチシステム
19日前
サクサ株式会社
中継装置
1か月前
個人
スキャン式車載用撮像装置
1か月前
WHISMR合同会社
収音装置
2か月前
サクサ株式会社
中継装置
1か月前
アイホン株式会社
電気機器
2か月前
キヤノン電子株式会社
画像読取装置
19日前
続きを見る
他の特許を見る