TOP
|
特許
|
意匠
|
商標
特許ウォッチ
Twitter
他の特許を見る
10個以上の画像は省略されています。
公開番号
2025157126
公報種別
公開特許公報(A)
公開日
2025-10-15
出願番号
2025017958
出願日
2025-02-05
発明の名称
端末及び通信方法
出願人
株式会社NTTドコモ
代理人
弁理士法人ITOH
主分類
H04W
52/02 20090101AFI20251007BHJP(電気通信技術)
要約
【課題】省電力状態に遷移可能な基地局から送信されるオンデマンドSSB(SS/PBCH Block)に係る通知を実行する端末及び方法を提供する。
【解決手段】無線通信システムにおいて、端末20は、少なくともオンデマンドSSBのアダプテーションに係る設定を基地局から受信する受信部220と、アダプテーションに係る設定に基づいて、アダプテーションされたオンデマンドSSBを受信する制御部240とを有し、受信部220は、アダプテーションされたオンデマンドSSBの送信が開始される通知及びアダプテーションされたオンデマンドSSBの送信が終了される通知を基地局から受信する。
【選択図】図18
特許請求の範囲
【請求項1】
少なくともオンデマンドSSB(SS/PBCH Block)のアダプテーションに係る設定を基地局から受信する受信部と、
前記アダプテーションに係る設定に基づいて、アダプテーションされたオンデマンドSSBを受信する制御部とを有し、
前記受信部は、前記アダプテーションされたオンデマンドSSBの送信が開始される通知及び前記アダプテーションされたオンデマンドSSBの送信が終了される通知を前記基地局から受信する端末。
続きを表示(約 620 文字)
【請求項2】
前記制御部は、前記アダプテーションに係る設定に基づいて、アダプテーションされたオンデマンドSSB及び常時オンSSBの周期を特定する請求項1記載の端末。
【請求項3】
前記制御部は、前記アダプテーションされたオンデマンドSSBの送信が開始される通知を受信してから一定時間経過後にアダプテーションされたオンデマンドSSBを受信する請求項1記載の端末。
【請求項4】
前記制御部は、前記アダプテーションに係る設定に基づいて、アダプテーションされたオンデマンドSSBの送信タイミングを特定する請求項1記載の端末。
【請求項5】
前記制御部は、前記アダプテーションに係る設定に基づいて、アダプテーションされたオンデマンドSSBのインデックスから構成されるバーストのビットマップが間引きされることを特定する請求項1記載の端末。
【請求項6】
少なくともオンデマンドSSB(SS/PBCH Block)のアダプテーションに係る設定を基地局から受信する手順と、
前記アダプテーションに係る設定に基づいて、アダプテーションされたオンデマンドSSBを受信する手順と、
前記アダプテーションされたオンデマンドSSBの送信が開始される通知及び前記アダプテーションされたオンデマンドSSBの送信が終了される通知を前記基地局から受信する手順とを端末が実行する通信方法。
発明の詳細な説明
【技術分野】
【0001】
本発明は、無線通信システムにおける端末及び通信方法に関する。
続きを表示(約 2,400 文字)
【背景技術】
【0002】
LTE(Long Term Evolution)の後継システムであるNR(New Radio)(「5G」ともいう。)においては、要求条件として、大容量のシステム、高速なデータ伝送速度、低遅延、多数の端末の同時接続、低コスト、省電力等を満たす技術が検討されている(例えば非特許文献1)。
【0003】
また、3GPP(登録商標)のリリース18では、環境持続可能性、カーボンニュートラル、SDGs(Sustainable Development Goals)、運用コストの低減等を達成するため、ネットワークにおける省電力化(Network energy savings)が重要性を増し、省電力化する手法が検討されている(例えば非特許文献2)。
【先行技術文献】
【非特許文献】
【0004】
3GPP TS 38.300 V18.0.0 (2023-12)
"New WID: Network energy savings for NR", RP-223540, 3GPP TSG RAN Meeting #98-e, 2022年12月
3GPP TS 38.331 V18.0.0 (2023-12)
3GPP TS 38.211 V18.1.0 (2023-12)
3GPP TS 38.213 V18.1.0 (2023-12)
3GPP TS 38.133 V18.4.0 (2023-12)
【発明の概要】
【発明が解決しようとする課題】
【0005】
カーボンニュートラルとSDGsを達成するため、基地局の消費電力を節約することの重要性が高まっており、基地局における間欠送受信を導入することが検討されている。省電力状態(エナジーセービング、Energy saving、ES)をサポートするセルにおいて、オンデマンドSSB(SS/PBCH Block)を使用する場合、アダプテーションをどのように実行するか、アクティベーション又はディアクティベーションをどのように実行するかが規定されていなかった。
【0006】
本発明は上記の点に鑑みてなされたものであり、省電力状態に遷移可能な基地局から送信されるオンデマンドSSB(SS/PBCH Block)に係る通知を実行することを目的とする。
【課題を解決するための手段】
【0007】
開示の技術によれば、少なくともオンデマンドSSB(SS/PBCH Block)のアダプテーションに係る設定を基地局から受信する受信部と、前記アダプテーションに係る設定に基づいて、アダプテーションされたオンデマンドSSBを受信する制御部とを有し、前記受信部は、前記アダプテーションされたオンデマンドSSBの送信が開始される通知及び前記アダプテーションされたオンデマンドSSBの送信が終了される通知を前記基地局から受信する端末が提供される。
【発明の効果】
【0008】
開示の技術によれば、省電力状態に遷移可能な基地局から送信されるオンデマンドSSB(SS/PBCH Block)に係る通知を実行することができる。
【図面の簡単な説明】
【0009】
本発明の実施の形態に係る無線通信システムについて説明するための図である。
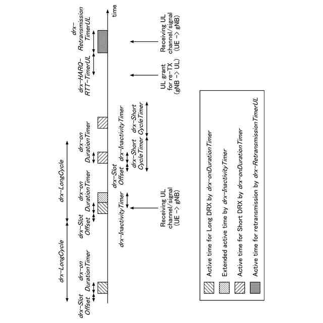
NRリリース15におけるCDRXについて説明するための図である。
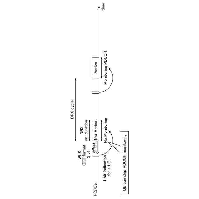
NRリリース16におけるWUSについて説明するための図である。
本発明の実施の形態の実施例1に係る基地局の間欠受信について説明するための図である。
本発明の実施の形態の実施例1に係る各パラメータについて説明するための図である。
本発明の実施の形態の実施例5に係る基地局の間欠送信について説明するための図である。
本発明の実施の形態の実施例5に係る各パラメータについて説明するための図である。
本発明の実施の形態の実施例9に係るOSI送信の例(1)を説明するためのシーケンス図である。
本発明の実施の形態の実施例9に係るOSI送信の例(2)を説明するためのシーケンス図である。
本発明の実施の形態の実施例9に係るオンデマンドSSBの例を示す図である。
本発明の実施の形態の実施例9に係るオンデマンドSSBに係る動作の例を説明するためのシーケンス図である。
本発明の実施の形態の実施例9に係るランダムアクセス手順の例を説明するためのシーケンス図である。
本発明の実施の形態の実施例9に係るSSBの例を説明するための図である。
本発明の実施の形態の実施例10に係るSSBアダプテーションの例を説明するためのフローチャートである。
本発明の実施の形態の実施例10に係るSSBアダプテーションの例(1)を説明するための図である。
本発明の実施の形態の実施例10に係るSSBアダプテーションの例(2)を説明するための図である。
本発明の実施の形態に係る基地局の機能構成の一例を示す図である。
本発明の実施の形態に係る端末の機能構成の一例を示す図である。
本発明の実施の形態に係る基地局又は端末のハードウェア構成の一例を示す図である。
本発明の実施の形態に係る車両の構成の一例を示す図である。
【発明を実施するための形態】
【0010】
以下、図面を参照して本発明の実施の形態を説明する。なお、以下で説明する実施の形態は一例であり、本発明が適用される実施の形態は、以下の実施の形態に限られない。
(【0011】以降は省略されています)
この特許をJ-PlatPat(特許庁公式サイト)で参照する
関連特許
株式会社NTTドコモ
端末及び通信方法
12日前
株式会社NTTドコモ
端末及び通信方法
13日前
株式会社NTTドコモ
端末及び測位方法
3日前
株式会社NTTドコモ
端末及び通信方法
3日前
株式会社NTTドコモ
端末及び通信方法
16日前
株式会社NTTドコモ
端末及び通信方法
13日前
株式会社NTTドコモ
端末及び通信方法
11日前
株式会社NTTドコモ
管理装置及び管理方法
16日前
株式会社NTTドコモ
管理装置及び管理方法
16日前
株式会社NTTドコモ
管理装置及び管理方法
16日前
株式会社NTTドコモ
情報処理装置及び方法
10日前
株式会社NTTドコモ
生成装置及び生成方法
4日前
株式会社NTTドコモ
端末、無線通信方法及び基地局
3日前
株式会社NTTドコモ
人物同定装置、及び人物同定方法
2日前
株式会社NTTドコモ
情報処理装置及びナビゲーション方法
2日前
株式会社NTTドコモ
端末
12日前
株式会社NTTドコモ
太陽電池の配置支援装置及び太陽電池の配置支援方法
16日前
株式会社NTTドコモ
端末
18日前
株式会社NTTドコモ
端末及び通信方法
2日前
株式会社NTTドコモ
端末、無線通信システム及び無線通信方法
12日前
個人
イヤーピース
23日前
個人
イヤーマフ
1か月前
個人
監視カメラシステム
1か月前
キーコム株式会社
光伝送線路
1か月前
個人
スイッチシステム
1か月前
サクサ株式会社
中継装置
1か月前
個人
スキャン式車載用撮像装置
1か月前
サクサ株式会社
中継装置
1か月前
WHISMR合同会社
収音装置
2か月前
キヤノン株式会社
撮像装置
2日前
アイホン株式会社
電気機器
2か月前
個人
映像表示装置、及びARグラス
1か月前
キヤノン電子株式会社
画像読取装置
23日前
キヤノン電子株式会社
画像読取装置
1か月前
サクサ株式会社
無線通信装置
1か月前
サクサ株式会社
無線通信装置
1か月前
続きを見る
他の特許を見る