TOP
|
特許
|
意匠
|
商標
特許ウォッチ
Twitter
他の特許を見る
10個以上の画像は省略されています。
公開番号
2025157193
公報種別
公開特許公報(A)
公開日
2025-10-15
出願番号
2025063530
出願日
2025-04-08
発明の名称
端末及び通信方法
出願人
株式会社NTTドコモ
代理人
弁理士法人ITOH
主分類
H04W
74/0833 20240101AFI20251007BHJP(電気通信技術)
要約
【課題】無線通信システムにおいて、追加PRACH(Physical random access channel)リソースを適切に設定すること。
【解決手段】端末は、追加PRACH(Physical random access channel)リソースに係る設定を基地局から受信する受信部と、前記設定に基づく追加PRACHリソースと、他のPRACHリソースが時間領域及び周波数領域でオーバラップする場合、前記設定に基づく追加PRACHリソースのうち、有効な追加PRACHリソースを特定する制御部と、前記有効な追加PRACHリソースを使用してランダムアクセス手順を実行する制御部とを有する。
【選択図】図15
特許請求の範囲
【請求項1】
追加PRACH(Physical random access channel)リソースに係る設定を基地局から受信する受信部と、
前記設定に基づく追加PRACHリソースと、他のPRACHリソースが時間領域及び周波数領域でオーバラップする場合、前記設定に基づく追加PRACHリソースのうち、有効な追加PRACHリソースを特定する制御部と、
前記有効な追加PRACHリソースを使用してランダムアクセス手順を実行する制御部とを有する端末。
続きを表示(約 910 文字)
【請求項2】
前記制御部は、前記設定に基づく追加PRACHリソースと、追加PRACHリソースではないPRACHリソースが時間領域及び周波数領域でオーバラップする場合、前記設定に基づく追加PRACHリソースのうち、オーバラップする追加PRACHリソースを無効とする請求項1記載の端末。
【請求項3】
前記制御部は、前記設定に基づく追加PRACHリソースと、追加PRACHリソースではないPRACHリソースが時間領域及び周波数領域でオーバラップする場合、かつ、オーバラップする前記追加PRACHリソースではないPRACHリソースにSSB(SS/PBCH block)が関連付けられていない場合、前記設定に基づく追加PRACHリソースのうち、オーバラップする追加PRACHリソースを有効とする請求項1記載の端末。
【請求項4】
前記制御部は、前記設定に基づく追加PRACHリソースと、他の追加PRACHリソースが時間領域及び周波数領域でオーバラップする場合、前記設定に基づく追加PRACHリソースのうち、オーバラップする追加PRACHリソースを無効とする請求項1記載の端末。
【請求項5】
前記制御部は、前記設定に基づく追加PRACHリソースと、他の追加PRACHリソースが時間領域及び周波数領域でオーバラップする場合、前記設定に基づく追加PRACHリソースのうち、前記他の追加PRACHリソースよりも先にトリガされたオーバラップする追加PRACHリソースを有効とする請求項1記載の端末。
【請求項6】
追加PRACH(Physical random access channel)リソースに係る設定を基地局から受信する手順と、
前記設定に基づく追加PRACHリソースと、他のPRACHリソースが時間領域及び周波数領域でオーバラップする場合、前記設定に基づく追加PRACHリソースのうち、有効な追加PRACHリソースを特定する手順と、
前記有効な追加PRACHリソースを使用してランダムアクセス手順を実行する手順とを端末が実行する通信方法。
発明の詳細な説明
【技術分野】
【0001】
本発明は、無線通信システムにおける端末及び通信方法に関する。
続きを表示(約 2,500 文字)
【背景技術】
【0002】
LTE(Long Term Evolution)の後継システムであるNR(New Radio)(「5G」ともいう。)においては、要求条件として、大容量のシステム、高速なデータ伝送速度、低遅延、多数の端末の同時接続、低コスト、省電力等を満たす技術が検討されている(例えば非特許文献1)。
【0003】
また、3GPP(登録商標)のリリース18では、環境持続可能性、カーボンニュートラル、SDGs(Sustainable Development Goals)、運用コストの低減等を達成するため、ネットワークにおける省電力化(Network energy savings)が重要性を増し、省電力化する手法が検討されている(例えば非特許文献2)。
【先行技術文献】
【非特許文献】
【0004】
3GPP TS 38.300 V18.0.0 (2023-12)
"New WID: Network energy savings for NR", RP-223540, 3GPP TSG RAN Meeting #98-e, 2022年12月
3GPP TS 38.331 V18.0.0 (2023-12)
3GPP TS 38.211 V18.1.0 (2023-12)
3GPP TS 38.213 V18.1.0 (2023-12)
3GPP TS 38.321 V18.0.0 (2023-12)
【発明の概要】
【発明が解決しようとする課題】
【0005】
NESを達成するため、PRACH(Physical random access channel)アダプテーションが検討されている。一方で、PRACHアダプテーションにより、追加PRACHリソースが設定されたとき、レガシPRACHリソースあるいは他の追加PRACHリソースとオーバラップするケースを適切に処理する必要がある。
【0006】
本発明は上記の点に鑑みてなされたものであり、無線通信システムにおいて、追加PRACH(Physical random access channel)リソースを適切に設定することを目的とする。
【課題を解決するための手段】
【0007】
開示の技術によれば、追加PRACH(Physical random access channel)リソースに係る設定を基地局から受信する受信部と、前記設定に基づく追加PRACHリソースと、他のPRACHリソースが時間領域及び周波数領域でオーバラップする場合、前記設定に基づく追加PRACHリソースのうち、有効な追加PRACHリソースを特定する制御部と、前記有効な追加PRACHリソースを使用してランダムアクセス手順を実行する制御部とを有する端末が提供される。
【発明の効果】
【0008】
開示の技術によれば、無線通信システムにおいて、追加PRACH(Physical random access channel)リソースを適切に設定することができる。
【図面の簡単な説明】
【0009】
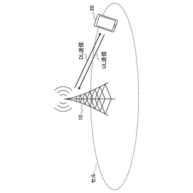
本発明の実施の形態に係る無線通信システムについて説明するための図である。
NRリリース15におけるCDRXについて説明するための図である。
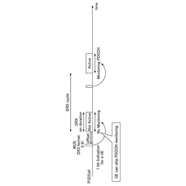
NRリリース16におけるWUSについて説明するための図である。
本発明の実施の形態の実施例1に係る基地局の間欠受信について説明するための図である。
本発明の実施の形態の実施例1に係る各パラメータについて説明するための図である。
本発明の実施の形態の実施例5に係る基地局の間欠送信について説明するための図である。
本発明の実施の形態の実施例5に係る各パラメータについて説明するための図である。
本発明の実施の形態の実施例9に係るOSI送信の例(1)を説明するためのシーケンス図である。
本発明の実施の形態の実施例9に係るOSI送信の例(2)を説明するためのシーケンス図である。
本発明の実施の形態の実施例9に係るオンデマンドSSBの例を示す図である。
本発明の実施の形態の実施例9に係るオンデマンドSSBに係る動作の例を説明するためのシーケンス図である。
本発明の実施の形態の実施例9に係るランダムアクセス手順の例を説明するためのシーケンス図である。
本発明の実施の形態の実施例9に係るSSBの例を説明するための図である。
本発明の実施の形態の実施例10に係るBWPにおける追加PRACH設定の例を示す図である。
本発明の実施の形態の実施例10に係るPRACHアダプテーションの例(1)を説明するためのフローチャートである。
本発明の実施の形態の実施例10に係るPRACHアダプテーションの例(1)を説明するための図である。
本発明の実施の形態の実施例10に係るPRACHアダプテーションの例(2)を説明するためのフローチャートである。
本発明の実施の形態の実施例10に係るPRACHアダプテーションの例(2)を説明するための図である。
本発明の実施の形態の実施例10に係るPRACHアダプテーションの例(3)を説明するための図である。
本発明の実施の形態に係る基地局の機能構成の一例を示す図である。
本発明の実施の形態に係る端末の機能構成の一例を示す図である。
本発明の実施の形態に係る基地局又は端末のハードウェア構成の一例を示す図である。
【発明を実施するための形態】
【0010】
以下、図面を参照して本発明の実施の形態を説明する。なお、以下で説明する実施の形態は一例であり、本発明が適用される実施の形態は、以下の実施の形態に限られない。
(【0011】以降は省略されています)
この特許をJ-PlatPat(特許庁公式サイト)で参照する
関連特許
株式会社NTTドコモ
端末
1か月前
株式会社NTTドコモ
端末
1か月前
株式会社NTTドコモ
端末
1か月前
株式会社NTTドコモ
端末
1か月前
株式会社NTTドコモ
端末
1か月前
株式会社NTTドコモ
端末
1か月前
株式会社NTTドコモ
端末
1か月前
株式会社NTTドコモ
基地局
1か月前
株式会社NTTドコモ
デバイス
1か月前
株式会社NTTドコモ
デバイス
1か月前
株式会社NTTドコモ
デバイス
1か月前
株式会社NTTドコモ
推定装置
19日前
株式会社NTTドコモ
携帯端末
19日前
株式会社NTTドコモ
装置及び方法
1か月前
株式会社NTTドコモ
情報処理装置
27日前
株式会社NTTドコモ
情報処理装置
21日前
株式会社NTTドコモ
情報処理装置
19日前
株式会社NTTドコモ
移動通信端末
12日前
株式会社NTTドコモ
基地局及び端末
1か月前
株式会社NTTドコモ
端末及び基地局
1か月前
株式会社NTTドコモ
端末及び基地局
1か月前
株式会社NTTドコモ
端末及び基地局
1か月前
株式会社NTTドコモ
基地局及び端末
1か月前
株式会社NTTドコモ
端末及び通信方法
1か月前
株式会社NTTドコモ
端末及び通信方法
1か月前
株式会社NTTドコモ
端末及び通信方法
1か月前
株式会社NTTドコモ
端末及び通信方法
1か月前
株式会社NTTドコモ
端末及び通信方法
1か月前
株式会社NTTドコモ
端末及び通信方法
1か月前
株式会社NTTドコモ
端末及び通信方法
1か月前
株式会社NTTドコモ
端末及び通信方法
1か月前
株式会社NTTドコモ
端末及び通信方法
1か月前
株式会社NTTドコモ
端末及び通信方法
1か月前
株式会社NTTドコモ
端末及び通信方法
1か月前
株式会社NTTドコモ
端末及び通信方法
1か月前
株式会社NTTドコモ
端末及び通信方法
1か月前
続きを見る
他の特許を見る