TOP
|
特許
|
意匠
|
商標
特許ウォッチ
Twitter
他の特許を見る
10個以上の画像は省略されています。
公開番号
2025157134
公報種別
公開特許公報(A)
公開日
2025-10-15
出願番号
2025019535
出願日
2025-02-07
発明の名称
端末及び通信方法
出願人
株式会社NTTドコモ
代理人
弁理士法人ITOH
主分類
H04W
52/02 20090101AFI20251007BHJP(電気通信技術)
要約
【課題】低電力ウェイクアップ信号に適用される方式に応じて、適切に低電力ウェイクアップ信号のモニタリングを可能とする。
【解決手段】
端末は、基地局からの低電力ウェイクアップ信号のモニタリングを実行する受信部と、前記基地局からの前記低電力ウェイクアップ信号に適用される方式を示す指示情報又は当該端末が有する前記低電力ウェイクアップ信号に適用される方式に関する端末能力のうち少なくとも一方に基づき、前記低電力ウェイクアップ信号に適用される方式を決定する制御部と、を備え、前記制御部は、前記決定された方式に基づき、前記モニタリングを制御し、前記方式は、ビットマップ方式又はコードポイント方式である。
【選択図】図3
特許請求の範囲
【請求項1】
基地局からの低電力ウェイクアップ信号のモニタリングを実行する受信部と、
前記基地局からの前記低電力ウェイクアップ信号に適用される方式を示す指示情報又は当該端末が有する前記低電力ウェイクアップ信号に適用される方式に関する端末能力のうち少なくとも一方に基づき、前記低電力ウェイクアップ信号に適用される方式を決定する制御部と、を備え、
前記制御部は、前記決定された方式に基づき、前記モニタリングを制御し、
前記方式は、ビットマップ方式又はコードポイント方式である、端末。
続きを表示(約 670 文字)
【請求項2】
前記端末能力を示す情報を、前記基地局に送信する送信部を備え、
前記指示情報が示す前記低電力ウェイクアップ信号に適用される方式は、前記端末能力に基づき、前記基地局により決定される、請求項1に記載の端末。
【請求項3】
前記端末能力は、当該端末がサポートする前記低電力ウェイクアップ信号に適用される方式、当該端末に設定されるべき前記低電力ウェイクアップ信号に適用される方式又は当該端末の受信機のタイプのうちの少なくとも一つを示す、請求項1に記載の端末。
【請求項4】
前記端末は、RRC (Radio Resource Control) CONNECTDモードである、請求項1に記載の端末。
【請求項5】
前記端末は、RRC IDLE/INACTIVEモードである、請求項1に記載の端末。
【請求項6】
端末により実行される通信方法であって、
基地局からの低電力ウェイクアップ信号のモニタリングを実行するステップと、
前記基地局からの前記低電力ウェイクアップ信号に適用される方式を指示する情報又は前記端末が有する前記低電力ウェイクアップ信号に適用される方式に関する端末能力のうち少なくとも一方に基づき、前記低電力ウェイクアップ信号に適用される方式を決定するステップと、
前記決定された方式に基づき、前記モニタリングを制御するステップと、を備え、
前記方式は、ビットマップ方式又はコードポイント方式である、通信方法。
発明の詳細な説明
【技術分野】
【0001】
本発明は、無線通信システムにおける端末及び通信方法に関する。
続きを表示(約 2,300 文字)
【背景技術】
【0002】
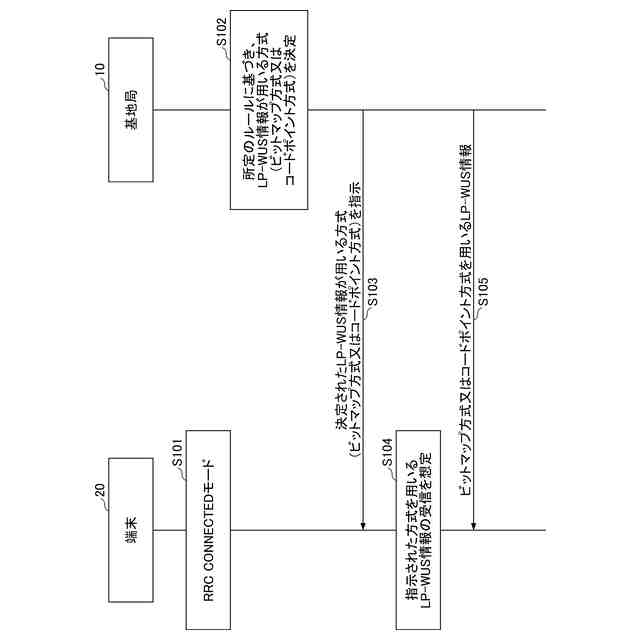
3GPP(登録商標)(3rd Generation Partnership Project)において、LP-WUS(Low Power Wake-Up Signal)に対して、ビットマップ方式又はコードポイント方式のいずれを適用すべきかが議論されている。これらの方式は、例えば、オーバーヘッドのサイズ、設計の容易さ、リソース管理の容易さ及びエネルギー効率の観点のそれぞれにおいて利点が異なる。そのため、LP-WUSがビットマップ方式及びコードポイント方式の両方をサポートしたり、RRC CONNECTED (接続)状態とRRC IDLE (アイドル)/INACTIVE (インアクティブ)状態とで異なる方式が用いられる可能性がある。
【先行技術文献】
【非特許文献】
【0003】
3GPP TS 38.300 V18.4.0 (2024-12)
3GPP TS 38.401 V18.4.0(2024-12)
【発明の概要】
【発明が解決しようとする課題】
【0004】
しかしながら、従来、LP-WUSが用いる方式をどのように端末に設定すべきか又は2つの方式をどのように切り替えるべきか明確にされていなかった。そのため、端末は、適切にLP-WUSモニタリングを実行し、LP-WUSを受信できないおそれがある。
【課題を解決するための手段】
【0005】
本実施形態における端末は、基地局からの低電力ウェイクアップ信号のモニタリングを実行する受信部と、前記基地局からの前記低電力ウェイクアップ信号に適用される方式を示す指示情報又は当該端末が有する前記低電力ウェイクアップ信号に適用される方式に関する端末能力のうち少なくとも一方に基づき、前記低電力ウェイクアップ信号に適用される方式を決定する制御部と、を備え、前記制御部は、前記決定された方式に基づき、前記モニタリングを制御し、前記方式は、ビットマップ方式又はコードポイント方式である。
【発明の効果】
【0006】
本実施形態によれば、低電力ウェイクアップ信号に適用される方式に応じて、適切に低電力ウェイクアップ信号のモニタリングを可能とする。
【図面の簡単な説明】
【0007】
本実施形態における無線通信システムを説明するための図である。
実施例1-1における端末及び基地局の動作の一例を示すシーケンス図である。
実施例1-2における端末及び基地局の動作の一例を示すシーケンス図である。
実施例1-3における端末及び基地局の動作の一例を示すシーケンス図である。
実施例1-2及び1-3の変形例における端末及び基地局の動作の一例を示すシーケンス図である。
実施例1-4における端末及び基地局の動作の一例を示すシーケンス図である。
実施例2-1における端末及び基地局の動作の一例を示すシーケンス図である。
実施例2-2における端末及び基地局の動作の一例を示すシーケンス図である。
実施例2-3における端末及び基地局の動作の一例を示すシーケンス図である。
実施例2-2及び2-3の変形例における端末及び基地局の動作の一例を示すシーケンス図である。
実施例2-4における端末及び基地局の動作の一例を示すシーケンス図である。
本実施形態における基地局の機能構成の一例を示す図である。
本実施形態における端末の機能構成の一例を示す図である。
本実施形態における基地局又は端末のハードウェア構成の一例を示す図である。
本実施形態における車両の構成の一例を示す図である。
【発明を実施するための形態】
【0008】
以下、図面を参照して本実施形態を説明する。なお、以下で説明する実施の形態は一例であり、本発明が適用される実施の形態は、以下の実施の形態に限られない。
【0009】
本実施形態の無線通信システムは、既存技術を用いて動作する。既存技術は、例えば、3GPP規格のような通信規格に基づく無線通信技術である。既存技術は、例えばNR(New Radio)であるが、既存のNRに限られない。本明細書で使用する用語「NR」は、特に断らない限り、NR(5G)以降の方式(例えば、6G)を含む広い意味を有するものとする。
【0010】
以下で説明する本実施形態では、既存の通信規格で使用されているSS(Synchronization signal)、PSS(Primary SS)、SSS(Secondary SS)、PBCH(Physical broadcast channel)、PRACH(Physical random access channel)、PDCCH(Physical Downlink Control Channel)、PDSCH(Physical Downlink Shared Channel)、PUCCH(Physical Uplink Control Channel)、PUSCH(Physical Uplink Shared Channel)等の用語を使用する。これは記載の便宜上のためであり、これらと同様の信号、機能等が他の名称で呼ばれてもよい。
(【0011】以降は省略されています)
この特許をJ-PlatPat(特許庁公式サイト)で参照する
関連特許
株式会社NTTドコモ
推定装置
1か月前
株式会社NTTドコモ
携帯端末
1か月前
株式会社NTTドコモ
情報処理装置
1か月前
株式会社NTTドコモ
情報処理装置
1か月前
株式会社NTTドコモ
移動通信端末
24日前
株式会社NTTドコモ
端末及び測位方法
3日前
株式会社NTTドコモ
端末及び通信方法
3日前
株式会社NTTドコモ
端末及び通信方法
11日前
株式会社NTTドコモ
端末及び通信方法
12日前
株式会社NTTドコモ
端末及び通信方法
1か月前
株式会社NTTドコモ
端末及び通信方法
1か月前
株式会社NTTドコモ
端末及び通信方法
13日前
株式会社NTTドコモ
端末及び通信方法
13日前
株式会社NTTドコモ
端末及び通信方法
16日前
株式会社NTTドコモ
情報処理装置及び方法
25日前
株式会社NTTドコモ
情報処理装置及び方法
25日前
株式会社NTTドコモ
管理装置及び管理方法
16日前
株式会社NTTドコモ
管理装置及び管理方法
16日前
株式会社NTTドコモ
情報処理装置及び方法
10日前
株式会社NTTドコモ
生成装置及び生成方法
4日前
株式会社NTTドコモ
管理装置及び管理方法
16日前
株式会社NTTドコモ
生成システム及び生成方法
23日前
株式会社NTTドコモ
端末、基地局及び通信方法
1か月前
株式会社NTTドコモ
情報処理装置及び情報処理方法
1か月前
株式会社NTTドコモ
測位支援装置及び測位支援方法
18日前
株式会社NTTドコモ
端末、無線通信方法及び基地局
3日前
株式会社NTTドコモ
人物同定装置、及び人物同定方法
2日前
株式会社NTTドコモ
電力監視装置、及び、電力監視方法
18日前
株式会社NTTドコモ
情報処理装置及びナビゲーション方法
2日前
株式会社NTTドコモ
基地局、ネットワークノード及び端末
1か月前
株式会社NTTドコモ
最適化支援装置および最適化支援方法
1か月前
株式会社NTTドコモ
太陽電池の配置支援装置及び太陽電池の配置支援方法
16日前
株式会社NTTドコモ
端末
12日前
株式会社NTTドコモ
端末
18日前
株式会社NTTドコモ
端末及び通信方法
2日前
株式会社NTTドコモ
端末及び通信方法
25日前
続きを見る
他の特許を見る