TOP
|
特許
|
意匠
|
商標
特許ウォッチ
Twitter
他の特許を見る
公開番号
2025177922
公報種別
公開特許公報(A)
公開日
2025-12-05
出願番号
2024085084
出願日
2024-05-24
発明の名称
インターホンシステム
出願人
アイホン株式会社
代理人
個人
主分類
H04M
9/00 20060101AFI20251128BHJP(電気通信技術)
要約
【課題】 ワイヤレス親機の操作で自身をスリープモードに設定できるインターホンシステムを提供する。
【解決手段】 居住者を呼び出す機能を備えた子機1と、子機1からの呼び出しに応答する機能を備えた親機2とを有し、親機2は固定設置された主親機21に加えて携行可能なワイヤレス親機31を具備し、ワイヤレス親機31は主親機21と無線通信することで子機1からの呼び出しに応答可能であり、ワイヤレス親機31は呼出動作を実施しないスリープモードに設定するスリープボタン33aを有し、ワイヤレス親機31がスリープモードに設定されると、子機1が呼出操作されて主親機21経由でワイヤレス親機31に呼出信号が送信されても、呼出動作を実施しない。
【選択図】 図1
特許請求の範囲
【請求項1】
居住者を呼び出す機能を備えた子機と、前記子機からの呼び出しに応答する機能を備えた親機とを有し、前記親機は固定設置された主親機に加えて携行可能なワイヤレス親機を具備し、前記ワイヤレス親機は前記主親機と無線通信することで前記子機からの呼び出しに応答可能であるインターホンシステムであって、
前記ワイヤレス親機は、前記子機の操作に基づく呼出動作を実施しないスリープモードに設定するスリープボタンを有し、
前記ワイヤレス親機がスリープモードに設定されると、前記子機が呼出操作されて前記主親機経由で前記ワイヤレス親機に呼出信号が送信されても、呼出動作を実施しないことを特徴とするインターホンシステム。
続きを表示(約 130 文字)
【請求項2】
前記ワイヤレス親機の前記スリープボタンの操作によるスリープモードへの移行は前記主親機に通知され、
前記ワイヤレス親機がスリープモード設定されたことを前記主親機で認識できることを特徴とする請求項1記載のインターホンシステム。
発明の詳細な説明
【技術分野】
【0001】
本発明はインターホンシステムに関し、特に来訪者からの呼び出しに応答するための親機を複数備えたインターホンシステムに関する。
続きを表示(約 2,100 文字)
【背景技術】
【0002】
来訪者が居住者を呼び出して通話を実施するインターホンシステムには、来訪者が操作する子機と、子機から呼び出しを受けて居住者が応答操作する親機とを備えているが、居住者が応答し易いように親機を複数備えたシステムがある。
親機を複数備えている場合、親機の少なくとも1台は携行可能としたワイヤレス型のものが普及している。例えば特許文献1では、子機が呼出操作されると、親機及びワイヤレス親機に呼び出しが通知され、ワイヤレス親機で応答操作すると子機とワイヤレス親機との間で通話路が形成され、来訪者と居住者であるワイヤレス親機の操作者との間で通話できた。
一方でインターホンシステムには、子機が呼出操作されても親機が呼出音を鳴動しない消音モード(スリープモード)機能を備えたインターホンシステムがある(例えば、特許文献2参照)。
【先行技術文献】
【特許文献】
【0003】
特開2011-176764号公報
特開2022-133899号公報
【発明の概要】
【発明が解決しようとする課題】
【0004】
固定設置された主親機に加えてワイヤレス親機を備えたインターホンシステムの場合、主親機のスリープモード設定は、主親機を操作して設定できたが、ワイヤレス親機をスリープモードに設定する操作は、主親機の操作で行われた。これは、ワイヤレス親機は内蔵の電池で駆動するため、電力消費を抑制するために通常は省エネルギーモード状態にしていたためであり、主親機から送信される信号で起動するよう設定された。
そのため、ワイヤレス親機側でスリープモード等の主親機から信号を受け付けない設定にしてしまうと、主親機の操作で起動させることができない状態の発生が考えられるためであった。
しかしながら、近年ワイヤレス親機の電源事情も改善され、省エネルギーモードにしなくても消費電力は少なくなってきている。
【0005】
そこで、本発明はこのような点に鑑み、ワイヤレス親機の操作で自身を子機から呼び出しを受けても呼出動作を行わないスリープモードに設定できるインターホンシステムを提供することを目的としている。
【課題を解決するための手段】
【0006】
上記課題を解決する為に、本発明に係るインターホンシステムの構成は、居住者を呼び出す機能を備えた子機と、子機からの呼び出しに応答する機能を備えた親機とを有し、親機は固定設置された主親機に加えて携行可能なワイヤレス親機を具備し、ワイヤレス親機は主親機と無線通信することで子機からの呼び出しに応答可能であるインターホンシステムであって、ワイヤレス親機は、子機の操作に基づく呼出動作を実施しないスリープモードに設定するスリープボタンを有し、ワイヤレス親機がスリープモードに設定されると、子機が呼出操作されて主親機経由でワイヤレス親機に呼出信号が送信されても、呼出動作を実施しないことを特徴とする。
この構成によれば、主親機を操作すること無く、ワイヤレス親機自身の操作で子機の操作に基づく呼出動作を行わないスリープモードに移行させることができるため、利便性が良い。
【0007】
本発明の別の態様は、上記構成において、ワイヤレス親機のスリープボタンの操作によるスリープモードへの移行は主親機に通知され、ワイヤレス親機がスリープモード設定されたことを主親機で認識できることを特徴とする。
この構成によれば、ワイヤレス親機がスリープモード設定されたことを主親機で認識できるため、ワイヤレス親機で確認する必要が無く利便性が良い。
【発明の効果】
【0008】
本発明によれば、主親機を操作すること無く、ワイヤレス親機自身の操作で子機からの呼出信号を受け付けないスリープモードに移行させることができるため、利便性が良い。
【図面の簡単な説明】
【0009】
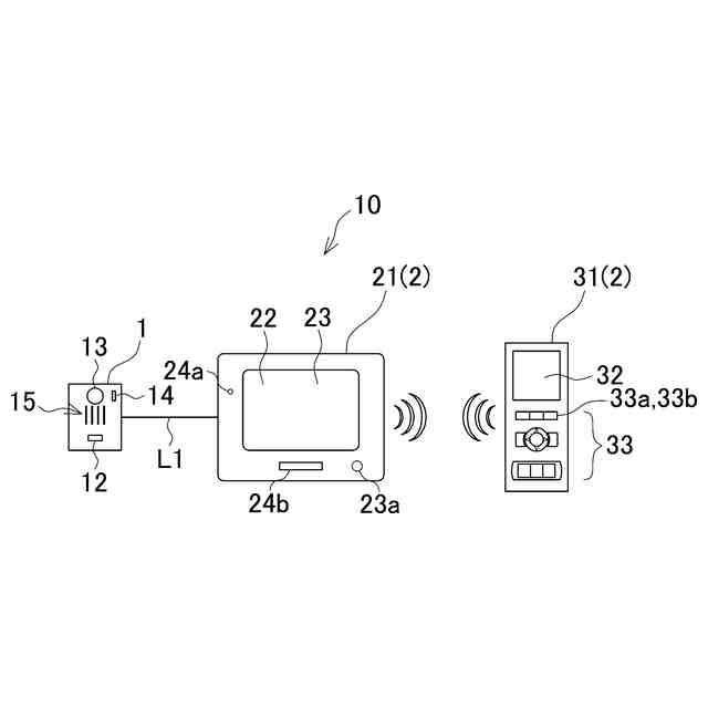
本発明に係るインターホンシステムの一例を示す構成図である。
主親機のブロック図である。
ワイヤレス親機のブロック図である。
【発明を実施するための形態】
【0010】
以下、本発明を具体化した実施の形態を、図面を参照して詳細に説明する。図1は本発明に係るインターホンシステムの一例を示す構成図である。図1に示すように、インターホンシステム10は玄関等に設置されて来訪者が居住者を呼び出すための子機1、住戸内に設置されて子機1からの呼び出しに応答するための親機2を有している。但し、親機2は、固定設置された主親機21と携行可能な無線式のワイヤレス親機31とで構成されている。
子機1と主親機21とは伝送線L1で接続され、主親機21とワイヤレス親機31との間の通信は例えばTDMA方式の無線で実施される。
(【0011】以降は省略されています)
この特許をJ-PlatPat(特許庁公式サイト)で参照する
関連特許
アイホン株式会社
通信システム
1か月前
アイホン株式会社
カメラシステム
1か月前
アイホン株式会社
インターホンシステム
1日前
アイホン株式会社
インターホンシステム
1日前
アイホン株式会社
カメラ装置の保持構造
1か月前
アイホン株式会社
インターホンシステム
1か月前
アイホン株式会社
インターホンシステム
1か月前
アイホン株式会社
インターホンシステム
1か月前
アイホン株式会社
インターホンシステム
1か月前
アイホン株式会社
仕様情報管理システム
2か月前
アイホン株式会社
鍵貸出システム、鍵貸出システムを備えた集合玄関機
1か月前
アイホン株式会社
インターホンシステムおよびインターホンシステムにおける制御方法
1か月前
個人
イヤーピース
29日前
個人
イヤーマフ
1か月前
個人
監視カメラシステム
1か月前
キーコム株式会社
光伝送線路
1か月前
個人
スイッチシステム
1か月前
サクサ株式会社
中継装置
1か月前
サクサ株式会社
中継装置
1か月前
WHISMR合同会社
収音装置
2か月前
個人
スキャン式車載用撮像装置
1か月前
キヤノン株式会社
撮像装置
8日前
キヤノン株式会社
撮像装置
1日前
キヤノン株式会社
撮像装置
1日前
キヤノン株式会社
撮像装置
1日前
キヤノン株式会社
撮像装置
3か月前
アイホン株式会社
電気機器
2か月前
キヤノン電子株式会社
画像読取装置
29日前
キヤノン電子株式会社
画像読取装置
1か月前
株式会社リコー
画像形成装置
3か月前
株式会社リコー
画像形成装置
3か月前
キヤノン電子株式会社
画像読取装置
1か月前
キヤノン電子株式会社
画像読取装置
2か月前
株式会社リコー
画像形成装置
1か月前
個人
映像表示装置、及びARグラス
1か月前
ヤマハ株式会社
放音制御装置
1か月前
続きを見る
他の特許を見る