TOP
|
特許
|
意匠
|
商標
特許ウォッチ
Twitter
他の特許を見る
公開番号
2025177921
公報種別
公開特許公報(A)
公開日
2025-12-05
出願番号
2024085083
出願日
2024-05-24
発明の名称
インターホンシステム
出願人
アイホン株式会社
代理人
個人
主分類
H04M
9/00 20060101AFI20251128BHJP(電気通信技術)
要約
【課題】 ワイヤレス親機側の操作で自身をスリープモードに設定/設定解除ができるインターホンシステムを提供する。
【解決手段】 子機1と親機2とを有し、親機2は固定設置された主親機21に加えて携行可能なワイヤレス親機31を備え、ワイヤレス親機31は主親機21と無線通信することで子機1からの呼び出しに応答可能である。ワイヤレス親機31は、自身を子機1が呼出操作されても呼出音を発報しないスリープモードに移行させるスリープボタン33aを有し、スリープボタン33aが操作されると、ワイヤレス親機31から主親機21にスリープ設定信号が送信され、スリープ設定信号を受けた主親機21がスリープ設定信号送信元のワイヤレス親機31に対して、子機1から送信された呼出信号を中継せず、結果ワイヤレス親機31はスリープモード状態となる。
【選択図】 図1
特許請求の範囲
【請求項1】
居住者を呼び出す機能を備えた子機と、前記子機からの呼び出しに応答する機能を備えた親機とを有し、前記親機は固定設置された主親機に加えて携行可能なワイヤレス親機を備え、前記ワイヤレス親機は前記主親機と無線通信することで前記子機からの呼び出しに応答可能であるインターホンシステムであって、
前記ワイヤレス親機は、自身を前記子機が呼出操作されても呼出音を発報しないスリープモードに移行させるスリープボタンを有し、
前記スリープボタンが操作されると、前記ワイヤレス親機から前記主親機にスリープ設定信号が送信され、
前記スリープ設定信号を受けた前記主親機が、前記スリープ設定信号送信元の前記ワイヤレス親機に対して、前記子機から送信された呼出信号を中継しないことで、前記ワイヤレス親機が前記スリープモード状態となることを特徴とするインターホンシステム。
続きを表示(約 820 文字)
【請求項2】
前記主親機は、無線LAN通信を実施する通信手段が接続或いは内蔵されていると共に、
前記ワイヤレス親機が、公衆通信網を介して無線通信を実施する携帯端末であって、
当該携帯端末に前記主親機と無線LAN通信を実施させると共に、前記ワイヤレス親機としての動作を実施させる所定のアプリケーションソフトウェアがインストールされて成り、
前記所定のアプリケーションソフトウェアがインストールされた前記携帯端末の所定の操作で、スリープ設定信号が前記主親機に送信でき、前記携帯端末を前記スリープモードに設定できることを特徴とする請求項1記載のインターホンシステム。
【請求項3】
居住者を呼び出す機能を備えた子機と、固定設置されて前記子機からの呼び出しに応答する機能を備えた主親機と、前記主親機と通信することで前記子機からの呼び出しに応答可能な携帯端末をワイヤレス親機として備えたインターホンシステムであって、
前記主親機には、公衆通信網を介してクラウド上の通信管理サーバと通信を実施する外部通信手段が接続或いは内蔵されており、
前記携帯端末と前記主親機とは、前記通信管理サーバを介して互いに通信を実施し、
前記携帯端末には、公衆通信網及び前記通信管理サーバ介して前記主親機と通信を実施させると共に、前記ワイヤレス親機としての動作を実施させる所定のアプリケーションソフトウェアがインストールされており、
前記所定のアプリケーションソフトウェアがインストールされた前記携帯端末がスリープ設定されると、当該スリープ設定操作を前記通信管理サーバが認識し、
スリープ設定操作を認識した前記通信管理サーバが、前記主親機から送信された前記子機の呼出信号を前記携帯端末に送信しない制御を行うことで、前記携帯端末がスリープモードに移行することを特徴とするインターホンシステム。
発明の詳細な説明
【技術分野】
【0001】
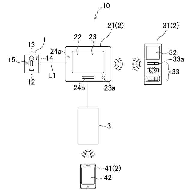
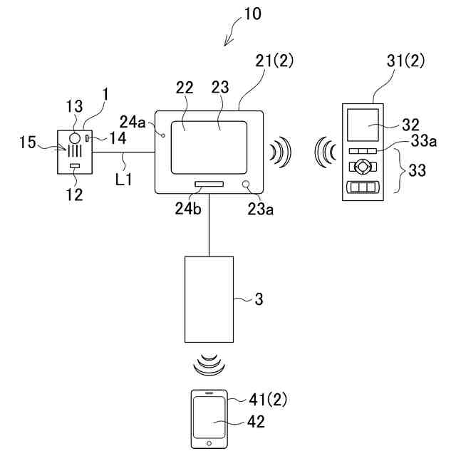
本発明はインターホンシステムに関し、特に来訪者からの呼び出しに応答するための親機を複数備えたインターホンシステムに関する。
続きを表示(約 3,100 文字)
【背景技術】
【0002】
来訪者が居住者を呼び出して通話を実施するインターホンシステムには、来訪者が操作する子機と、子機から呼び出しを受けて居住者が応答操作する親機とを備えているが、従来より居住者が応答し易いように親機を複数備えたシステムがある。
この場合、固定設置された親機に加えて、携行することで移動先で応答が可能なワイヤレス親機を備えた構成が広く採用されている。例えば特許文献1では、子機が呼出操作されると、親機及びワイヤレス親機に呼び出しが通知され、ワイヤレス親機で応答操作すると子機とワイヤレス親機との間で通話路が形成され、来訪者と居住者であるワイヤレス親機の操作者との間で通話できた。
また、携帯電話(携帯端末)をワイヤレス親機として使用するインターホンシステムがある(例えば、特許文献2参照)。
一方でインターホンシステムには、子機が呼出操作されても親機が呼出音を発報しない消音モード(スリープモード)機能を備えたインターホンシステムがある(例えば、特許文献3参照)。
【先行技術文献】
【特許文献】
【0003】
特開2011-176764号公報
特開2016-174209号公報
特開2022-133899号公報
【発明の概要】
【発明が解決しようとする課題】
【0004】
上述したように、子機が呼出操作されても呼出音を発報しないスリープモードを備えたインターホンシステムがあるが、ワイヤレス親機を親機の1つとして備えたシステムでは、ワイヤレス親機をスリープモードに移行させる制御は主親機を操作することで行った。
これは、ワイヤレス親機は内蔵の電池で駆動するため、通常は主親機からの起動信号により起動する省エネルギーモード状態にあるためで、ワイヤレス親機側でスリープモード等の主親機から信号を受け付けない設定にしてしまうと、主親機の操作で起動させることができない状態の発生が考えられるためであった。
【0005】
このように、ワイヤレス親機の操作で自身のスリープモードの設定/解除操作するのは難しく、ワイヤレス親機を主親機から離れた場所に移動させた場合、利便性が悪かった。
また、携帯端末を使用するシステムでは、携帯端末をワイヤレス親機として使用可能に設定できても、スリープモード設定が難しかった。特に、OSがiOS規格の携帯端末は、呼出不可設定が簡単ではなかった。
【0006】
そこで、本発明はこのような問題点に鑑み、専用のワイヤレス親機であっても、また携帯端末をワイヤレス親機として使用する場合でも、ワイヤレス親機側の操作で自身をスリープモードに設定/設定解除ができるインターホンシステムを提供することを目的としている。
【課題を解決するための手段】
【0007】
上記課題を解決する為に、本発明の第1の構成は、居住者を呼び出す機能を備えた子機と、子機からの呼び出しに応答する機能を備えた親機とを有し、親機は固定設置された主親機に加えて携行可能なワイヤレス親機を備え、ワイヤレス親機は主親機と無線通信することで子機からの呼び出しに応答可能であるインターホンシステムであって、ワイヤレス親機は、自身を子機が呼出操作されても呼出音を発報しないスリープモードに移行させるスリープボタンを有し、スリープボタンが操作されると、ワイヤレス親機から主親機にスリープ設定信号が送信され、スリープ設定信号を受けた主親機が、スリープ設定信号送信元のワイヤレス親機に対して、子機から送信された呼出信号を中継しないことで、ワイヤレス親機がスリープモード状態となることを特徴とする。
この構成によれば、ワイヤレス親機の操作で、自身をスリープモードに移行させることができ、利便性が良い。加えて、ワイヤレス親機自身によるスリープモード設定は、主親機に呼出信号を中継させないことで実施するため、主親機からの信号は引き続き受け付ける状態を維持することができる。
【0008】
本発明の別の態様は、上記構成において、主親機は、無線LAN通信を実施する通信手段が接続或いは内蔵されていると共に、ワイヤレス親機が、公衆通信網を介して無線通信を実施する携帯端末であって、当該携帯端末に主親機と無線LAN通信を実施させると共に、ワイヤレス親機としての動作を実施させる所定のアプリケーションソフトウェアがインストールされて成り、所定のアプリケーションソフトウェアがインストールされた携帯端末の所定の操作で、スリープ設定信号が主親機に送信でき、携帯端末をスリープモードに設定できることを特徴とする。
この構成によれば、携帯端末からのスリープ設定信号を受けて主親機が携帯端末をスリープモードに移行させる制御をするため、携帯端末側で呼出信号を受け付けない制御を行う必要がない。よって、携帯端末にインストールするアプリケーションソフトウェアを大きく変更すること無くスリープモードに移行させることができる。
【0009】
本発明の第2の構成は、居住者を呼び出す機能を備えた子機と、固定設置されて子機からの呼び出しに応答する機能を備えた主親機と、主親機と通信することで子機からの呼び出しに応答可能な携帯端末をワイヤレス親機として備えたインターホンシステムであって、主親機には、公衆通信網を介してクラウド上の通信管理サーバと通信を実施する外部通信手段が接続或いは内蔵されており、携帯端末と主親機とは、通信管理サーバを介して互いに通信を実施し、携帯端末には、公衆通信網及び通信管理サーバ介して主親機と通信を実施させると共に、ワイヤレス親機としての動作を実施させる所定のアプリケーションソフトウェアがインストールされており、所定のアプリケーションソフトウェアがインストールされた携帯端末がスリープ設定されると、当該スリープ設定操作を通信管理サーバが認識し、スリープ設定操作を認識した通信管理サーバが、主親機から送信された子機の呼出信号を携帯端末に送信しない制御を行うことで、携帯端末がスリープモードに移行することを特徴とする。
この構成によれば、クラウド上の通信管理サーバが携帯端末からの設定信号を受けて携帯端末をスリープモード動作させるため、呼出信号を受け付けない制御を携帯端末が行う必要がない。よって、携帯端末の通信がios規格に基づいて成されている場合でも、自身をスリープモードに移行させることができ、携帯端末をインターホンのワイヤレス親機として良好に使用できる。
【発明の効果】
【0010】
本発明によれば、ワイヤレス親機の操作で、自身をスリープモードに移行させることができ、利便性が良い。加えて、ワイヤレス親機自身によるスリープモード設定は、主親機に呼出信号を中継させないことで実施するため、主親機からの信号は引き続き受け付ける状態を維持することができる。
また、クラウド上の通信管理サーバが携帯端末からの設定信号を受けて携帯端末をスリープモード動作させるため、呼出信号を受け付けない制御を携帯端末が行う必要がない。よって、携帯端末の通信がios規格に基づいて成されている場合でも、自身をスリープモードに移行させることができ、携帯端末をインターホンのワイヤレス親機として良好に使用できる。
【図面の簡単な説明】
(【0011】以降は省略されています)
この特許をJ-PlatPat(特許庁公式サイト)で参照する
関連特許
アイホン株式会社
インターホンシステム
1日前
アイホン株式会社
インターホンシステム
1日前
アイホン株式会社
鍵貸出システム、鍵貸出システムを備えた集合玄関機
1か月前
アイホン株式会社
インターホンシステムおよびインターホンシステムにおける制御方法
1か月前
個人
イヤーピース
29日前
個人
イヤーマフ
1か月前
個人
監視カメラシステム
1か月前
キーコム株式会社
光伝送線路
1か月前
個人
スイッチシステム
1か月前
サクサ株式会社
中継装置
1か月前
個人
スキャン式車載用撮像装置
1か月前
サクサ株式会社
中継装置
1か月前
キヤノン株式会社
撮像装置
1日前
キヤノン株式会社
撮像装置
1日前
キヤノン株式会社
撮像装置
8日前
キヤノン株式会社
撮像装置
1日前
キヤノン電子株式会社
画像読取装置
29日前
ヤマハ株式会社
放音制御装置
1か月前
サクサ株式会社
無線通信装置
1か月前
サクサ株式会社
無線通信装置
1か月前
サクサ株式会社
無線システム
1か月前
キヤノン電子株式会社
画像読取装置
1か月前
キヤノン電子株式会社
画像読取装置
1か月前
株式会社リコー
画像形成装置
1か月前
個人
映像表示装置、及びARグラス
1か月前
個人
発信機及び発信方法
1か月前
日本電気株式会社
海底分岐装置
1か月前
キヤノン電子株式会社
シート搬送装置
29日前
キヤノン株式会社
画像処理装置
1か月前
キヤノン株式会社
情報処理装置
16日前
株式会社NTTドコモ
端末
1か月前
シャープ株式会社
表示装置
29日前
日本セラミック株式会社
超音波送受信器
16日前
株式会社NTTドコモ
端末
1か月前
株式会社NTTドコモ
端末
1か月前
株式会社JVCケンウッド
通信システム
2か月前
続きを見る
他の特許を見る