TOP
|
特許
|
意匠
|
商標
特許ウォッチ
Twitter
他の特許を見る
10個以上の画像は省略されています。
公開番号
2025177500
公報種別
公開特許公報(A)
公開日
2025-12-05
出願番号
2024084386
出願日
2024-05-23
発明の名称
情報処理システム
出願人
株式会社マーケットヴィジョン
代理人
個人
主分類
H04N
23/60 20230101AFI20251128BHJP(電気通信技術)
要約
【課題】
商品を陳列する陳列棚などを撮影するときに、画像認識処理に支障があるようなピンボケやブレのない画像を撮影できるように撮影者の撮影を支援する情報処理システムを提供することを目的とする。
【解決手段】
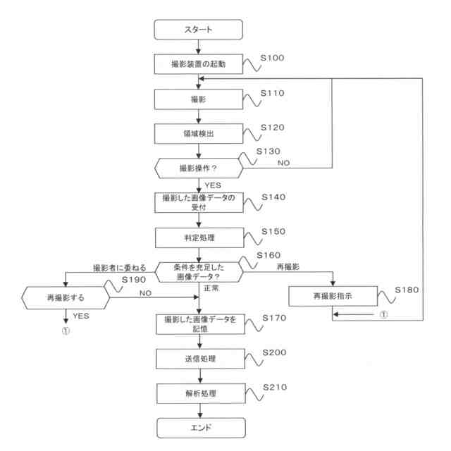
商品の売場の撮影を支援する情報処理システムであって、情報処理システムは、撮影端末の撮影装置で売場を撮影する撮影処理部と、撮影処理部で撮影した画像データから所定の領域を検出する領域検出処理部と、検出した領域の一部または全部において画質の判定処理を行う判定処理部と、を有する情報処理システムである。
【選択図】 図1
特許請求の範囲
【請求項1】
商品の売場の撮影を支援する情報処理システムであって、
前記情報処理システムは、
撮影端末の撮影装置で前記売場を撮影する撮影処理部と、
前記撮影処理部で撮影した画像データから所定の領域を検出する領域検出処理部と、
前記検出した領域の一部または全部において画質の判定処理を行う判定処理部と、
を有することを特徴とする情報処理システム。
続きを表示(約 1,500 文字)
【請求項2】
前記判定処理部は、
前記検出した領域に、前記画質の判定処理の対象とする検証領域を設定し、
前記検証領域の画質が所定条件を充足している場合には、前記画像データを処理対象の画像データとして記憶する、
ことを特徴とする請求項1に記載の情報処理システム。
【請求項3】
前記判定処理部は、
前記検証領域の画質が前記所定条件を充足していない場合には、前記画像データの再撮影を促すまたは再撮影を行わせる、
ことを特徴とする請求項2に記載の情報処理システム。
【請求項4】
前記判定処理部は、
前記検証領域の画質が前記所定条件を充足していない場合には、さらに、前記画像データを、処理対象の画像データとして記憶させるか再撮影を行うかの選択を促すメッセージを表示し、その指示を受け付ける、
ことを特徴とする請求項3に記載の情報処理システム。
【請求項5】
前記判定処理部は、
前記検証領域を複数設定し、
前記複数の検証領域のそれぞれについて前記画質を判定し、
各検証領域について判定した前記画質の数に応じて、前記画像データに対する処理を変更する、
ことを特徴とする請求項2に記載の情報処理システム。
【請求項6】
前記判定処理部は、
前記設定した複数の検証領域のそれぞれについて前記画質として、正常、ブレあり、ピンボケあり、少しのピンボケありのいずれか一以上を判定し、
前記画質が正常と判定した検証領域の個数が過半数または多数であれば、前記画像データを処理対象の画像データとして記憶させる、
ことを特徴とする請求項5に記載の情報処理システム。
【請求項7】
前記判定処理部は、
前記設定した複数の検証領域のそれぞれについて前記画質として、正常、ブレあり、ピンボケあり、少しのピンボケありのいずれか一以上を判定し、
前記画質がブレありまたはピンボケありと判定した検証領域の個数が過半数または多数であれば、前記画像データの再撮影を促すまたは再撮影を行わせる、
ことを特徴とする請求項5に記載の情報処理システム。
【請求項8】
前記判定処理部は、
前記設定した複数の検証領域のそれぞれについて前記画質として、正常、ブレあり、ピンボケあり、少しのピンボケありのいずれか一以上を判定し、
前記画質が少しのピンボケありと判定した検証領域の個数が過半数または多数であれば、前記画像データを、処理対象の画像データとして記憶させるか再撮影を行うかの選択を促すメッセージを表示し、その指示を受け付ける、
ことを特徴とする請求項5に記載の情報処理システム。
【請求項9】
前記判定処理部は、
前記検証領域を、前記領域検出処理部で検出した領域の上下左右端部付近、中心部付近のいずれか一以上に設定する、
ことを特徴とする請求項2に記載の情報処理システム。
【請求項10】
前記情報処理システムは、
前記撮影処理部が撮影した画像データから所定の領域を検出する学習モデルを生成する領域検出学習処理部、を有しており、
前記領域検出学習処理部で生成した領域検出モデルは前記撮影端末で機能し、
前記撮影処理部で撮影した画像データを、前記領域検出モデルに入力することで、前記所定の領域を検出する、
ことを特徴とする請求項1に記載の情報処理システム。
(【請求項11】以降は省略されています)
発明の詳細な説明
【技術分野】
【0001】
本発明は、商品を陳列する陳列棚などを撮影するときに、画像認識処理に支障があるようなピンボケやブレのない画像を撮影できるように撮影者の撮影を支援する情報処理システムを発明した。
続きを表示(約 1,400 文字)
【背景技術】
【0002】
コンビニエンスストア、スーパーなどの各種の店舗では、販売している商品を陳列棚に置いて販売をしていることが一般的である。そのため、陳列棚に商品を複数陳列しておくことで、商品の一つが購入されても、同一の商品をほかの人が購入できるようになっている。また、目立つ位置に多くの個数を並べた商品が注目され、ほかの商品よりも多く売れるという競合上の優位、劣位の関係も生じる。したがって、商品が陳列棚のどこにいくつ陳列されているか、またその商品の価格を管理することは、商品の販売戦略上、重要である。
【0003】
そこで陳列棚をカメラなどの撮影装置で撮影し、その画像情報に写っている対象物を自動認識することで、商品の陳列位置と個数、陳列されている商品や価格札(プライスカード)に記載されている価格を把握することが行われている。そこで、下記特許文献1、特許文献2に開示される技術がある。
【0004】
また、近年は、陳列棚を撮影する撮影装置として、スマートフォンなどの可搬型通信端末に搭載されたカメラなどを用いることがある。この撮影装置の一例が下記特許文献3に開示されている。
【先行技術文献】
【特許文献】
【0005】
特開平5-334409号公報
特開平5-342230号公報
特開2023-074321号公報
【発明の概要】
【発明が解決しようとする課題】
【0006】
特許文献3では、あらかじめ陳列棚にコードなどを貼付しておき、スマートフォンなどで陳列棚を撮影して、陳列棚に付された値札の位置情報を把握することを目的としている。しかし、特許文献3のシステムでは、あらかじめ陳列棚にコードなどを貼付しておく必要がある。そのため陳列棚にコードなどが貼付されていない場合には適用することができない。
【0007】
また特許文献1、特許文献2のように、陳列棚を撮影した画像情報を用いて商品認識等を行うためには、いわゆるピンボケやブレなどがない高品質の画像が求められる。そのため、陳列棚を撮影する場合には、ピンボケやブレなどがないように撮影することが求められるが、明らかなピンボケやブレなどは撮影時にもわかるが、少しのピンボケやブレなどの場合には、陳列棚を撮影した画像情報から商品認識を行うときに判明する。そして、商品認識のときにピンボケやブレが判明すると、再び店舗に赴いて陳列棚を撮影し直す必要が出てくる。
【0008】
しかし、陳列棚を撮影し直すのは負担が大きく、また最初の撮影時と陳列状況や価格が変わる可能性があり、陳列状況、価格の把握の観点からは好ましくない。
【0009】
そのため、陳列棚などを撮影するときに、画像認識処理に支障があるようなピンボケやブレのある画像情報を撮影する場合には、撮影時に撮影者に対して警告を行えるとよいが、従来、そのようなシステムは存在していない。
【課題を解決するための手段】
【0010】
本発明者は上記課題に鑑み、商品を陳列する陳列棚などを撮影するときに、画像認識処理に支障があるようなピンボケやブレのない画像を撮影できるように撮影者の撮影を支援する情報処理システムを発明した。
(【0011】以降は省略されています)
この特許をJ-PlatPat(特許庁公式サイト)で参照する
関連特許
個人
イヤーピース
29日前
個人
イヤーマフ
1か月前
個人
監視カメラシステム
1か月前
個人
スイッチシステム
1か月前
キーコム株式会社
光伝送線路
1か月前
サクサ株式会社
中継装置
1か月前
WHISMR合同会社
収音装置
2か月前
個人
スキャン式車載用撮像装置
1か月前
サクサ株式会社
中継装置
1か月前
キヤノン株式会社
撮像装置
8日前
アイホン株式会社
電気機器
2か月前
キヤノン株式会社
撮像装置
1日前
キヤノン株式会社
撮像装置
1日前
キヤノン株式会社
撮像装置
1日前
キヤノン株式会社
撮像装置
3か月前
キヤノン電子株式会社
画像読取装置
2か月前
サクサ株式会社
無線システム
1か月前
サクサ株式会社
無線通信装置
1か月前
キヤノン電子株式会社
画像読取装置
1か月前
株式会社リコー
画像形成装置
3か月前
個人
映像表示装置、及びARグラス
1か月前
キヤノン電子株式会社
画像読取装置
1か月前
ヤマハ株式会社
放音制御装置
1か月前
サクサ株式会社
無線通信装置
1か月前
株式会社リコー
画像形成装置
1か月前
株式会社リコー
画像形成装置
3か月前
個人
ワイヤレスイヤホン対応耳掛け
2か月前
キヤノン電子株式会社
画像読取装置
29日前
個人
発信機及び発信方法
1か月前
キヤノン株式会社
情報処理装置
16日前
日本電気株式会社
海底分岐装置
1か月前
キヤノン電子株式会社
シート搬送装置
29日前
キヤノン株式会社
撮像システム
2か月前
キヤノン株式会社
画像処理装置
1か月前
株式会社松平商会
携帯機器カバー
2か月前
株式会社NTTドコモ
端末
1か月前
続きを見る
他の特許を見る