TOP
|
特許
|
意匠
|
商標
特許ウォッチ
Twitter
他の特許を見る
10個以上の画像は省略されています。
公開番号
2025166921
公報種別
公開特許公報(A)
公開日
2025-11-07
出願番号
2024071118
出願日
2024-04-25
発明の名称
瞳孔又は角膜の位置検知装置、及びヘッドマウントディスプレイ
出願人
株式会社リコー
代理人
個人
,
個人
主分類
A61B
3/113 20060101AFI20251030BHJP(医学または獣医学;衛生学)
要約
【課題】装着者に対する光源部及び受光部の相対位置を調整可能にする。
【解決手段】瞳孔又は角膜の位置検知装置は、装着者に装着される装着部に設けられる瞳孔又は角膜の位置検知装置であって、光源部と、前記光源部から出射し、前記装着者の眼球で反射された光の少なくとも一部を受光する受光部と、前記光源部及び前記受光部を並進移動させる移動部と、を有し、前記移動部は、前記装着部に対する前記光源部及び前記受光部の相対位置を変化させる。
【選択図】図4
特許請求の範囲
【請求項1】
装着者に装着される装着部に設けられる瞳孔又は角膜の位置検知装置であって、
光源部と、
前記光源部から出射し、前記装着者の眼球で反射された光の少なくとも一部を受光する受光部と、
前記光源部及び前記受光部を並進移動させる移動部と、を有し、
前記移動部は、前記装着部に対する前記光源部及び前記受光部の相対位置を変化させる、瞳孔又は角膜の位置検知装置。
続きを表示(約 1,500 文字)
【請求項2】
前記移動部は、
前記光源部及び前記受光部を第1方向に並進移動させる第1移動部と、
前記光源部及び前記受光部を第2方向に並進移動させる第2移動部と、
前記光源部及び前記受光部を第3方向に並進移動させる第3移動部と、を含み、
前記第1方向、前記第2方向及び前記第3方向は、互いに直交する、請求項1に記載の瞳孔又は角膜の位置検知装置。
【請求項3】
前記瞳孔又は角膜の位置検知装置が前記装着者に装着された状態において、前記光源部と前記眼球との間の光路に配置され、前記光源部から出射した光を前記眼球が位置する方向に偏向させる光偏向部をさらに有し、
前記受光部は、前記光偏向部により偏向された後、前記眼球で反射された光の少なくとも一部を受光し、
前記移動部は、前記光源部、前記受光部及び前記光偏向部を並進移動させる、請求項1に記載の瞳孔又は角膜の位置検知装置。
【請求項4】
前記装着部に接続する接続部と、
前記光源部及び前記受光部を支持する支持部と、を有し、
前記移動部は、前記支持部に接続しており、前記接続部に対する前記支持部の相対位置を変化させる、請求項1に記載の瞳孔又は角膜の位置検知装置。
【請求項5】
前記移動部は、前記装着部に対する前記光源部及び前記受光部の相対位置を位置決めする位置決め部を含み、
前記移動部には、前記光源部及び前記受光部が並進移動する移動方向を長手とする長孔が設けられ、
前記位置決め部は、前記長孔が設けられた前記移動部以外の部材又は部分に前記長孔を介して結合し、前記長孔が設けられた前記移動部以外の部材又は部分に、前記長孔が設けられた前記移動部を固定することによって、前記光源部及び前記受光部を位置決めする、請求項1に記載の瞳孔又は角膜の位置検知装置。
【請求項6】
前記移動部は、
前記支持部に接続する可動部材と、
前記可動部材に接続する送りネジ部材と、
前記送りネジ部材に結合して前記送りネジ部材の回転運動を前記送りネジ部材の直線運動に変換する変換部と、を含む、請求項4に記載の瞳孔又は角膜の位置検知装置。
【請求項7】
前記送りネジ部材は、ネジ頭部とネジ部とを含み、
前記可動部材は、前記送りネジ部材の前記ネジ頭部が当接する当接部を含み、
前記送りネジ部材の前記ネジ頭部は、前記送りネジ部材の直線運動によって前記光源部及び前記受光部の移動方向に前記当接部を押す、請求項6に記載の瞳孔又は角膜の位置検知装置。
【請求項8】
前記当接部は、前記移動部による前記光源部及び前記受光部の移動方向における前記送りネジ部材の前記ネジ頭部の両側に配置されている、請求項7に記載の瞳孔又は角膜の位置検知装置。
【請求項9】
前記送りネジ部材の前記ネジ部は、前記当接部の一部を貫通しており、
前記当接部には、前記当接部を貫通する前記ネジ部の周りに、前記当接部の一部が開放された開放部が設けられている、請求項7に記載の瞳孔又は角膜の位置検知装置。
【請求項10】
前記ネジ部が延びる方向に沿う前記ネジ部の中心軸から前記送りネジ部材の前記ネジ頭部の外縁までの第1距離は、前記ネジ部の中心軸から前記当接部の外縁までの第2距離よりも長い、請求項7に記載の瞳孔又は角膜の位置検知装置。
(【請求項11】以降は省略されています)
発明の詳細な説明
【技術分野】
【0001】
本発明は、瞳孔又は角膜の位置検知装置、及びヘッドマウントディスプレイに関する。
続きを表示(約 2,100 文字)
【背景技術】
【0002】
例えば、特許文献1には、眼球表面で高速走査されるレーザ光の反射光強度の時間変化に基づき、瞳孔位置を検知する装置が開示されている。
【発明の概要】
【発明が解決しようとする課題】
【0003】
しかしながら、特許文献1に記載の装置では、装着者に装着されたときに、レーザ光等の光を出射する光源部、並びに、眼球による該レーザ光の反射光等を受光する受光部と装着者との相対位置がずれる場合がある。
【0004】
本発明は、装着者に対する光源部及び受光部の相対位置を調整可能にすることを目的とする。
【課題を解決するための手段】
【0005】
本発明の一態様に係る瞳孔又は角膜の位置検知装置は、装着者に装着される装着部に設けられる瞳孔又は角膜の位置検知装置であって、光源部と、前記光源部から出射し、前記装着者の眼球で反射された光の少なくとも一部を受光する受光部と、前記光源部及び前記受光部を並進移動させる移動部と、を有し、前記移動部は、前記装着部に対する前記光源部及び前記受光部の相対位置を変化させる。
【発明の効果】
【0006】
本発明によれば、装着者に対する光源部及び受光部の相対位置を調整可能にすることができる。
【図面の簡単な説明】
【0007】
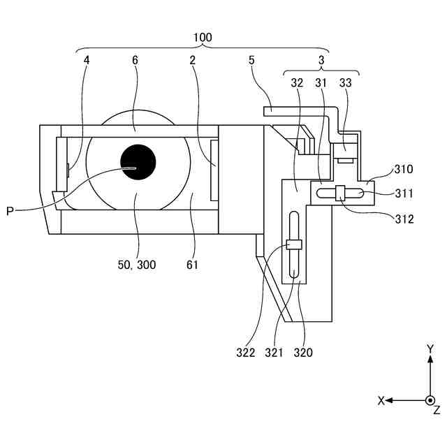
本発明の第一実施形態に係る瞳孔又は角膜の位置検知装置を有するヘッドマウントディスプレイを示す模式的斜視図である。
本発明の第一実施形態に係る瞳孔又は角膜の位置検知装置を有するヘッドマウントディスプレイが装着者の頭部に装着された状態を示す模式的斜視図である。
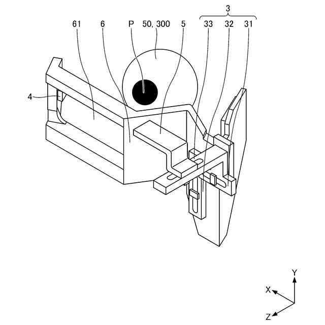
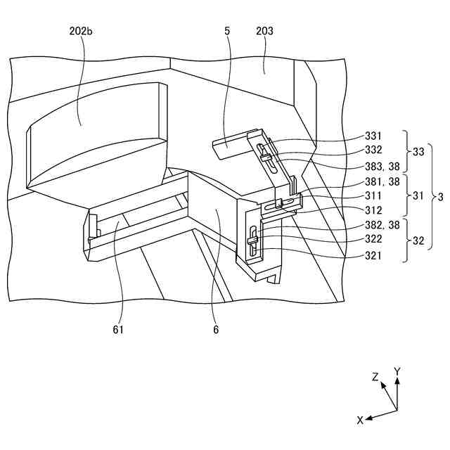
本発明の第一実施形態に係る瞳孔又は角膜の位置検知装置がヘッドマウントディスプレイに配置された状態を示す模式的拡大斜視図である。
本発明の第一実施形態に係る瞳孔又は角膜の位置検知装置の全体構成を示す模式的上面図である。
本発明の第一実施形態に係る瞳孔又は角膜の位置検知装置の全体構成を示す模式的正面図である。
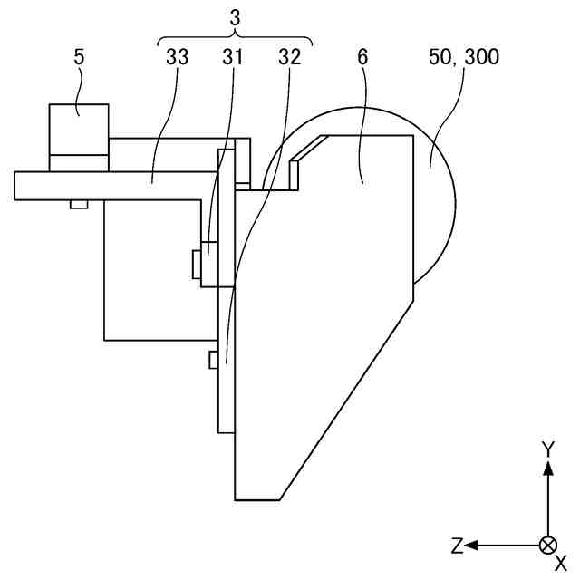
本発明の第一実施形態に係る瞳孔又は角膜の位置検知装置の全体構成を示す模式的側面図である。
本発明の第一実施形態に係る瞳孔又は角膜の位置検知装置の全体構成を示す模式的斜視図である。
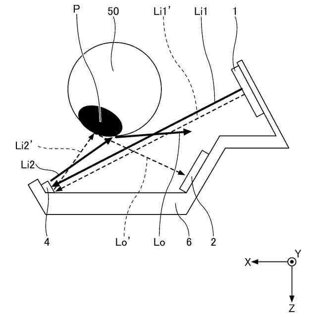
本発明の第一実施形態に係る瞳孔又は角膜の位置検知装置の動作を示す第1模式的上面図である。
本発明の第一実施形態に係る瞳孔又は角膜の位置検知装置の動作を示す第2模式的上面図である。
本発明の第二実施形態に係る瞳孔又は角膜の位置検知装置がヘッドマウントディスプレイに配置された状態を示す模式的拡大斜視図である。
本発明の第二実施形態に係る瞳孔又は角膜の位置検知装置の全体構成を示す模式的上面図である。
本発明の第二実施形態に係る瞳孔又は角膜の位置検知装置の全体構成を示す模式的正面図である。
本発明の第二実施形態に係る瞳孔又は角膜の位置検知装置の全体構成を示す模式的側面図である。
本発明の第二実施形態に係る瞳孔又は角膜の位置検知装置の全体構成を示す模式的斜視図である。
本発明の第三実施形態に係る瞳孔又は角膜の位置検知装置における第1マーク及び第2マークを示す模式的側面図である。
【発明を実施するための形態】
【0008】
本発明の実施形態に係る瞳孔又は角膜の位置検知装置、及びヘッドマウントディスプレイについて図面を参照しながら詳細に説明する。但し、以下に示す形態は、本発明の実施形態に係る瞳孔又は角膜の位置検知装置、及びヘッドマウントディスプレイを例示するものであって、以下に限定するものではない。
【0009】
また、本発明の実施形態に記載されている構成部の寸法、材質、形状、その相対的配置等は、特定の形態のみに限定する旨の記載がない限り、本発明の実施形態の範囲をそれのみに限定する趣旨ではなく、単なる説明例にすぎない。なお、各図面が示す部材の大きさ、位置関係等は、説明を明確にするため誇張していることがある。また、以下の説明において、同一の名称、符号については同一もしくは同質の部材を示しており詳細説明を適宜省略する。
【0010】
以下に示す説明では、説明をわかりやすくするために、XYZ直交座標系を用いて、各部分の配置及び構成を説明する。XYZ直交座標系における3つの軸は、互いに直交している。XYZ直交座標系において、X軸が延びる方向を第1方向Xと表記し、Y軸が延びる方向を第2方向Yと表記し、Z軸が延びる方向を第3方向Zと表記する。X軸を示す矢印が向く方向を+X方向又は+X側と表記し、+X方向とは反対方向を-X方向又は-X側と表記する。Y軸を示す矢印が向く方向を+Y方向又は+Y側と表記し、+Y方向とは反対方向を-Y方向又は+Y側と表記する。Z軸を示す矢印が向く方向を+Z方向又は+Z側と表記し、+Z方向とは反対方向を-Z方向又は-Z側と表記する。
(【0011】以降は省略されています)
この特許をJ-PlatPat(特許庁公式サイト)で参照する
関連特許
株式会社リコー
画像形成装置
16日前
株式会社リコー
画像形成装置
7日前
株式会社リコー
画像形成装置
13日前
株式会社リコー
画像形成装置
13日前
株式会社リコー
画像形成装置、及び、機器
6日前
株式会社リコー
延長トレイ及び画像形成装置
16日前
株式会社リコー
光走査装置及び画像形成装置
5日前
株式会社リコー
画像読取装置及び画像読取方法
15日前
株式会社リコー
シート供給装置、画像形成装置
5日前
株式会社リコー
加熱装置、定着装置、画像形成装置
8日前
株式会社リコー
媒体処理装置及び画像形成システム
16日前
株式会社リコー
樹脂粒子、及び樹脂粒子の製造方法
13日前
株式会社リコー
加熱搬送装置、及び、画像形成装置
6日前
株式会社リコー
読取装置、読取方法およびプログラム
16日前
株式会社リコー
樹脂粒子、トナー、及び、画像形成装置
5日前
株式会社リコー
画像処理装置、画像処理方法およびプログラム
今日
株式会社リコー
画像形成装置、画像処理方法およびプログラム
14日前
株式会社リコー
情報処理装置、情報処理方法およびプログラム
5日前
株式会社リコー
表示装置、表示方法、プログラム、表示システム
今日
株式会社リコー
表示装置、表示方法、プログラム、表示システム
8日前
株式会社リコー
モノクロ用光走査装置及びモノクロ画像形成装置
19日前
株式会社リコー
画像読取装置、用紙斜行防止装置及び画像形成装置
14日前
株式会社リコー
シート処理装置、シート処理方法及び画像形成システム
5日前
株式会社リコー
情報処理装置、設定システム、プログラム、情報処理方法
13日前
株式会社リコー
情報処理装置、表示装置、情報処理方法、およびプログラム
7日前
株式会社リコー
情報処理装置、画像形成装置、情報処理方法及びプログラム
13日前
株式会社リコー
情報処理装置、情報処理システム、情報処理方法及びプログラム
6日前
株式会社リコー
瞳孔又は角膜の位置検知装置、及びヘッドマウントディスプレイ
5日前
株式会社リコー
瞳孔又は角膜の位置検知装置、及びヘッドマウントディスプレイ
5日前
株式会社リコー
情報処理装置、画面作成方法、プログラム、及び情報処理システム
5日前
株式会社リコー
情報処理装置、画面作成方法、プログラム、及び情報処理システム
5日前
株式会社リコー
電子機器、ファクシミリ通信システム、プログラム、情報処理方法
13日前
株式会社リコー
点群処理装置、点群処理方法、プログラムおよび点群処理システム
5日前
株式会社リコー
シート折り装置、後処理装置、画像形成装置、及び画像形成システム
14日前
株式会社リコー
トナー、現像剤、現像剤収容容器、画像形成方法、及び画像形成装置
7日前
株式会社リコー
画像形成装置、画像形成装置の制御方法及び画像形成装置の制御プログラム
8日前
続きを見る
他の特許を見る