TOP
|
特許
|
意匠
|
商標
特許ウォッチ
Twitter
他の特許を見る
10個以上の画像は省略されています。
公開番号
2025166922
公報種別
公開特許公報(A)
公開日
2025-11-07
出願番号
2024071119
出願日
2024-04-25
発明の名称
瞳孔又は角膜の位置検知装置、及びヘッドマウントディスプレイ
出願人
株式会社リコー
代理人
個人
,
個人
主分類
A61B
3/113 20060101AFI20251030BHJP(医学または獣医学;衛生学)
要約
【課題】外界に対する装着者の視界を阻害せずに装着者の瞳孔又は角膜の位置を検知する。
【解決手段】瞳孔又は角膜の位置検知装置は、ヘッドマウントディスプレイに取り付け可能な、前記ヘッドマウントディスプレイの装着者の瞳孔又は角膜の位置検知装置であって、光源部と、前記光源部から出射し、前記装着者の眼球で反射された光の少なくとも一部を受光する受光部と、前記ヘッドマウントディスプレイに接続する接続部と、前記光源部及び前記受光部を一体に支持する支持部と、を有し、前記接続部は、前記支持部により支持された前記光源部及び前記受光部の、前記装着者の正視方向と交差する上方向において、前記ヘッドマウントディスプレイに接続する。
【選択図】図4
特許請求の範囲
【請求項1】
ヘッドマウントディスプレイに取り付け可能な、前記ヘッドマウントディスプレイの装着者の瞳孔又は角膜の位置検知装置であって、
光源部と、
前記光源部から出射し、前記装着者の眼球で反射された光の少なくとも一部を受光する受光部と、
前記ヘッドマウントディスプレイに接続する接続部と、
前記光源部及び前記受光部を一体に支持する支持部と、を有し、
前記接続部は、前記支持部により支持された前記光源部及び前記受光部の、前記装着者の正視方向と交差する上方向において、前記ヘッドマウントディスプレイに接続する、
瞳孔又は角膜の位置検知装置。
続きを表示(約 1,000 文字)
【請求項2】
前記光源部及び前記受光部は、前記正視方向から視たときに、前記眼球に対して、上下方向及び前記正視方向のそれぞれに交差する左右方向に配置される、請求項1に記載の瞳孔又は角膜の位置検知装置。
【請求項3】
前記装着者に装着された前記ヘッドマウントディスプレイに前記瞳孔又は角膜の位置検知装置が装着された状態において、前記光源部と前記眼球との間の光路に配置され、前記光源部から出射した光を前記眼球が位置する方向に偏向させる光偏向部をさらに有し、
前記受光部は、前記光偏向部により偏向された後、前記眼球で反射された光の少なくとも一部を受光する、請求項1に記載の瞳孔又は角膜の位置検知装置。
【請求項4】
前記光偏向部と前記受光部との相対位置の調整機構を有し、
前記調整機構は、前記支持部に配置される、請求項3に記載の瞳孔又は角膜の位置検知装置。
【請求項5】
前記支持部は、前記眼球の下方向に位置し、上下方向及び前記正視方向のそれぞれに交差する左右方向に延びる延伸部を含み、前記左右方向において、前記眼球を基準に前記光源部とは反対側の位置で前記光偏向部を支持する、請求項3に記載の瞳孔又は角膜の位置検知装置。
【請求項6】
前記接続部、前記支持部、及び前記延伸部は、一体に形成されている、請求項5に記載の瞳孔又は角膜の位置検知装置。
【請求項7】
前記支持部は、上面視において、
前記延伸部の基準面に対して第1の角度で配置され、前記光源部を支持する第1平面部と、
前記延伸部の基準面に対して前記第1の角度とは異なる第2の角度で配置され、前記受光部を支持する第2平面部と、を含む、請求項5に記載の瞳孔又は角膜の位置検知装置。
【請求項8】
前記接続部は、前記正視方向において前記光源部と前記受光部の間に位置する、
請求項1に記載の瞳孔又は角膜の位置検知装置。
【請求項9】
前記光源部及び前記受光部は、前記装着者の正視方向と交差する上下方向において前記接続部と前記支持部の間に位置する、
請求項1に記載の瞳孔又は角膜の位置検知装置。
【請求項10】
前記接続部と前記ヘッドマウントディスプレイとの間に配置され、前記接続部よりも弾性が大きい弾性部材を有する、請求項1に記載の瞳孔又は角膜の位置検知装置。
(【請求項11】以降は省略されています)
発明の詳細な説明
【技術分野】
【0001】
本発明は、瞳孔又は角膜の位置検知装置、及びヘッドマウントディスプレイに関する。
続きを表示(約 2,200 文字)
【背景技術】
【0002】
例えば、特許文献1には、眼球表面で高速走査されるレーザ光の反射光強度の時間変化に基づき、瞳孔位置を検知する装置が開示されている。
【発明の概要】
【発明が解決しようとする課題】
【0003】
しかしながら、特許文献1に記載の装置では、ヘッドマウントディスプレイに該装置が取り付けられたときに、ヘッドマウントディスプレイを装着する者の外界に対する視界が、該装置の一部により遮られて狭くなる場合がある。
【課題を解決するための手段】
【0004】
本発明の一態様に係る瞳孔又は角膜の位置検知装置は瞳孔又は角膜の位置検知装置は、ヘッドマウントディスプレイに取り付け可能な、前記ヘッドマウントディスプレイの装着者の瞳孔又は角膜の位置検知装置であって、光源部と、前記光源部から出射し、前記装着者の眼球で反射された光の少なくとも一部を受光する受光部と、前記ヘッドマウントディスプレイに接続する接続部と、前記光源部及び前記受光部を一体に支持する支持部と、を有し、前記接続部は、前記支持部により支持された前記光源部及び前記受光部の、前記装着者の正視方向と交差する上方向において、前記ヘッドマウントディスプレイに接続する。
【発明の効果】
【0005】
本発明によれば、外界に対する装着者の視界を阻害せずに装着者の瞳孔又は角膜の位置を検知することができる。
【図面の簡単な説明】
【0006】
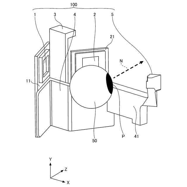
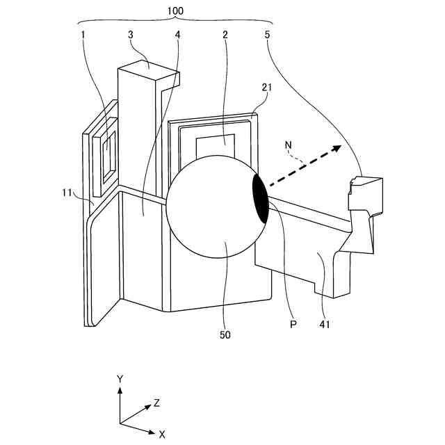
本発明の第一実施形態に係る瞳孔又は角膜の位置検知装置を有するヘッドマウントディスプレイを示す模式的斜視図である。
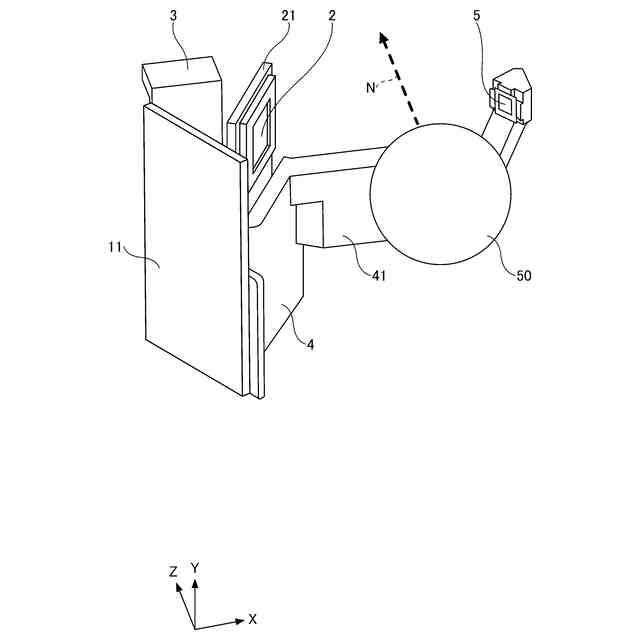
本発明の第一実施形態に係る瞳孔又は角膜の位置検知装置を有するヘッドマウントディスプレイが装着者の頭部に装着された状態を示す模式的斜視図である。
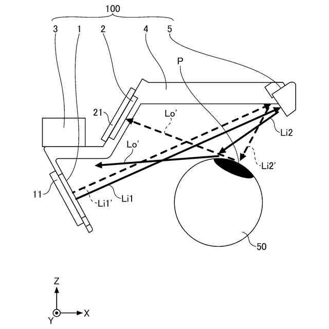
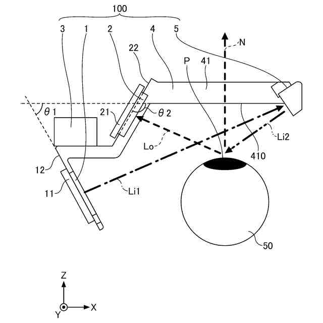
本発明の第一実施形態に係る瞳孔又は角膜の位置検知装置の全体構成を示す模式的上面図である。
本発明の第一実施形態に係る瞳孔又は角膜の位置検知装置の全体構成を示す第1模式的斜視図である。
本発明の第一実施形態に係る瞳孔又は角膜の位置検知装置の全体構成を示す第2模式的斜視図である。
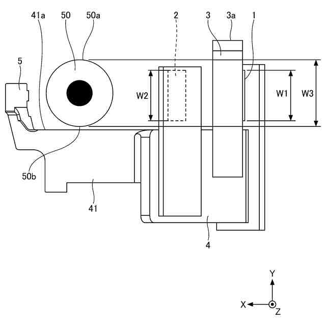
本発明の第一実施形態に係る瞳孔又は角膜の位置検知装置における眼球、光源部及び受光部の上下方向における幅を示す模式的正面図である。
本発明の第一実施形態に係る瞳孔又は角膜の位置検知装置の動作を示す第1模式的上面図である。
本発明の第一実施形態に係る瞳孔又は角膜の位置検知装置の動作を示す第2模式的上面図である。
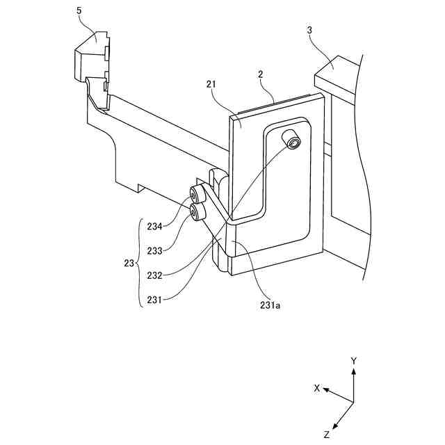
本発明の第二実施形態に係る瞳孔又は角膜の位置検知装置における調整機構を示す模式的斜視図である。
本発明の第三実施形態に係る瞳孔又は角膜の位置検知装置における弾性部材を示す模式的斜視図である。
【発明を実施するための形態】
【0007】
本発明の実施形態に係る瞳孔又は角膜の位置検知装置、及びヘッドマウントディスプレイについて図面を参照しながら詳細に説明する。但し、以下に示す形態は、本発明の実施形態に係る瞳孔又は角膜の位置検知装置、及びヘッドマウントディスプレイを例示するものであって、以下に限定するものではない。
【0008】
また、本発明の実施形態に記載されている構成部の寸法、材質、形状、その相対的配置等は、特定の形態のみに限定する旨の記載がない限り、本発明の実施形態の範囲をそれのみに限定する趣旨ではなく、単なる説明例にすぎない。なお、各図面が示す部材の大きさ、位置関係等は、説明を明確にするため誇張していることがある。また、以下の説明において、同一の名称、符号については同一もしくは同質の部材を示しており詳細説明を適宜省略する。
【0009】
以下に示す説明では、説明をわかりやすくするために、XYZ直交座標系を用いて、各部分の配置及び構成を説明する。XYZ直交座標系における3つの軸は、互いに直交している。XYZ直交座標系において、X軸が延びる方向を第1方向Xと表記し、Y軸が延びる方向を第2方向Yと表記し、Z軸が延びる方向を第3方向Zと表記する。X軸を示す矢印が向く方向を+X方向又は+X側と表記し、+X方向とは反対方向を-X方向又は-X側と表記する。Y軸を示す矢印が向く方向を+Y方向又は+Y側と表記し、+Y方向とは反対方向を-Y方向又は+Y側と表記する。Z軸を示す矢印が向く方向を+Z方向又は+Z側と表記し、+Z方向とは反対方向を-Z方向又は-Z側と表記する。本明細書では、一例として、Y方向は上下方向に対応し、+Y方向は上方向に対応する。+Z方向は正視方向に対応する。正視方向とは、装着者が正面を見ているときの視線方向をいう。X方向は左右方向に対応する。
【0010】
但し、上記の方向表現は、相対的な位置、向き、方向等の関係を述べるに過ぎず、使用時における関係と一致していなくてもよい。また、これらの方向は重力方向とは無関係である。「配置する」とは直接接する場合に限られず、間接的に、例えば他の部材を介して配置する場合も含む。本明細書における「画像」には、静止画だけでなく、動画も含まれる。動画は映像と称してもよい。
(【0011】以降は省略されています)
この特許をJ-PlatPat(特許庁公式サイト)で参照する
関連特許
株式会社リコー
画像形成装置
24日前
株式会社リコー
服薬支援装置
15日前
株式会社リコー
液体吐出装置
1日前
株式会社リコー
外観検査装置
9日前
株式会社リコー
画像形成装置
15日前
株式会社リコー
定着装置及び画像形成装置
1日前
株式会社リコー
画像形成装置、及び、機器
23日前
株式会社リコー
光走査装置及び画像形成装置
22日前
株式会社リコー
シート供給装置、画像形成装置
22日前
株式会社リコー
画像形成装置及び異常判定方法
15日前
株式会社リコー
画像形成装置および画像形成方法
15日前
株式会社リコー
画像形成装置、及び画像形成方法
9日前
株式会社リコー
加熱搬送装置、及び、画像形成装置
23日前
株式会社リコー
加熱装置、定着装置及び画像形成装置
9日前
株式会社リコー
後処理装置、及び、画像形成システム
2日前
株式会社リコー
樹脂粒子、トナー、及び、画像形成装置
22日前
株式会社リコー
外観検査方法、および外観検査システム
1日前
株式会社リコー
画像形成装置、画像形成方法及びプログラム
3日前
株式会社リコー
画像形成装置、画像形成方法及びプログラム
3日前
株式会社リコー
画像処理装置、画像処理方法およびプログラム
17日前
株式会社リコー
画像形成装置、画像形成方法およびプログラム
15日前
株式会社リコー
情報処理装置、情報処理方法およびプログラム
22日前
株式会社リコー
情報処理装置、情報処理方法およびプログラム
10日前
株式会社リコー
表示装置、表示方法、プログラム、表示システム
17日前
株式会社リコー
表示装置、表示方法、プログラム、表示システム
9日前
株式会社リコー
シート収容装置、シート給送装置及び画像形成装置
15日前
株式会社リコー
画像読取装置、画像形成装置、および画像読取方法
1日前
株式会社リコー
先塗液の塗布状態の異常検出方法および液体吐出装置
1日前
株式会社リコー
シート処理装置、シート処理方法及び画像形成システム
22日前
株式会社リコー
情報処理システム、情報処理装置、方法およびプログラム
9日前
株式会社リコー
粒子、試薬、医薬組成物、粉末吸入剤及び粒子の製造方法
2日前
株式会社リコー
筆記装置、表示装置、および、コミュニケーションシステム
9日前
株式会社リコー
機器システム、制御方法、情報処理装置、プログラム、機器
9日前
株式会社リコー
導電膜製造方法、焼結装置、電磁波シールド層及び電極パターン
9日前
株式会社リコー
情報処理装置、情報処理システム、情報処理方法及びプログラム
23日前
株式会社リコー
瞳孔又は角膜の位置検知装置、及びヘッドマウントディスプレイ
22日前
続きを見る
他の特許を見る