TOP
|
特許
|
意匠
|
商標
特許ウォッチ
Twitter
他の特許を見る
10個以上の画像は省略されています。
公開番号
2025166317
公報種別
公開特許公報(A)
公開日
2025-11-06
出願番号
2024070247
出願日
2024-04-24
発明の名称
情報処理装置、情報処理システム、情報処理方法及びプログラム
出願人
株式会社リコー
代理人
個人
,
個人
主分類
G01C
21/26 20060101AFI20251029BHJP(測定;試験)
要約
【課題】ユーザに応じた経路を生成可能とすること。
【解決手段】情報処理装置は、経路の生成を要求するユーザに関するユーザ情報を受け付ける受付部と、前記経路の生成対象として前記ユーザに対して表示された空間を示すマップ情報と前記ユーザ情報とに基づいて、前記空間において前記ユーザ情報に応じた経路を生成する経路生成部と、を有する。
【選択図】図3
特許請求の範囲
【請求項1】
経路の生成を要求するユーザに関するユーザ情報を受け付ける受付部と、
前記経路の生成対象として前記ユーザに対して表示された空間を示すマップ情報と前記ユーザ情報とに基づいて、前記空間において前記ユーザ情報に応じた経路を生成する経路生成部と、
を有することを特徴とする情報処理装置。
続きを表示(約 1,200 文字)
【請求項2】
前記経路生成部は、ユーザ情報と、前記マップ情報において前記ユーザ情報に応じた経路とを含む学習データに基づいてユーザ情報と経路との対応関係を学習済みの機械学習モデルを用いて、前記受付部が受け付けたユーザ情報に応じた経路を生成する、
ことを特徴とする請求項1記載の情報処理装置。
【請求項3】
前記空間は3次元空間である、
ことを特徴とする請求項1記載の情報処理装置。
【請求項4】
前記ユーザ情報は、ユーザごとに異なるユーザ識別情報、又はユーザの属性に基づいてユーザ群をグループ分けした場合にグループごとに異なる情報である、
ことを特徴とする請求項1記載の情報処理装置。
【請求項5】
前記マップ情報は、前記空間に配置された物体に関する情報を含む、
ことを特徴とする請求項1記載の情報処理装置。
【請求項6】
前記経路生成部は、ユーザ情報と、前記マップ情報において前記ユーザ情報に応じた経路と、当該経路を説明するテキスト情報とを含む学習データに基づいてユーザ情報と経路及びテキスト情報との対応関係を学習済みの機械学習モデルを用いて、前記ユーザに関するユーザ情報に応じた経路と当該経路を説明するテキスト情報とを生成する、
ことを特徴とする請求項1記載の情報処理装置。
【請求項7】
前記受付部は、更に、経路に対する条件を示すテキスト情報を受け付け、
前記経路生成部は、ユーザ情報と、経路に対する条件を示すテキスト情報と、前記マップ情報において前記ユーザ情報及び前記テキスト情報に応じた経路とを含む学習データに基づいてユーザ情報及びテキスト情報と経路との対応関係を学習済みの機械学習モデルを用いて、前記受付部が受け付けたユーザ情報及びテキスト情報に応じた経路を生成する、
ことを特徴とする請求項1記載の情報処理装置。
【請求項8】
前記テキスト情報は、前記マップ情報が示す前記空間に配置された物体に関する情報を含む、
ことを特徴とする請求項7記載の情報処理装置。
【請求項9】
記憶部に記憶されている前記マップ情報が前記空間に配置された物体に関して含む情報を、ユーザによる入力に応じて更新する更新部、
を有することを特徴とする請求項5又は8記載の情報処理装置。
【請求項10】
前記受付部は、更に、経路を移動する物体のサイズ情報を受け付け、
前記経路生成部は、ユーザ情報と、経路を移動する物体のサイズ情報と、前記マップ情報において前記ユーザ情報に応じた経路であって前記物体が通過可能な経路とを含む学習データに基づいてユーザ情報及び物体のサイズ情報と経路との対応関係を学習済みの機械学習モデルを用いて、前記受付部が受け付けたユーザ情報及びサイズ情報に応じた経路を生成する、
ことを特徴とする請求項1記載の情報処理装置。
(【請求項11】以降は省略されています)
発明の詳細な説明
【技術分野】
【0001】
本発明は、情報処理装置、情報処理システム、情報処理方法及びプログラムに関する。
続きを表示(約 1,700 文字)
【背景技術】
【0002】
建築現場、商業施設、物流現場、空港など、或る空間を移動する際、目的地までの移動をスムーズに行えない場合が有る。
【0003】
そこで、或る空間における移動を支援するために、様々な経路生成技術又は経路探索技術(以下、「経路生成技術」で統一する。)が検討され、アプリケーションとして提供されているものもある。このような経路生成技術の中には、時間や距離についての優先条件(最短時間、最短距離等)を付加することで優先条件に応じた経路を生成するものがある。
【発明の概要】
【発明が解決しようとする課題】
【0004】
建築現場、商業施設、物流現場、空港など、特定の目的に特化した空間においては、その空間を移動する人がその空間とどのような関わりを持っているかに応じて、適切な移動経路が異なりうると考えられる。例えば、商業施設であれば、仮に、始点及び終点が同じであっても顧客であるか店員であるかに応じて適切な移動経路を異なりうると考えられる。
【0005】
本発明は、上記の点に鑑みてなされたものであって、ユーザに応じた経路を生成可能とすることを目的とする。
【課題を解決するための手段】
【0006】
そこで上記課題を解決するため、情報処理装置は、経路の生成を要求するユーザに関するユーザ情報を受け付ける受付部と、前記経路の生成対象として前記ユーザに対して表示された空間を示すマップ情報と前記ユーザ情報とに基づいて、前記空間において前記ユーザ情報に応じた経路を生成する経路生成部と、を有する。
【発明の効果】
【0007】
ユーザに応じた経路を生成可能とすることができる。
【図面の簡単な説明】
【0008】
第1の実施の形態における情報処理システム1の構成例を示す図である。
第1の実施の形態におけるサーバ装置10のハードウェア構成例を示す図である。
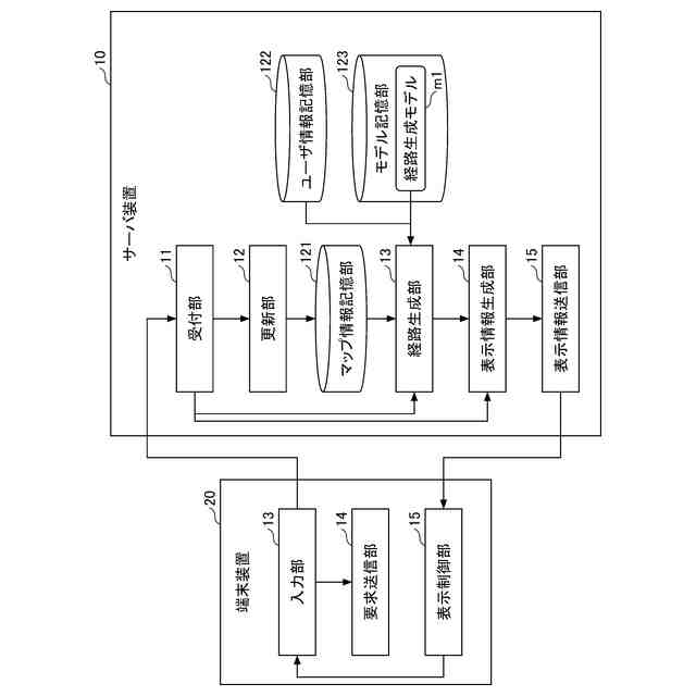
第1の実施の形態における情報処理システム1の機能構成例を示す図である。
第1の実施の形態におけるマップ情報更新処理の処理手順の一例を説明するためのシーケンス図である。
マップ情報記憶部121の構成例を示す図である。
空間画面の一例を示す図である。
第1の実施の形態における経路生成処理の処理手順の一例を説明するためのシーケンス図である。
ユーザ情報記憶部122の構成例を示す図である。
第1の実施の形態において経路を示す空間画面の第1の例を示す図である。
第1の実施の形態において経路を示す空間画面の第2の例を示す図である。
第2の実施の形態における経路生成処理の処理手順の一例を説明するためのシーケンス図である。
第2の実施の形態において経路を示す空間画面の一例を示す図である。
第3の実施の形態における経路生成処理の処理手順の一例を説明するためのシーケンス図である。
第3の実施の形態において経路を示す空間画面の第1の例を示す図である。
第3の実施の形態において経路を示す空間画面の第2の例を示す図である。
【発明を実施するための形態】
【0009】
以下、図面に基づいて本発明の実施の形態を説明する。図1は、第1の実施の形態における情報処理システム1の構成例を示す図である。図1において、1以上の端末装置20は、インターネット等の通信ネットワーク30を介してサーバ装置10に接続する。
【0010】
端末装置20は、複数通りの移動経路を含む或る3次元空間(以下、単に「空間」という。)に関して、自らに適した経路の生成を要求するユーザが利用する装置である。例えば、PC(Personal Computer)、スマートフォン、タブレット端末等が端末装置20として利用されてもよい。
(【0011】以降は省略されています)
この特許をJ-PlatPat(特許庁公式サイト)で参照する
関連特許
株式会社リコー
服薬支援装置
15日前
株式会社リコー
画像形成装置
1か月前
株式会社リコー
画像形成装置
15日前
株式会社リコー
外観検査装置
9日前
株式会社リコー
画像形成装置
24日前
株式会社リコー
画像形成装置
1か月前
株式会社リコー
画像形成装置
1か月前
株式会社リコー
画像形成装置
1か月前
株式会社リコー
液体吐出装置
1日前
株式会社リコー
機器及び異常判定方法
1か月前
株式会社リコー
画像形成装置及びシステム
1か月前
株式会社リコー
画像形成装置、及び、機器
23日前
株式会社リコー
定着装置及び画像形成装置
1日前
株式会社リコー
定着装置、及び画像形成装置
1か月前
株式会社リコー
延長トレイ及び画像形成装置
1か月前
株式会社リコー
光走査装置及び画像形成装置
22日前
株式会社リコー
画像読取装置及び画像読取方法
1か月前
株式会社リコー
シート供給装置、画像形成装置
22日前
株式会社リコー
画像形成装置及び異常判定方法
15日前
株式会社リコー
画像形成装置、及び画像形成方法
9日前
株式会社リコー
画像形成装置および画像形成方法
15日前
株式会社リコー
表示装置、切替方法、プログラム
1か月前
株式会社リコー
樹脂粒子、及び樹脂粒子の製造方法
1か月前
株式会社リコー
加熱搬送装置、及び、画像形成装置
23日前
株式会社リコー
媒体処理装置及び画像形成システム
1か月前
株式会社リコー
加熱装置、定着装置、画像形成装置
25日前
株式会社リコー
シート給送装置及び画像形成システム
1か月前
株式会社リコー
加熱装置、定着装置及び画像形成装置
1か月前
株式会社リコー
加熱装置、定着装置及び画像形成装置
9日前
株式会社リコー
通信端末、通信方法、及びプログラム
1か月前
株式会社リコー
通信装置、通信方法、及びプログラム
1か月前
株式会社リコー
後処理装置、及び、画像形成システム
2日前
株式会社リコー
読取装置、読取方法およびプログラム
1か月前
株式会社リコー
外観検査方法、および外観検査システム
1日前
株式会社リコー
光源装置、画像投影装置および調整方法
1か月前
株式会社リコー
樹脂粒子、トナー、及び、画像形成装置
22日前
続きを見る
他の特許を見る