TOP
|
特許
|
意匠
|
商標
特許ウォッチ
Twitter
他の特許を見る
公開番号
2025168207
公報種別
公開特許公報(A)
公開日
2025-11-07
出願番号
2024213754
出願日
2024-12-06
発明の名称
情報処理装置、画面作成方法、プログラム、及び情報処理システム
出願人
株式会社リコー
代理人
弁理士法人ITOH
主分類
H04N
7/18 20060101AFI20251030BHJP(電気通信技術)
要約
【課題】撮影により得た撮影画像を補完することで、利用者の利便性を向上させることを目的とする。
【解決手段】本開示は、撮影装置により対象物を撮影することで得られた撮影画像における所定領域である所定領域画像を表示する撮影画像表示領域と、前記撮影画像に位置合わせされた三次元画像の少なくとも一部を表示する三次元画像表示領域とを含む画面を作成する作成部と、前記撮影画像の撮影位置、前記所定領域画像、及びテキスト情報を関連付ける処理を行なう処理部と、を有し、前記作成部は、前記三次元画像表示領域内の前記撮影位置に対応する位置に、前記所定領域画像及び前記テキスト情報に関連付けられた前記撮影位置に対応する画像を含む前記画面を作成する、情報処理装置である。
【選択図】図27
特許請求の範囲
【請求項1】
撮影装置により対象物を撮影することで得られた撮影画像における所定領域である所定領域画像を表示する撮影画像表示領域と、前記撮影画像に位置合わせされた三次元画像の少なくとも一部を表示する三次元画像表示領域とを含む画面を作成する作成部と、
前記撮影画像の撮影位置、前記所定領域画像、及びテキスト情報を関連付ける処理を行なう処理部と、を有し、
前記作成部は、前記三次元画像表示領域内の前記撮影位置に対応する位置に、前記所定領域画像及び前記テキスト情報に関連付けられた前記撮影位置に対応する画像を含む前記画面を作成する、
情報処理装置。
続きを表示(約 1,300 文字)
【請求項2】
前記所定領域画像の前記所定領域を特定するための画角を示す画角情報を取得する取得部をさらに有し、
前記処理部は、前記撮影画像の撮影日時及び前記撮影画像の撮影位置に、取得された前記画角を関連付ける処理を行なう、請求項1に記載の情報処理装置。
【請求項3】
請求項1に記載の情報処理装置であって、
音声から音声テキストを生成するテキスト生成部を有し、
前記テキスト情報は、前記テキスト生成部によって、前記撮影画像が得られた際の撮影日時に集音された音声から生成された音声テキストである、情報処理装置。
【請求項4】
前記テキスト情報は、入力されたテキストである、請求項1に記載の情報処理装置。
【請求項5】
前記取得部は、前記三次元画像表示領域内において、前記撮影位置に対応する位置に、前記所定領域画像を撮影領域とする仮想カメラを示す画像を重畳するための登録要求を取得し、
前記処理部は、前記登録要求に応じた登録を行なう、
請求項2に記載の情報処理装置。
【請求項6】
前記作成部は、前記三次元画像表示領域内において、前記撮影画像表示領域で表示する前記所定領域画像の所定領域に対応する対応所定領域を表示するように前記画面を作成する、請求項1に記載の情報処理装置。
【請求項7】
前記作成部は、前記三次元画像表示領域内において、前記所定領域画像を撮影領域とする仮想カメラを示す画像から前記三次元画像表示領域における前記対応所定領域の中心点への視線を示す線図を表示するように前記画面を作成する、請求項6に記載の情報処理装置。
【請求項8】
前記取得部は、前記撮影画像表示領域で前記所定領域画像の表示中に、異なるタイミングで複数の前記登録要求を取得し、
前記処理部は、複数の前記登録要求に応じた登録を行ない、
前記作成部は、前記三次元画像表示領域内の複数の前記撮影位置に対応する各位置に、複数の前記仮想カメラを示す画像を重畳する、請求項5に記載の情報処理装置。
【請求項9】
前記作成部は、前記三次元画像表示領域内に、複数の前記撮影位置に対応する各位置に基づく前記撮影装置の移動経路を示す移動経路画像を重畳する、請求項8に記載の情報処理装置。
【請求項10】
撮影装置により対象物を撮影することで得られ、三次元画像に位置合わせされた撮影画像における第1の撮影日時の所定領域である第1の所定領域画像及び第1のテキスト情報と、前記撮影画像における第2の撮影日時の所定領域である第2の所定領域画像及び第2のテキスト情報とを含む画面を作成する作成部と、
前記三次元画像の少なくとも一部を表示する三次元画像表示領域内において、前記第1の撮影日時における第1の撮影位置に前記第1の所定領域画像、又は前記第2の撮影日時における第2の撮影位置に前記第2の所定領域画像を撮影領域とする仮想カメラを示す画像を重畳するための登録要求を取得する取得部と、
前記登録要求に応じた登録を行なう処理部と、
を有する情報処理装置。
(【請求項11】以降は省略されています)
発明の詳細な説明
【技術分野】
【0001】
本開示は、情報処理装置、画面作成方法、プログラム、及び情報処理システムに関する。
続きを表示(約 2,700 文字)
【背景技術】
【0002】
近年、通常の画角では確認しきれないような箇所も含む撮像範囲として、例えば360度の全周囲が撮像された360度画像(全天球画像、全方位画像、全周囲画像ともいう)等の広い視野角を有する広視野の画像(以下「広視野画像」と示す。)が知られている。このような広視野画像の全てを表示端末で表示させようとすると、広視野画像が湾曲して見えづらいため、表示端末には広視野画像における所定領域を示す所定領域画像を表示して、ユーザが所定領域画像を閲覧している(特許文献1参照)。
【発明の概要】
【発明が解決しようとする課題】
【0003】
しかしながら、ユーザは、表示される範囲の所定領域画像を閲覧するだけでは、所定領域画像がどこの何を撮影したものか、把握することが困難であった。
【0004】
また、撮影装置は、撮影位置から一度の撮影で撮影装置の周囲360度の対象物を撮影するのであって、対象物に対して360度の方向から撮影できるわけではない。よって、撮影範囲に入っている対象物であっても、対象物の裏側等を撮影することはできないため、利用者は対象物の裏側等の状態を把握することができない。
【0005】
以上の課題は、撮影画像が、広視野画像のように湾曲する画像ではない場合も同様であった。
【0006】
本開示は上記事情に鑑みてなされたもので、撮影により得た撮影画像を補完することにより、利用者の利便性を向上させることを目的とする。
【課題を解決するための手段】
【0007】
請求項1に係る開示内容は、撮影装置により対象物を撮影することで得られた撮影画像における所定領域である所定領域画像を表示する撮影画像表示領域と、前記撮影画像に位置合わせされた三次元画像の少なくとも一部を表示する三次元画像表示領域とを含む画面を作成する作成部と、前記撮影画像の撮影位置、前記所定領域画像、及びテキスト情報を関連付ける処理を行なう処理部と、を有し、前記作成部は、前記三次元画像表示領域内の前記撮影位置に対応する位置に、前記所定領域画像及び前記テキスト情報に関連付けられた前記撮影位置に対応する画像を含む前記画面を作成する、情報処理装置である。
【発明の効果】
【0008】
以上説明したように本開示によれば、撮影により得た撮影画像を補完する画像を作成することで、利用者の利便性を向上させることができるという効果を奏する。
【図面の簡単な説明】
【0009】
(a)は撮影装置の左側面図であり、(b)は撮影装置の正面図であり、(c)は撮影装置の平面図である。
撮影装置の使用イメージ図である。
(a)は撮影装置で撮影された半球画像(前側)、(b)は撮影装置で撮影された半球画像(後側)、(c)は正距円筒図法により表された画像を示した図である。
(a)は正距円筒射影画像で球を被う状態を示した概念図、(b)は全天球画像を示した図である。
全天球画像を3次元の立体球とした場合の仮想カメラ及び所定領域の位置を示した図である。
(a)は図5の立体斜視図、(b)は(a)の状態の所定領域画像がディスプレイに表示されている図、(c)は(a)における仮想カメラICの視点を変更後の所定領域を示した図、(d)は(c)の状態の所定領域画像がディスプレイに表示されている図である。
球座標による三次元ユークリッド空間内の点を示した図である。
所定領域と注目点との関係を示した概念図である。
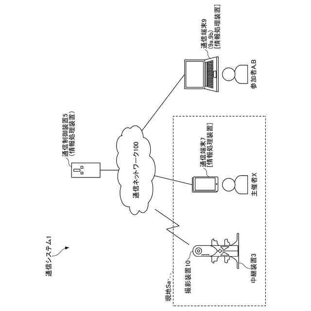
実施形態に係る通信システムの概略図である。
撮影装置のハードウェア構成図である。
中継装置のハードウェア構成図である。
通信制御装置及び通信端末のハードウェア構成図である。
実施形態に係る通信システムの各機能構成図である。
ユーザ・デバイス管理テーブルの概念図である。
仮想ルーム管理テーブルの概念図である。
三次元画像管理テーブル(その1)の概念図である。
三次元画像管理テーブル(その2)の概念図である。
過去に作成された現在作成中の移動履歴管理テーブルの概念図である。
現在作成中の移動履歴管理テーブルの概念図
通信システムにおいてコンテンツデータの通信処理を示したシーケンス図である。
通信システムにおいて録画及び録音を開始する処理を示すシーケンス図である。
通信システムにおいて録画及び録音を停止する処理を示すシーケンス図である。
通信システムにおいて録画及び録音の再生の処理を示すシーケンス図である。
録画データ選択画面を示す図である。
画面表示処理において通信制御装置が実行する処理を示すフローチャートである。
画面表示処理において通信制御装置が実行する処理を示すフローチャートである。
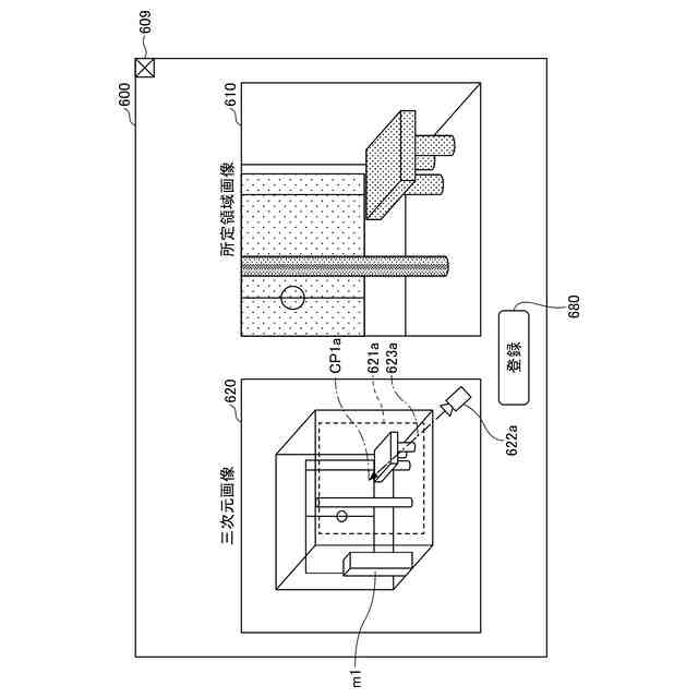
通信端末9aに表示する画面の初期表示例を示す図である。
表示領域620に対して、対応所定領域、仮想カメラIC1のアイコン、及び仮想カメラIC1の視線を示す線図を表示した画面を示す図である。
通信端末9aにおいて、同じ撮影位置及び画角で、撮影の対象物に変化が生じた状態を示す図である。
通信端末9aにおいて、仮想カメラIC1のアイコン、対応表示領域、及び視線を示す線図を重畳した別の状態を示す図である。
撮影日時の登録時の撮影装置の位置及び画角を示す各仮想カメラIC1のアイコンの移動経路、並びに、最新の対応表示領域及び視線を示す線図を重畳した状態を示す図である。
通信端末9aにおいて、複数の録画した所定領域画像を再生する場合の画面を示す図である。
撮影日時の登録後の画面表示処理において通信制御装置が実行する処理を示すフローチャートである。
撮影日時の登録後の画面表示処理において通信制御装置が実行する処理を示すフローチャートである。
通信端末9aにおいて、撮影日時の登録後に現在の所定領域画像を表示する場合の画面を示す図である。
通信端末9aにおいて、撮影日時の登録後に過去の所定領域画像を追加表示する場合の画面を示す図である。
【発明を実施するための形態】
【0010】
以下、図面を用いて、本発明の実施形態について説明する。
(【0011】以降は省略されています)
この特許をJ-PlatPat(特許庁公式サイト)で参照する
関連特許
株式会社リコー
画像形成装置
13日前
株式会社リコー
画像形成装置
13日前
株式会社リコー
画像形成装置
16日前
株式会社リコー
画像形成装置
7日前
株式会社リコー
画像形成装置
21日前
株式会社リコー
機器及び異常判定方法
21日前
株式会社リコー
画像形成装置及びシステム
19日前
株式会社リコー
画像形成装置、及び、機器
6日前
株式会社リコー
光走査装置及び画像形成装置
5日前
株式会社リコー
定着装置、及び画像形成装置
21日前
株式会社リコー
延長トレイ及び画像形成装置
16日前
株式会社リコー
画像読取装置及び画像読取方法
15日前
株式会社リコー
シート供給装置、画像形成装置
5日前
株式会社リコー
表示装置、切替方法、プログラム
26日前
株式会社リコー
加熱搬送装置、及び、画像形成装置
6日前
株式会社リコー
媒体処理装置及び画像形成システム
16日前
株式会社リコー
樹脂粒子、及び樹脂粒子の製造方法
13日前
株式会社リコー
加熱装置、定着装置、画像形成装置
8日前
株式会社リコー
読取装置、読取方法およびプログラム
16日前
株式会社リコー
シート給送装置及び画像形成システム
22日前
株式会社リコー
通信装置、通信方法、及びプログラム
19日前
株式会社リコー
加熱装置、定着装置及び画像形成装置
20日前
株式会社リコー
通信端末、通信方法、及びプログラム
19日前
株式会社リコー
光源装置、画像投影装置および調整方法
26日前
株式会社リコー
樹脂粒子、トナー、及び、画像形成装置
5日前
株式会社リコー
通信装置、状態制御方法、及びプログラム
22日前
株式会社リコー
画像形成装置、情報処理方法及びプログラム
19日前
株式会社リコー
画像形成装置、及び、プロセスカートリッジ
26日前
株式会社リコー
画像読取装置、画像判定方法およびプログラム
19日前
株式会社リコー
画像形成装置、情報処理方法およびプログラム
20日前
株式会社リコー
画像形成装置、画像処理方法およびプログラム
14日前
株式会社リコー
画像処理装置、画像処理方法およびプログラム
今日
株式会社リコー
情報処理装置、情報処理方法およびプログラム
5日前
株式会社リコー
モノクロ用光走査装置及びモノクロ画像形成装置
19日前
株式会社リコー
表示装置、表示方法、プログラム、表示システム
今日
株式会社リコー
表示装置、表示方法、プログラム、表示システム
8日前
続きを見る
他の特許を見る