TOP
|
特許
|
意匠
|
商標
特許ウォッチ
Twitter
他の特許を見る
10個以上の画像は省略されています。
公開番号
2025146636
公報種別
公開特許公報(A)
公開日
2025-10-03
出願番号
2024209329
出願日
2024-12-02
発明の名称
情報処理装置、レポート作成システム、プログラム、情報処理方法
出願人
株式会社リコー
代理人
弁理士法人ITOH
主分類
G06Q
50/10 20120101AFI20250926BHJP(計算;計数)
要約
【課題】AIシステムを利用したレポートの作成を支援する。
【課題を解決するための手段】端末から、情報処理装置又はアプリサービスが提供するアプリが管理するデータの分析画面の画面情報の取得要求を受信して、端末に、アプリサービスからアプリが管理するデータを取得して分析用データを作成させて生成AIシステムにアップロードさせる分析用プログラムを含む画面情報を端末に送信し、端末から、分析用データと、端末に表示された分析画面に入力された分析に関するチャットメッセージとを受信すると、チャットメッセージに応じた分析用データの分析を要求するリクエストメッセージを生成AIシステムに送信し、生成AIシステムから分析用データの分析結果を含むレスポンスメッセージを受信し、さらに、分析結果を含むレポートを端末に送信する情報処理装置である。
【選択図】図4
特許請求の範囲
【請求項1】
端末装置及び生成AIシステムと、ネットワークを介して通信する情報処理装置であって、
前記端末装置から、前記情報処理装置又はアプリケーションサービスが提供するアプリケーションが管理するデータの分析画面の画面情報の取得要求を受信して、前記端末装置に、前記アプリケーションが管理するデータを取得して分析用データを作成させ、前記生成AIシステムにアップロードさせる分析用プログラムを含む前記画面情報を前記端末装置に送信する通信部と、
前記通信部が、前記端末装置から、前記分析用データと、前記端末装置に表示された前記分析画面に入力された分析に関するチャットメッセージとを受信すると、前記チャットメッセージに応じた前記分析用データの分析を要求するリクエストメッセージを前記生成AIシステムに送信し、前記生成AIシステムから前記分析用データの分析結果を含むレスポンスメッセージを受信するチャット制御部と、を有し、
前記通信部は、さらに、
前記分析結果を含むレポートを前記端末装置に送信する、情報処理装置。
続きを表示(約 2,800 文字)
【請求項2】
前記端末装置は、前記アプリケーションサービスと通信を行う第一のWebブラウザと、前記第一のWebブラウザと通信を行う第二のWebブラウザとを有し、
前記通信部は、
前記第一のWebブラウザに対する操作に応じて前記第一のWebブラウザから前記第二のWebブラウザに送信された前記画面情報の取得要求を、前記第二のWebブラウザから受信し、前記画面情報を前記第二のWebブラウザに送信し、
前記チャット制御部は、
前記通信部が、前記第二のWebブラウザから、前記分析用データと、前記第二のWebブラウザに表示された前記分析画面において入力された前記チャットメッセージとを受信すると、前記チャットメッセージに応じた前記分析用データの分析を要求するリクエストメッセージを前記生成AIシステムに送信し、
前記通信部は、さらに、
前記レスポンスメッセージに含まれる前記分析結果を含むレポートを前記第二のWebブラウザに送信する、請求項1記載の情報処理装置。
【請求項3】
前記チャット制御部は、
前記通信部が、前記第二のWebブラウザから、スレッドの作成を要求するリクエストメッセージを受信すると、該リクエストメッセージを前記生成AIシステムに送信し、前記生成AIシステムから前記スレッドを特定するスレッドIDを取得し、
前記チャット制御部は、
前記通信部が、前記スレッドIDを前記第二のWebブラウザに送信し、前記第二のWebブラウザから、前記スレッドIDの送信に応じた、前記生成AIシステムに対する前記分析用データのアップロードを要求するリクエストメッセージを受信すると、該リクエストメッセージを前記生成AIシステムに送信し、前記生成AIシステムから、アップロードされた前記分析用データを特定するファイルIDを取得し、
前記チャット制御部は、
前記通信部が、前記ファイルIDを前記第二のWebブラウザに送信し、前記第二のWebブラウザから、前記ファイルIDの送信に応じた、前記スレッドで参照される前記分析用データの指定を要求するリクエストメッセージを受信すると、該リクエストメッセージを前記生成AIシステムに送信する、請求項2記載の情報処理装置。
【請求項4】
前記アプリケーションが管理するデータは、JSON形式のデータであり、前記分析用データは、CSV形式のファイルである、請求項1又は2記載の情報処理装置。
【請求項5】
前記レスポンスメッセージに含まれる前記分析結果を用いて前記レポートを作成するレポート作成部を有し、
前記通信部は、
前記レポート作成部が作成したレポートを前記端末装置へ送信する、請求項1記載の情報処理装置。
【請求項6】
端末装置と、情報処理装置とがネットワークを介して通信するレポート作成システムであって、
前記情報処理装置は、
前記端末装置から、前記情報処理装置又はアプリケーションサービスが提供するアプリケーションが管理するデータの分析画面の画面情報の取得要求を受信して、前記端末装置に、前記アプリケーションが管理するデータを取得して分析用データを作成させ、生成AIシステムにアップロードさせる分析用プログラムを含む前記画面情報を前記端末装置に送信する第一の通信部と、
前記第一の通信部が、前記端末装置から、前記分析用データと、前記端末装置に表示された前記分析画面に入力された分析に関するチャットメッセージとを受信すると、前記チャットメッセージに応じた前記分析用データの分析を要求するリクエストメッセージを前記生成AIシステムに送信し、前記生成AIシステムから前記分析用データの分析結果を含むレスポンスメッセージを受信するチャット制御部と、を有し、
前記第一の通信部は、さらに、
前記分析結果を含むレポートを前記端末装置に送信し、
前記端末装置は、
前記端末装置の表示装置に表示された前記分析画面において、前記データの分析を開始する操作を受け付ける操作受付部と、
前記データの分析を開始する操作に応じて前記分析用プログラムを実行して前記分析用データを作成し、前記生成AIシステムに対する前記分析用データのアップロードを要求するリクエストメッセージを前記情報処理装置へ送信する第二の通信部と、
前記情報処理装置から受信した前記レポートを前記表示装置に表示させる表示制御部と、を有する、レポート作成システム。
【請求項7】
端末装置及び生成AIシステムと、ネットワークを介して通信する情報処理装置に、
前記端末装置から、前記情報処理装置又はアプリケーションサービスが提供するアプリケーションが管理するデータの分析画面の画面情報の取得要求を受信して、前記端末装置に、前記アプリケーションが管理するデータを取得して分析用データを作成させ、前記生成AIシステムにアップロードさせる分析用プログラムを含む前記画面情報を前記端末装置に送信し、
前記端末装置から、前記分析用データと、前記端末装置に表示された前記分析画面に入力された分析に関するチャットメッセージとを受信すると、前記チャットメッセージに応じた前記分析用データの分析を要求するリクエストメッセージを前記生成AIシステムに送信し、前記生成AIシステムから前記分析用データの分析結果を含むレスポンスメッセージを受信し、
さらに、
前記分析結果を含むレポートを前記端末装置に送信する、処理を実行させる、プログラム。
【請求項8】
端末装置及び生成AIシステムと、ネットワークを介して通信する情報処理装置が、
前記端末装置から、前記情報処理装置又はアプリケーションサービスが提供するアプリケーションが管理するデータの分析画面の画面情報の取得要求を受信して、前記端末装置に、前記アプリケーションが管理するデータを取得して分析用データを作成させ、前記生成AIシステムにアップロードさせる分析用プログラムを含む前記画面情報を前記端末装置に送信し、
前記端末装置から、前記分析用データと、前記端末装置に表示された前記分析画面に入力された分析に関するチャットメッセージとを受信すると、前記チャットメッセージに応じた前記分析用データの分析を要求するリクエストメッセージを前記生成AIシステムに送信し、前記生成AIシステムから前記分析用データの分析結果を含むレスポンスメッセージを受信し、
さらに、
前記分析結果を含むレポートを前記端末装置に送信する、情報処理方法。
発明の詳細な説明
【技術分野】
【0001】
本発明は、情報処理装置、レポート作成システム、プログラム、情報処理方法に関する。
続きを表示(約 2,600 文字)
【背景技術】
【0002】
近年では、プログラムコードの入力を少なくしたり全くなくしたりするプログラミング支援技術が知られている。その一例として、人工知能(AI)を利用して、プログラムコードを自動生成する技術が知られている。
【発明の概要】
【発明が解決しようとする課題】
【0003】
プログラムでは、様々なデータが管理されている。プログラムが管理するデータを分析してレポートを作成するためには、プログラムを管理するデータの内容や分析の仕方を把握する必要があり、難易度が高い。このため、プログラムが管理するデータに関するレポートの作成においても、プログラムコードの入力を少なくしたり、全くなくしたりする支援が行われることが望ましい。
【0004】
開示の技術は、上記事情に鑑みて成されたものであり、AIシステム(生成AIシステム等)を利用したレポートの作成を支援することを目的としている。
【課題を解決するための手段】
【0005】
開示の技術は、端末装置及び生成AIシステムと、ネットワークを介して通信する情報処理装置であって、前記端末装置から、前記情報処理装置又はアプリケーションサービスが提供するアプリケーションが管理するデータの分析画面の画面情報の取得要求を受信して、前記端末装置に、前記アプリケーションが管理するデータを取得して分析用データを作成させ、前記生成AIシステムにアップロードさせる分析用プログラムを含む前記画面情報を前記端末装置に送信する通信部と、前記通信部が、前記端末装置から、前記分析用データと、前記端末装置に表示された前記分析画面に入力された分析に関するチャットメッセージとを受信すると、前記チャットメッセージに応じた前記分析用データの分析を要求するリクエストメッセージを前記生成AIシステムに送信し、前記生成AIシステムから前記分析用データの分析結果を含むレスポンスメッセージを受信するチャット制御部と、を有し、前記通信部は、さらに、前記分析結果を含むレポートを前記端末装置に送信する。
【発明の効果】
【0006】
AIシステム(生成AIシステム等)を利用したレポートの作成を支援できる。
【図面の簡単な説明】
【0007】
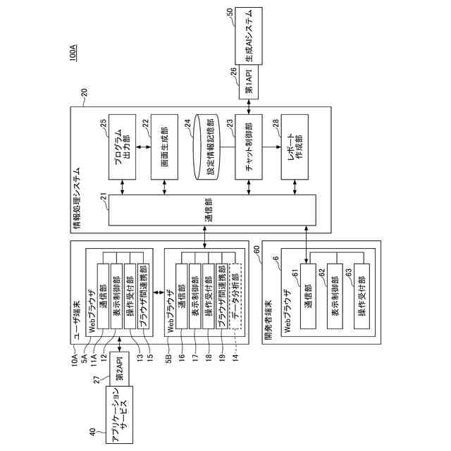
第一の実施形態のレポート作成システムのシステム構成の一例を説明する図である。
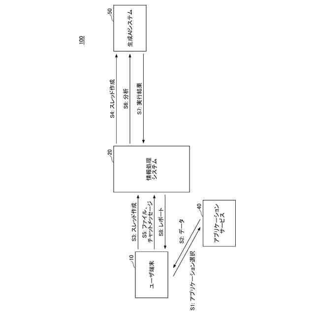
第一の実施形態のレポート作成システムの動作の概要を説明する図である。
第一の実施形態の情報処理システム、ユーザ端末、及び、開発者端末の一例のハードウェア構成を示す図である。
第一の実施形態のレポート作成システムの有する各装置の機能を説明する図である。
第一の実施形態のレポート作成システムの動作を説明する第一のシーケンス図である。
第一の実施形態のレポート作成システムの動作を説明する第二のシーケンス図である。
第二の実施形態のレポート作成システムの有する各装置の機能を説明する図である。
第二の実施形態のレポート作成システムの動作を説明する第一のシーケンス図である。
第二の実施形態のレポート作成システムの動作を説明する第二のシーケンス図である。
第二の実施形態のユーザ端末の表示例を示す第一の図である。
第二の実施形態のユーザ端末の表示例を示す第二の図である。
第二の実施形態のスレッドの作成を要求するリクエストメッセージの一例を示す図である。
第二の実施形態の分析用ファイルのアップロードを要求するリクエストメッセージの一例を示す図である。
第二の実施形態のユーザ端末の表示例を示す第三の図である。
第二の実施形態のチャットメッセージのスレッドへの追加を要求するリクエストメッセージの一例を示す図である。
第二の実施形態のチャットメッセージに応じたアシスタントの実行を要求するリクエストメッセージの一例を示す図である。
第二の実施形態の実行IDで特定される処理の実行ステータスの取得を要求するリクエストメッセージの一例を示す図である。
第二の実施形態の実行ステータスを含むレスポンスメッセージの一例を示す図である。
第二の実施形態の分析結果の取得を要求するリクエストメッセージを示す第一の図である。
第二の実施形態のテキストデータを含むレスポンスメッセージを示す図である。
第二の実施形態の分析結果の取得を要求するリクエストメッセージを示す第二の図である。
第二の実施形態のユーザ端末の表示例を示す第四の図である。
第二の実施形態のユーザ端末の表示例を示す第五の図である。
第三の実施形態のレポート作成システムの動作の概要を説明する図である。
第三の実施形態のレポート作成システムの有する各装置の機能を説明する図である。
第三の実施形態のレポート作成システムの動作を説明するシーケンス図である。
【発明を実施するための形態】
【0008】
(第一の実施形態)
以下に図面を参照して、本実施形態について説明する。図1は、第一の実施形態のレポート作成システムのシステム構成の一例を説明する図である。
【0009】
本実施形態のレポート作成システム100は、情報処理システム20と、ユーザ端末10と、開発者端末60と、を有する。
【0010】
レポート作成システム100において、情報処理システム20とユーザ端末10、及び、情報処理システム20と開発者端末60は、ネットワークN1、N2を介して通信可能に接続されている。また、情報処理システム20は、ネットワークN1を介して生成AIシステム50と通信できる。さらに、ユーザ端末10及び開発者端末60は、ネットワークN1、N2を介して生成AI(Artificial Intelligence)システム50及び外部システムであるアプリケーションサービス40と通信できる。なお、情報処理システム20は、ネットワークN1を介したアプリケーションサービス40と通信してもよい。
(【0011】以降は省略されています)
この特許をJ-PlatPat(特許庁公式サイト)で参照する
関連特許
株式会社リコー
移動体
12日前
株式会社リコー
液体塗布装置
25日前
株式会社リコー
画像形成装置
21日前
株式会社リコー
印刷システム
21日前
株式会社リコー
画像形成装置
24日前
株式会社リコー
画像形成装置
17日前
株式会社リコー
画像形成装置
21日前
株式会社リコー
画像形成装置
21日前
株式会社リコー
感熱記録媒体
18日前
株式会社リコー
拡張アンテナ装置
24日前
株式会社リコー
画像形成システム
17日前
株式会社リコー
印刷応答補償機構
25日前
株式会社リコー
生体情報測定装置
18日前
株式会社リコー
マーキングシステム
24日前
株式会社リコー
液体を吐出する装置
18日前
株式会社リコー
電極及びその製造方法
21日前
株式会社リコー
電極及びその製造方法
19日前
株式会社リコー
多孔質構造体の製造方法
21日前
株式会社リコー
定着装置及び画像形成装置
1か月前
株式会社リコー
定着装置及び画像形成装置
25日前
株式会社リコー
パルスバルブおよび塗布装置
21日前
株式会社リコー
印刷装置および印刷システム
17日前
株式会社リコー
液体塗布装置および洗浄方法
21日前
株式会社リコー
ファイル分析・保存システム
21日前
株式会社リコー
塗装システム、及び塗装方法
21日前
株式会社リコー
液吐出装置、及び液吐出方法
25日前
株式会社リコー
センサ素子及びセンサアレイ
1か月前
株式会社リコー
センサ素子及びセンサアレイ
1か月前
株式会社リコー
定着装置、及び、画像形成装置
21日前
株式会社リコー
定着装置、及び、画像形成装置
21日前
株式会社リコー
後処理装置および画像形成装置
21日前
株式会社リコー
液体吐出装置及び液体吐出方法
17日前
株式会社リコー
表示装置、切替方法、プログラム
3日前
株式会社リコー
システム、方法およびプログラム
17日前
株式会社リコー
ベルト装置、及び、画像形成装置
17日前
株式会社リコー
パーソナライズビデオメカニズム
19日前
続きを見る
他の特許を見る