TOP
|
特許
|
意匠
|
商標
特許ウォッチ
Twitter
他の特許を見る
10個以上の画像は省略されています。
公開番号
2025170954
公報種別
公開特許公報(A)
公開日
2025-11-20
出願番号
2024075826
出願日
2024-05-08
発明の名称
画像形成装置、画像形成装置の制御方法及び画像形成装置の制御プログラム
出願人
株式会社リコー
代理人
個人
,
個人
主分類
G03G
15/02 20060101AFI20251113BHJP(写真;映画;光波以外の波を使用する類似技術;電子写真;ホログラフイ)
要約
【課題】像担持体に印加する交流電圧の初期設定時間を短縮する。
【解決手段】画像形成装置は、像担持体を帯電する帯電部材に供給する交流電圧を生成する電圧生成部と、装置本体内の温度と湿度とを動作環境として測定する測定部と、基準交流電圧値が動作環境の区分毎に記憶されている第1記憶部と、帯電部材への印加に使用された使用交流電圧値が動作環境の区分毎に記憶される第2記憶部と、第2記憶部において測定部で測定された動作環境である測定動作環境の区分に使用交流電圧値が記憶されていることを検出した場合、検出した使用交流電圧値に基づいて電圧生成部に交流電圧を生成させ、第2記憶部における測定動作環境の区分に使用交流電圧値が記憶されていない場合、第1記憶部における測定動作環境の区分に記憶されている基準交流電圧値に基づいて電圧生成部に交流電圧を生成させる制御部と、を有する。
【選択図】図5
特許請求の範囲
【請求項1】
静電潜像が形成される像担持体と、
交流電圧に基づいて前記像担持体を帯電する帯電部材と、
前記帯電部材に供給する交流電圧を生成する電圧生成部と、
前記電圧生成部と前記像担持体との間に流れる電流を検知する電流検知部と、
前記像担持体と前記帯電部材とが設けられる装置本体内の温度と湿度とを動作環境として測定する測定部と、
基準の交流電圧値である基準交流電圧値が前記動作環境の区分毎に記憶されている第1記憶部と、
前記帯電部材への印加に使用された交流電圧値である使用交流電圧値が前記動作環境の区分毎に記憶される第2記憶部と、
前記第2記憶部において前記測定部で測定された動作環境である測定動作環境の区分に前記使用交流電圧値が記憶されていることを検出した場合、検出した使用交流電圧値に基づいて前記電圧生成部に交流電圧を生成させ、前記第2記憶部における前記測定動作環境の区分に前記使用交流電圧値が記憶されていないことを検出した場合、前記第1記憶部における前記測定動作環境の区分に記憶されている前記基準交流電圧値に基づいて前記電圧生成部に交流電圧を生成させる制御部と、を有すること
を特徴とする画像形成装置。
続きを表示(約 2,600 文字)
【請求項2】
前記制御部は、さらに、
前記第2記憶部における前記測定動作環境の区分に記憶されている前記使用交流電圧値が、前記第1記憶部における前記測定動作環境の区分に記憶されている前記基準交流電圧値にマージンを付加した上限交流電圧値より小さい場合、前記使用交流電圧値に基づいて前記電圧生成部に交流電圧を生成させ、
前記使用交流電圧値が、前記上限交流電圧値以上の場合、前記基準交流電圧値に基づいて前記電圧生成部に交流電圧を生成させること
を特徴とする請求項1に記載の画像形成装置。
【請求項3】
静電潜像が形成される像担持体と、
交流電圧に基づいて前記像担持体を帯電する帯電部材と、
前記帯電部材に供給する交流電圧を生成する電圧生成部と、
前記電圧生成部と前記像担持体との間に流れる電流を検知する電流検知部と、
前記像担持体と前記帯電部材とが設けられる装置本体内の温度と湿度とを動作環境として測定する測定部と、
基準の交流電圧値である基準交流電圧値が前記動作環境の区分毎に記憶されている第1記憶部と、
前記帯電部材への印加に使用される交流電圧値である使用交流電圧値が前記動作環境の区分毎に記憶されている第2記憶部と、
前記第2記憶部において前記測定部で測定された動作環境である測定動作環境の区分に記憶されている前記使用交流電圧値が、前記第1記憶部における前記測定動作環境の区分に記憶されている前記基準交流電圧値にマージンを付加した上限交流電圧値より小さい場合、前記使用交流電圧値に基づいて前記電圧生成部に交流電圧を生成させ、前記使用交流電圧値が、前記上限交流電圧値以上の場合、前記基準交流電圧値に基づいて前記電圧生成部に交流電圧を生成させる制御部と、を有すること
を特徴とする画像形成装置。
【請求項4】
前記制御部は、前記電圧生成部に交流電圧を生成させるために使用した交流電圧値を、前記第2記憶部における前記測定動作環境の区分に前記使用交流電圧値として格納すること
を特徴とする請求項1ないし請求項3のいずれか1項に記載の画像形成装置。
【請求項5】
前記装置本体内の部品の交換履歴が記憶される第3記憶部を有し、
前記制御部は、帯電プロセスに関係する部品の交換履歴が前記第3記憶部に登録された場合、前記第2記憶部を初期化すること
を特徴とする請求項1ないし請求項3のいずれか1項に記載の画像形成装置。
【請求項6】
前記制御部は、帯電プロセスに関係する部品の交換履歴が前記第3記憶部に登録された場合、前記動作環境の区分毎に、前記第1記憶部に記憶されている前記基準交流電圧値を前記使用交流電圧値として前記第2記憶部に格納することで前記第2記憶部を初期化すること
を特徴とする請求項5に記載の画像形成装置。
【請求項7】
前記第2記憶部における前記動作環境の区分のそれぞれには、前記第1記憶部における前記動作環境の区分にそれぞれに記憶されている前記基準交流電圧値が前記使用交流電圧値として予め記憶されていること
を特徴とする請求項1ないし請求項3のいずれか1項に記載の画像形成装置。
【請求項8】
前記制御部は、前記基準交流電圧値又は前記使用交流電圧値が目標範囲内になるまで前記電圧生成部に交流電圧を生成させる制御を繰り返し実施すること
を特徴とする請求項1ないし請求項3のいずれか1項に記載の画像形成装置。
【請求項9】
静電潜像が形成される像担持体と、交流電圧に基づいて前記像担持体を帯電する帯電部材と、前記帯電部材に供給する交流電圧を生成する電圧生成部と、前記電圧生成部と前記像担持体との間に流れる電流を検知する電流検知部と、前記像担持体と前記帯電部材とが設けられる装置本体内の温度と湿度とを動作環境として測定する測定部と、基準の交流電圧値である基準交流電圧値が前記動作環境の区分毎に記憶されている第1記憶部と、前記帯電部材への印加に使用された交流電圧値である使用交流電圧値が前記動作環境の区分毎に記憶される第2記憶部と、を有する画像形成装置の制御方法であって、
前記画像形成装置が有する制御部が、
前記第2記憶部において前記測定部で測定された動作環境である測定動作環境の区分に前記使用交流電圧値が記憶されていることを検出した場合、検出した使用交流電圧値に基づいて前記電圧生成部に交流電圧を生成させ、
前記第2記憶部における前記測定動作環境の区分に前記使用交流電圧値が記憶されていないことを検出した場合、前記第1記憶部における前記測定動作環境の区分に記憶されている前記基準交流電圧値に基づいて前記電圧生成部に交流電圧を生成させること
を特徴とする画像形成装置の制御方法。
【請求項10】
静電潜像が形成される像担持体と、交流電圧に基づいて前記像担持体を帯電する帯電部材と、前記帯電部材に供給する交流電圧を生成する電圧生成部と、前記電圧生成部と前記像担持体との間に流れる電流を検知する電流検知部と、前記像担持体と前記帯電部材とが設けられる装置本体内の温度と湿度とを動作環境として測定する測定部と、基準の交流電圧値である基準交流電圧値が前記動作環境の区分毎に記憶されている第1記憶部と、前記帯電部材への印加に使用された交流電圧値である使用交流電圧値が前記動作環境の区分毎に記憶される第2記憶部と、を有する画像形成装置の制御プログラムであって、
前記画像形成装置が有する制御部に、
前記第2記憶部において前記測定部で測定された動作環境である測定動作環境の区分に前記使用交流電圧値が記憶されていることを検出した場合、検出した使用交流電圧値に基づいて前記電圧生成部に交流電圧を生成させ、
前記第2記憶部における前記測定動作環境の区分に前記使用交流電圧値が記憶されていないことを検出した場合、前記第1記憶部における前記測定動作環境の区分に記憶されている前記基準交流電圧値に基づいて前記電圧生成部に交流電圧を生成させること
を特徴とする画像形成装置の制御プログラム。
発明の詳細な説明
【技術分野】
【0001】
本発明は、画像形成装置、画像形成装置の制御方法及び画像形成装置の制御プログラムに関する。
続きを表示(約 1,900 文字)
【背景技術】
【0002】
例えば、画像形成装置の感光体ドラムに交流の帯電電圧を印加する帯電プロセスにおいて、前回の帯電電圧を基準として、帯電電圧の印加時に流れる交流電流が目標値となるように帯電電圧の波高値を決定する手法が知られている(例えば、特許文献1参照)。
【0003】
また、画像形成装置の起動時に感光体ドラムを回転させて求めた帯電電圧が所定回数連続して異常値を示す場合に、メモリに保持された過去の履歴を参照し、類似した環境での帯電電圧の波高値を利用する手法が知られている(例えば、特許文献2参照)。
【発明の概要】
【発明が解決しようとする課題】
【0004】
しかしながら、画像形成装置の温湿度環境が前回の帯電電圧の決定時に比べて異なる場合、像担持体に印加する交流電圧の初期設定時間が長くなるという問題があった。
【0005】
上記の課題に鑑み、本発明は、像担持体に印加する交流電圧の初期設定時間を短縮することを目的とする。
【課題を解決するための手段】
【0006】
上記技術的課題を解決するため、本発明の一形態の画像形成装置は、静電潜像が形成される像担持体と、交流電圧に基づいて前記像担持体を帯電する帯電部材と、前記帯電部材に供給する交流電圧を生成する電圧生成部と、前記電圧生成部と前記像担持体との間に流れる電流を検知する電流検知部と、前記像担持体と前記帯電部材とが設けられる装置本体内の温度と湿度とを動作環境として測定する測定部と、基準の交流電圧値である基準交流電圧値が前記動作環境の区分毎に記憶されている第1記憶部と、前記帯電部材への印加に使用された交流電圧値である使用交流電圧値が前記動作環境の区分毎に記憶される第2記憶部と、前記第2記憶部において前記測定部で測定された動作環境である測定動作環境の区分に前記使用交流電圧値が記憶されていることを検出した場合、検出した使用交流電圧値に基づいて前記電圧生成部に交流電圧を生成させ、前記第2記憶部における前記測定動作環境の区分に前記使用交流電圧値が記憶されていないことを検出した場合、前記第1記憶部における前記測定動作環境の区分に記憶されている前記基準交流電圧値に基づいて前記電圧生成部に交流電圧を生成させる制御部と、を有することを特徴とする。
【発明の効果】
【0007】
像担持体に印加する交流電圧の初期設定時間を短縮することができる。
【図面の簡単な説明】
【0008】
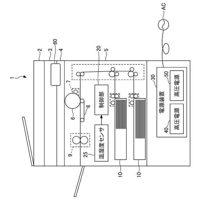
本発明の一実施形態に係る画像形成装置の一例を示す全体構成図である。
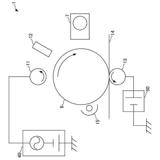
図1の画像形成装置における電子写真プロセスを実施する主要部の一例を示す説明図である。
図1の制御部及び高圧電源の構成の一例を示す機能ブロック図である。
図3のメモリに記憶される基準交流電圧値及び使用交流電圧値の例を示す図である。
図3の制御部による帯電電流の制御の一例を示すフロー図である。
本発明の第2の実施形態に係る画像形成装置のメモリに記憶される各種データの例を示す図である。
本発明の第3の実施形態に係る画像形成装置のメモリに記憶される各種データの例を示す図である。
第3の実施形態の制御部による帯電電流の制御の一例を示すフロー図である。
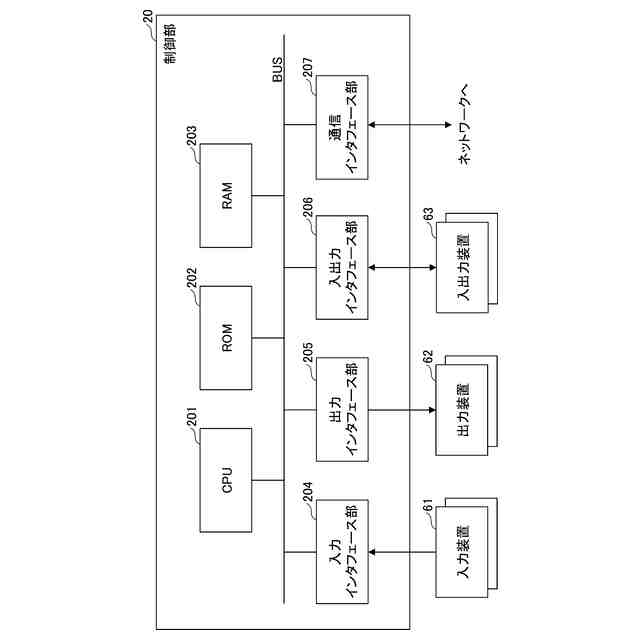
第1の実施形態~第3の実施形態の制御部のハードウェア構成の一例を示すブロック図である。
【発明を実施するための形態】
【0009】
以下、図面を参照して実施の形態の説明を行う。なお、各図面において、同一構成部分には同一符号を付し、重複した説明を省略する場合がある。
【0010】
(第1の実施形態)
図1は、本発明の第1の実施形態に係る画像形成装置の一例を示す全体構成図である。図1に示す画像形成装置1は、例えば、コピー機能、プリント機能、スキャナ機能及びファクシミリ機能等を有するデジタル複合機(MFP:Multi-Function Printer)である。画像形成装置1は、画像形成装置1の操作部のアプリケーション切り替えキー等により、コピー機能、プリント機能、スキャナ機能及びファクシミリ機能をそれぞれ実現する動作モードを相互に切り替えることが可能である。画像形成装置1は、コピー機能の選択時にはコピーモードとなり、プリント機能の選択時にはプリントモードとなり、スキャナ機能の選択時にはスキャナモードとなり、ファクシミリ機能の選択時にはファクシミリモードとなる。
(【0011】以降は省略されています)
この特許をJ-PlatPat(特許庁公式サイト)で参照する
関連特許
株式会社リコー
画像形成装置
7日前
株式会社リコー
服薬支援装置
7日前
株式会社リコー
外観検査装置
1日前
株式会社リコー
画像形成装置及び異常判定方法
7日前
株式会社リコー
画像形成装置、及び画像形成方法
1日前
株式会社リコー
画像形成装置および画像形成方法
7日前
株式会社リコー
加熱装置、定着装置及び画像形成装置
1日前
株式会社リコー
画像形成装置、画像形成方法およびプログラム
7日前
株式会社リコー
情報処理装置、情報処理方法およびプログラム
2日前
株式会社リコー
画像処理装置、画像処理方法およびプログラム
9日前
株式会社リコー
表示装置、表示方法、プログラム、表示システム
9日前
株式会社リコー
表示装置、表示方法、プログラム、表示システム
1日前
株式会社リコー
シート収容装置、シート給送装置及び画像形成装置
7日前
株式会社リコー
情報処理システム、情報処理装置、方法およびプログラム
1日前
株式会社リコー
機器システム、制御方法、情報処理装置、プログラム、機器
1日前
株式会社リコー
筆記装置、表示装置、および、コミュニケーションシステム
1日前
株式会社リコー
導電膜製造方法、焼結装置、電磁波シールド層及び電極パターン
1日前
株式会社リコー
液体吐出システム、液体吐出装置、液体吐出方法およびプログラム
1日前
株式会社リコー
情報共有システム、情報共有方法、サーバー装置、プログラム、機器
1日前
株式会社リコー
画像形成装置、画像形成装置の制御方法及び画像形成装置の制御プログラム
1日前
株式会社リコー
トナー、トナー収容ユニット、画像形成装置、画像形成方法及び印刷物の製造方法
7日前
株式会社リコー
通信端末、通信システム、通信方法およびプログラム
1日前
株式会社リコー
表示端末、共用システム、表示制御方法およびプログラム
1日前
株式会社リコー
情報処理システム、情報処理装置、情報処理方法、及びプログラム
7日前
個人
表示装置
1か月前
個人
雨用レンズカバー
1か月前
株式会社シグマ
絞りユニット
2か月前
キヤノン株式会社
撮像装置
28日前
キヤノン株式会社
撮像装置
28日前
キヤノン株式会社
撮像装置
2か月前
キヤノン株式会社
撮像装置
2か月前
日本精機株式会社
車両用投射装置
1か月前
平和精機工業株式会社
雲台
2か月前
キヤノン株式会社
撮像装置
1か月前
キヤノン株式会社
撮像装置
28日前
株式会社リコー
画像形成装置
7日前
続きを見る
他の特許を見る