TOP
|
特許
|
意匠
|
商標
特許ウォッチ
Twitter
他の特許を見る
10個以上の画像は省略されています。
公開番号
2025167510
公報種別
公開特許公報(A)
公開日
2025-11-07
出願番号
2024072219
出願日
2024-04-26
発明の名称
リニューアルプレート
出願人
三菱電機株式会社
,
三菱電機照明株式会社
代理人
弁理士法人きさ特許商標事務所
主分類
F21S
8/02 20060101AFI20251030BHJP(照明)
要約
【課題】対応可能な埋込穴径が増えても容易に製造できるリニューアルプレートを提供する。
【解決手段】埋込穴が形成された被取付部に取り付けられ、埋込穴に配置される照明器具を支持するリニューアルプレートであって、埋込穴と連通する化粧枠開口が形成され、被取付部の意匠側に配置される板状の化粧枠と、反対の側に配置され、化粧枠が取り付けられる、取付板開口が形成され、取付板開口の外側に、複数の位置決め穴が形成された1以上の位置決め領域を有する取付板と、位置決め穴のいずれかに挿入されて被取付部における埋込穴の内壁と対向する位置決め部品と、を備え、複数の位置決め穴は、取付板が被取付部に取り付けられた状態において埋込穴の中心に対向する取付板開口の中心からの半径距離が互いに異なるものであり、位置決め部品は、複数の位置決め穴のうち埋込穴の内周側に配置され、且つ埋込穴の内壁との距離が最も短くなる位置決め穴に挿入される。
【選択図】図2
特許請求の範囲
【請求項1】
埋込穴が形成された被取付部に取り付けられ、前記埋込穴に配置される照明器具を支持するリニューアルプレートであって、
前記埋込穴と連通する化粧枠開口が形成され、前記被取付部の意匠側に配置される板状の化粧枠と、
前記被取付部の前記意匠側とは反対の側に配置され、前記化粧枠が取り付けられるものであって、前記埋込穴および前記化粧枠開口と連通する取付板開口が形成され、前記取付板開口の外側に、複数の位置決め穴が形成された1以上の位置決め領域を有する取付板と、
前記1以上の位置決め領域にそれぞれ配置され、各位置決め領域において前記複数の位置決め穴のいずれかに挿入されて前記被取付部における前記埋込穴の内壁と対向する位置決め部品と、を備え、
前記複数の位置決め穴は、前記取付板が前記被取付部に取り付けられた状態において前記埋込穴の中心に対向する前記取付板開口の中心からの半径距離が互いに異なるものであり、
前記位置決め部品は、前記複数の位置決め穴のうち前記埋込穴の内周側に配置され、且つ前記埋込穴の前記内壁との距離が最も短くなる位置決め穴に挿入される
リニューアルプレート。
続きを表示(約 390 文字)
【請求項2】
前記複数の位置決め穴は、第1位置決め穴と、前記第1位置決め穴の前記半径距離よりも長い前記半径距離を有する第2位置決め穴と、を含むものであり、
前記第1位置決め穴と前記第2位置決め穴とは、周方向において異なる位置に設けられている
請求項1に記載のリニューアルプレート。
【請求項3】
前記取付板において前記1以上の位置決め領域は、前記化粧枠と対向するように設けられている
請求項1または請求項2に記載のリニューアルプレート。
【請求項4】
前記化粧枠は、外周部と、前記外周部よりも内周側且つ前記取付板の側に配置された内周部とを有し、
前記内周部には、前記取付板に前記化粧枠を取り付けるための取付具が挿入される取付穴が形成されている
請求項1または請求項2に記載のリニューアルプレート。
発明の詳細な説明
【技術分野】
【0001】
本開示は、天井等の被取付部の埋込穴に取り付けられる照明器具を支持するリニューアルプレートに関する。
続きを表示(約 3,500 文字)
【背景技術】
【0002】
リニューアルプレートにおいて、取付板と化粧枠とで天井材を挟んだ状態でボルトにより互いに固定され、埋込型の照明器具を支持するリニューアルプレートがある。例えばダウンライト用の埋込穴は、基本的には規定の径で施工されることが多いが、設置場所によっては規定の径とされない場合がある。そのため、規定の径以外の埋込穴径でも対応できるように、専用のリニューアルプレートを径の違いにより何種類も準備しておく必要がある。そこで、リニューアルプレートにおいて、2種類の埋込穴径に対応できるように構成されたものが知られている(たとえば、特許文献1参照)。特許文献1に開示されたリニューアルプレート(以下、支持装置ともいう)において、天井材の上側に配置される取付板(プレートともいう)には、天井材の埋込穴内に配置され埋込穴に対する位置決め部として機能する第1凸部と第2凸部とが設けられている。第1凸部はプレートの径方向において第2凸部よりも内側に設けられている。そして、天井材の埋込穴が小径の場合、すなわち第1凸部および第2凸部のうち第1凸部のみが埋込穴の内側に位置する場合には、第1凸部と埋込穴の内壁とによって位置決めがされる。一方、天井材の埋込穴が大径の場合、すなわち、第1凸部および第2凸部の双方が埋込穴の内側に位置する場合には、第1凸部および第2凸部のうち埋込穴の内壁との距離がより近い第2凸部と、埋込穴の内壁とによって位置決めがされる。
【先行技術文献】
【特許文献】
【0003】
特許第6706405号公報
【発明の概要】
【発明が解決しようとする課題】
【0004】
しかしながら、特許文献1に開示された支持装置では、プレートに第1凸部と第2凸部とが形成されているので、内周側の第1凸部が位置決め部として機能するためには第1凸部の下方への突出長さが第2凸部の下方への突出長さよりも長くなければならない。したがって、特許文献1に開示された方式で、対応可能な埋込穴径の種類(数)を増やそうとすると、その数が増えるごとに第1凸部の下方への突出長さも長くする必要が生じる。また、特許文献1では、各凸部の突出長さの違いのため、第1凸部は、プレートの内周端部の一部を下方へ折り曲げて形成され、第2凸部は、第1凸部の外周側のプレート面(すなわちプレートの外周端と第1凸部との間)に切欠きを入れて折り曲げて形成されている。したがって、特許文献1に開示された方式で、対応可能な埋込穴径の種類(数)を増やそうとすると、各凸部の下方への突出長さは異なるので入れる切欠きの長さを変えるなど、形成方法も変える必要がある。このように、特許文献1では、各埋込穴径に対応する位置決め部が、プレートに予め形成された凸部であるため、位置決め部ごとに長さおよび形成方法を変える必要があり、対応可能な埋込穴径の数を増加させる場合に製造方法が複雑化する。
【0005】
本開示は、上記のような課題を解決するためになされたもので、対応可能な埋込穴径の数を増加させる場合でも容易に製造できるリニューアルプレートを提供するものである。
【課題を解決するための手段】
【0006】
本開示に係るリニューアルプレートは、埋込穴が形成された被取付部に取り付けられ、前記埋込穴に配置される照明器具を支持するリニューアルプレートであって、前記埋込穴と連通する化粧枠開口が形成され、前記被取付部の意匠側に配置される板状の化粧枠と、前記被取付部の前記意匠側とは反対の側に配置され、前記化粧枠が取り付けられるものであって、前記埋込穴および前記化粧枠開口と連通する取付板開口が形成され、前記取付板開口の外側に、複数の位置決め穴が形成された1以上の位置決め領域を有する取付板と、前記1以上の位置決め領域にそれぞれ配置され、各位置決め領域において前記複数の位置決め穴のいずれかに挿入されて前記被取付部における前記埋込穴の内壁と対向する位置決め部品と、を備え、前記複数の位置決め穴は、前記取付板が前記被取付部に取り付けられた状態において前記埋込穴の中心に対向する前記取付板開口の中心からの半径距離が互いに異なるものであり、前記位置決め部品は、前記複数の位置決め穴のうち前記埋込穴の内周側に配置され、且つ前記埋込穴の前記内壁との距離が最も短くなる位置決め穴に挿入される。
【発明の効果】
【0007】
本開示のリニューアルプレートにおいて、取付板は、取付板開口の外側に、複数の位置決め穴が形成された1以上の位置決め領域を有するものである。また、リニューアルプレートは、1以上の位置決め領域にそれぞれ配置され、各位置決め領域において複数の位置決め穴のいずれかに挿入されて被取付部における埋込穴の内壁と対向する位置決め部品を備えている。そして、複数の位置決め穴は、取付板が被取付部に取り付けられた状態において埋込穴の中心に対向する取付板開口の中心からの半径距離が互いに異なるものであり、位置決め部品は、複数の位置決め穴のうち埋込穴の内周側に配置され、且つ埋込穴の内壁との距離が最も短くなる位置決め穴に挿入される。これにより、埋込穴に対する取付板の位置決めが、取付板に形成された位置決め穴と、位置決め穴に挿入される位置決め部品とによって実現できるので、対応させる埋込穴径ごとに位置決め部品の長さおよび位置決め穴の形成方法を変える必要が無い。よって、対応可能な埋込穴径の数を増加させる場合でも容易に製造できる。
【図面の簡単な説明】
【0008】
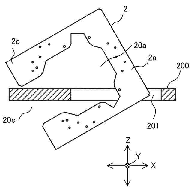
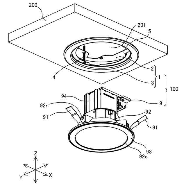
実施の形態1に係るリニューアルプレートが取り付けられた天井材に照明器具が取り付けられる前の状態を下側から示す斜視図である。
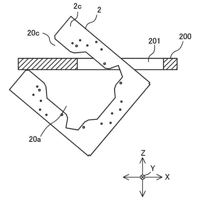
図1の照明装置および天井材の分解斜視図である。
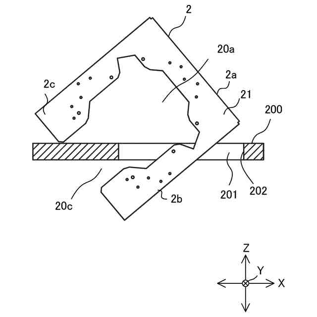
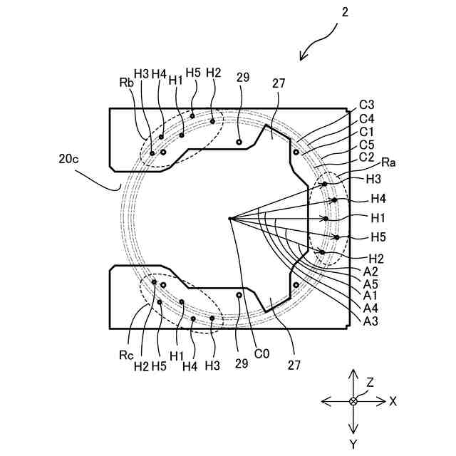
図1のリニューアルプレートにおける取付板の構成を示す下面図である。
図3の取付板における複数の位置決め穴の配置を説明する説明図である。
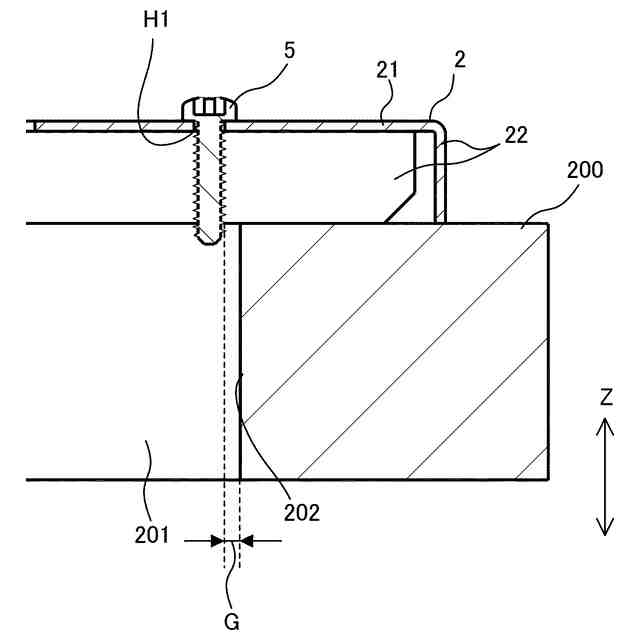
図1の位置決め部品を通る取付板および天井材の縦断面図である。
図1の取付板を天井材の上に配置する方法を模式的に示す縦断面図であって、取付板の一角部を埋込穴に挿入した状態を示す図である。
図1の取付板を天井材の上に配置する方法を模式的に示す縦断面図であって、取付板の右端部を埋込穴に挿入した状態を示す図である。
図1の取付板を天井材の上に配置する方法を模式的に示す縦断面図であって、取付板の大部分を天井材の上に配置した状態を示す図である。
図2の化粧枠の構成を示す下面図である。
図1の照明装置が天井材に取り付けられた状態において取付板の中央位置および後側の位置決め領域の最も内周側の位置決め穴を通る縦断面図である。
図1の照明装置が天井材に取り付けられた状態において取付板の中央位置を通り前後方向に延びる平面で切断した縦断面図である。
【発明を実施するための形態】
【0009】
以下、本開示に係るリニューアルプレートの実施の形態について、図面を参照しながら説明する。なお、以下に説明する実施の形態によって本開示が限定されるものではない。また、図1を含め、以下の図面では各構成部材の大きさの関係が実際のものとは異なる場合がある。また、以下の説明において、理解を容易にするために方向を表す用語を適宜用いるが、これは説明のためのものであって、これらの用語は本開示を限定するものではない。方向を表す用語としては、例えば、「上」、「下」、「右」、「左」、「前」または「後」等が挙げられる。
【0010】
実施の形態1.
図1は、実施の形態1に係るリニューアルプレート1が取り付けられた天井材200に照明器具9が取り付けられる前の状態を下側から示す斜視図である。図2は、図1の照明装置100および天井材200の分解斜視図である。図3は、図1のリニューアルプレート1における取付板2の構成を示す下面図である。図4は、図3の取付板2における複数の位置決め穴H1、H2、H3、H4およびH5の配置を説明する説明図である。図1に示すように、照明器具9とリニューアルプレート1とは、照明装置100を構成している。
(【0011】以降は省略されています)
この特許をJ-PlatPat(特許庁公式サイト)で参照する
関連特許
三菱電機株式会社
増幅器
1か月前
三菱電機株式会社
換気扇
1か月前
三菱電機株式会社
冷蔵庫
1か月前
三菱電機株式会社
換気扇
10日前
三菱電機株式会社
扇風機
1か月前
三菱電機株式会社
冷蔵庫
17日前
三菱電機株式会社
換気扇
1か月前
三菱電機株式会社
換気扇
1か月前
三菱電機株式会社
収集装置
1か月前
三菱電機株式会社
照明器具
11日前
三菱電機株式会社
照明装置
1か月前
三菱電機株式会社
電気機器
17日前
三菱電機株式会社
電子機器
1か月前
三菱電機株式会社
換気装置
9日前
三菱電機株式会社
半導体装置
17日前
三菱電機株式会社
空気調和機
1か月前
三菱電機株式会社
加熱調理器
25日前
三菱電機株式会社
半導体装置
1か月前
三菱電機株式会社
回路遮断器
25日前
三菱電機株式会社
電動送風機
9日前
三菱電機株式会社
冷凍冷蔵庫
2日前
三菱電機株式会社
保護リレー
1か月前
三菱電機株式会社
半導体装置
4日前
三菱電機株式会社
半導体装置
4日前
三菱電機株式会社
半導体装置
2日前
三菱電機株式会社
調理システム
1か月前
三菱電機株式会社
貯湯式給湯機
1か月前
三菱電機株式会社
光源デバイス
1か月前
三菱電機株式会社
制御システム
1か月前
三菱電機株式会社
空調システム
1か月前
三菱電機株式会社
位置算出装置
10日前
三菱電機株式会社
点検管理装置
1か月前
三菱電機株式会社
車両制御装置
9日前
三菱電機株式会社
炊飯システム
1か月前
三菱電機株式会社
貯湯式給湯機
1か月前
三菱電機株式会社
空気清浄装置
25日前
続きを見る
他の特許を見る