TOP
|
特許
|
意匠
|
商標
特許ウォッチ
Twitter
他の特許を見る
公開番号
2025167428
公報種別
公開特許公報(A)
公開日
2025-11-07
出願番号
2024072010
出願日
2024-04-26
発明の名称
記録制御装置及び記録制御プログラム
出願人
三菱電機株式会社
代理人
弁理士法人山王内外特許事務所
主分類
G07C
5/00 20060101AFI20251030BHJP(チェック装置)
要約
【課題】車両情報とドライバの状態とを対応させて保存することができる記録制御装置を提供する。
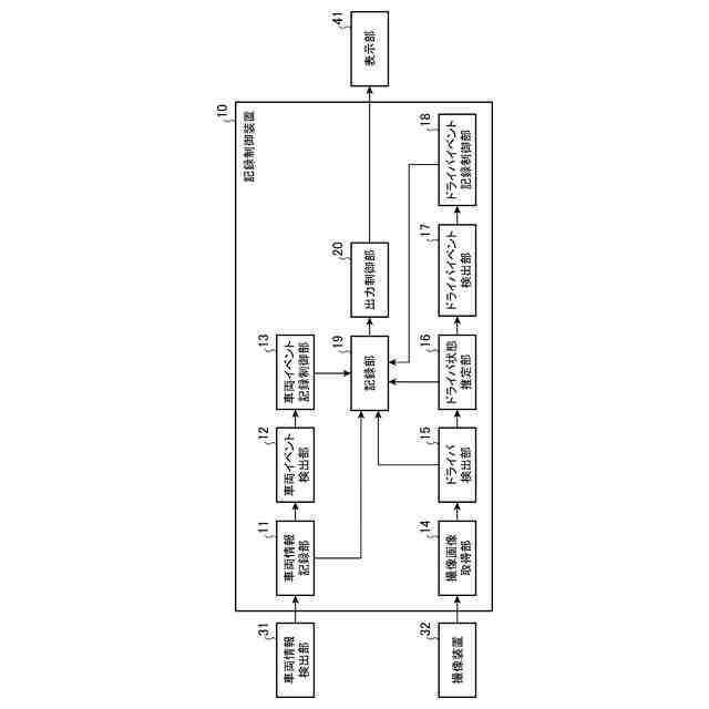
【解決手段】記録制御装置10は、車両に発生した特定の車両イベントを検出する車両イベント検出部12と、特定の車両イベントが検出された場合、記録されているその特定の車両イベントに対応する車両情報を保存させる車両イベント記録制御部13と、撮像画像からドライバの特徴点を検出するドライバ検出部15と、ドライバの特徴点に基づいてドライバの状態を推定するドライバ状態推定部16と、ドライバの状態に基づいて当該ドライバに発生した特定のドライバイベントを検出するドライバイベント検出部17と、特定のドライバイベントが検出された場合、記録されているその特定のドライバイベントに対応するドライバの特徴点及び推定されたドライバの状態を、保存されている車両情報と対応付けて保存させるドライバイベント記録制御部18と、保存されている車両情報、ドライバの特徴点、及び、推定されたドライバの状態を出力する出力制御部20とを備える。
【選択図】図1
特許請求の範囲
【請求項1】
車両の状態に関する車両情報に基づいて、前記車両に発生した特定の車両イベントを検出する車両イベント検出部と、
前記車両イベント検出部が特定の車両イベントを検出した場合、記録部に記録されているその特定の車両イベントに対応する車両情報を、前記車両イベント検出部の検出時を含む所定期間において保存させる車両イベント記録制御部と、
前記車両の車室内を撮像した撮像画像から、ドライバの特徴点を検出するドライバ検出部と、
前記ドライバ検出部によって検出されたドライバの特徴点に基づいて、ドライバの状態を推定するドライバ状態推定部と、
前記ドライバ状態推定部によって推定されたドライバの状態に基づいて、ドライバに発生した特定のドライバイベントを検出するドライバイベント検出部と、
前記ドライバイベント検出部が特定のドライバイベントを検出した場合、前記記録部に記録されているその特定のドライバイベントに対応するドライバの特徴点及び推定されたドライバの状態を、前記ドライバイベント検出部の検出時を含む所定期間において、前記記録部に保存されている車両情報と対応付けて保存させるドライバイベント記録制御部と、
前記記録部に保存されている車両情報、ドライバの特徴点、及び、推定されたドライバの状態を出力する出力制御部とを備える
ことを特徴とする記録制御装置。
続きを表示(約 940 文字)
【請求項2】
前記車両イベント検出部が特定の車両イベントを検出することができない場合、前記ドライバイベント検出部のみが特定のドライバイベントを検出する
ことを特徴とする請求項1記載の記録制御装置。
【請求項3】
前記車両イベント検出部が検出する特定の車両イベントは、前記車両の衝突である
ことを特徴とする請求項1記載の記録制御装置。
【請求項4】
前記ドライバイベント検出部は、
ドライバの動作変化量又は移動量が閾値を超えた場合、特定のドライバイベントが発生したと検出する
ことを特徴とする請求項1から請求項3のうちのいずれか1項記載の記録制御装置。
【請求項5】
コンピュータを、
車両の状態に関する車両情報に基づいて、前記車両に発生した特定の車両イベントを検出する車両イベント検出部と、
前記車両イベント検出部が特定の車両イベントを検出した場合、記録部に記録されているその特定の車両イベントに対応する車両情報を、前記車両イベント検出部の検出時を含む所定期間において保存させる車両イベント記録制御部と、
前記車両の車室内を撮像した撮像画像から、ドライバの特徴点を検出するドライバ検出部と、
前記ドライバ検出部によって検出されたドライバの特徴点に基づいて、ドライバの状態を推定するドライバ状態推定部と、
前記ドライバ状態推定部によって推定されたドライバの状態に基づいて、ドライバに発生した特定のドライバイベントを検出するドライバイベント検出部と、
前記ドライバイベント検出部が特定のドライバイベントを検出した場合、前記記録部に記録されているその特定のドライバイベントに対応するドライバの特徴点及び推定されたドライバの状態を、前記ドライバイベント検出部の検出時を含む所定期間において、前記記録部に保存されている車両情報と対応付けて保存させるドライバイベント記録制御部と、
前記記録部に保存されている車両情報、ドライバの特徴点、及び、推定されたドライバの状態を出力する出力制御部
として機能させるための記録制御プログラム。
発明の詳細な説明
【技術分野】
【0001】
本開示は、記録制御装置及び記録制御プログラムに関する。
続きを表示(約 1,700 文字)
【背景技術】
【0002】
従来、ドライブレコーダ又はEDR(Event Data Recorder)等の記録装置が、車両に搭載される場合がある。このような、車両用記録装置は、車両の状況又は状態に関する車両情報を記録し、車両に衝突事故等のイベントが発生したときに、その前後に記録されている車両情報を保存する。車両用記録装置に保存された車両情報は、発生したイベントの解析に用いられる。このような、従来の車両用記録装置は、例えば、特許文献1に開示されている。
【先行技術文献】
【特許文献】
【0003】
特許第6862968号公報
【発明の概要】
【発明が解決しようとする課題】
【0004】
ここで、車両事故においては、90%以上がドライバに起因するというデータがある。このため、車両用記録装置においては、車両事故の主要因であるドライバの状態に関する情報を、車両情報と対応させて記録又は保存することが、車両事故の解析に必要であると考えられる。
【0005】
特許文献1に開示された車両用記録装置は、自動運転機能を有する車両に搭載されるものであり、車両事故が、自動運転機能の誤動作で発生したものなのか、又は、ドライバの過失によって発生したものなのかを、判別するためのものである。即ち、特許文献1に開示された車両用記録装置は、車両の自動運転機能を前提としたものである、自動運転機能を有しない車両には、適用が困難である。
【0006】
本開示は、上記のような課題を解決するためになされたもので、車両情報とドライバの状態とを対応させて保存することができる記録制御装置を提供することを目的とする。
【課題を解決するための手段】
【0007】
本開示に係る記録制御装置は、車両の状態に関する車両情報に基づいて、車両に発生した特定の車両イベントを検出する車両イベント検出部と、車両イベント検出部が特定の車両イベントを検出した場合、記録部に記録されているその特定の車両イベントに対応する車両情報を、車両イベント検出部の検出時を含む所定期間において保存させる車両イベント記録制御部と、車両の車室内を撮像した撮像画像から、ドライバの特徴点を検出するドライバ検出部と、ドライバ検出部によって検出されたドライバの特徴点に基づいて、ドライバの状態を推定するドライバ状態推定部と、ドライバ状態推定部によって推定されたドライバの状態に基づいて、ドライバに発生した特定のドライバイベントを検出するドライバイベント検出部と、ドライバイベント検出部が特定のドライバイベントを検出した場合、記録部に記録されているその特定のドライバイベントに対応するドライバの特徴点及び推定されたドライバの状態を、ドライバイベント検出部の検出時を含む所定期間において、記録部に保存されている車両情報と対応付けて保存させるドライバイベント記録制御部と、記録部に保存されている車両情報、ドライバの特徴点、及び、推定されたドライバの状態を出力する出力制御部とを備えるものである。
【発明の効果】
【0008】
本開示によれば、車両情報とドライバの状態とを対応させて保存することができる。
【図面の簡単な説明】
【0009】
実施の形態1に係る記録制御装置が適用される記録制御システムの構成を示すブロック図ある。
実施の形態1に係る記録制御装置の動作を示すフローチャートである。
実施の形態1に係る記録制御装置の動作における1つ目の具体例である。
実施の形態1に係る記録制御装置の動作における2つ目の具体例である。
図5A及び図5Bは、実施の形態1に係る記録制御装置のハードウェア構成の一例を示す図である。
【発明を実施するための形態】
【0010】
以下、本開示の実施の形態について図面を参照しながら詳細に説明する。
(【0011】以降は省略されています)
この特許をJ-PlatPat(特許庁公式サイト)で参照する
関連特許
三菱電機株式会社
扇風機
1か月前
三菱電機株式会社
換気扇
6日前
三菱電機株式会社
冷蔵庫
13日前
三菱電機株式会社
冷蔵庫
1か月前
三菱電機株式会社
換気扇
1か月前
三菱電機株式会社
換気扇
1か月前
三菱電機株式会社
換気扇
1か月前
三菱電機株式会社
増幅器
1か月前
三菱電機株式会社
照明器具
7日前
三菱電機株式会社
電気機器
13日前
三菱電機株式会社
電子機器
1か月前
三菱電機株式会社
収集装置
1か月前
三菱電機株式会社
換気装置
5日前
三菱電機株式会社
照明装置
27日前
三菱電機株式会社
半導体装置
1か月前
三菱電機株式会社
半導体装置
1か月前
三菱電機株式会社
保護リレー
1か月前
三菱電機株式会社
電動送風機
5日前
三菱電機株式会社
回路遮断器
21日前
三菱電機株式会社
空気調和機
1か月前
三菱電機株式会社
加熱調理器
21日前
三菱電機株式会社
半導体装置
13日前
三菱電機株式会社
貯湯式給湯機
1か月前
三菱電機株式会社
点検管理装置
1か月前
三菱電機株式会社
空調システム
1か月前
三菱電機株式会社
空調システム
29日前
三菱電機株式会社
空気清浄装置
21日前
三菱電機株式会社
ねじ締め装置
1か月前
三菱電機株式会社
調理システム
1か月前
三菱電機株式会社
貯湯式給湯機
27日前
三菱電機株式会社
光源デバイス
27日前
三菱電機株式会社
照明システム
1か月前
三菱電機株式会社
炊飯システム
1か月前
三菱電機株式会社
車両制御装置
5日前
三菱電機株式会社
貯湯式給湯機
1か月前
三菱電機株式会社
位置算出装置
6日前
続きを見る
他の特許を見る