TOP
|
特許
|
意匠
|
商標
特許ウォッチ
Twitter
他の特許を見る
公開番号
2025169481
公報種別
公開特許公報(A)
公開日
2025-11-14
出願番号
2024074157
出願日
2024-05-01
発明の名称
音響制御装置及び音響制御プログラム
出願人
三菱電機株式会社
代理人
弁理士法人山王内外特許事務所
主分類
B60R
11/02 20060101AFI20251107BHJP(車両一般)
要約
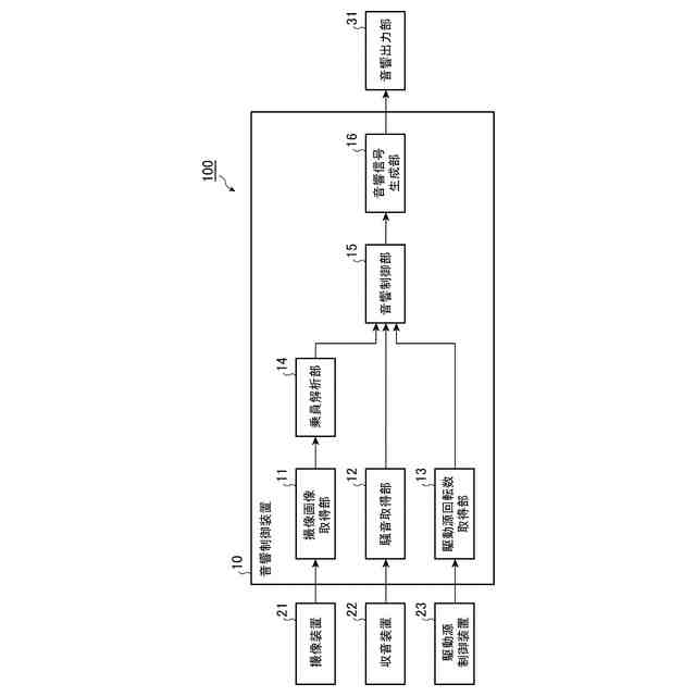
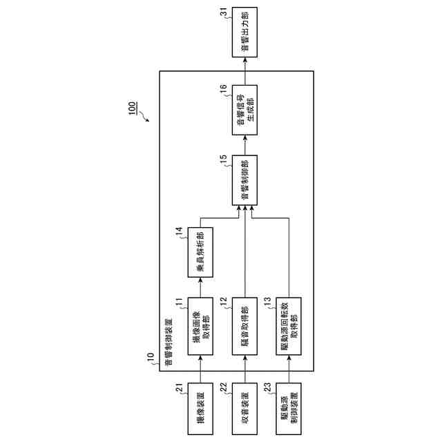
【課題】乗員の状況に応じた音響を出力することができる音響制御装置を提供する。
【解決手段】音響制御装置10は、車両の車室41内を撮像した撮像画像を取得する撮像画像取得部11と、車室41内に発生する騒音に対応する騒音信号を取得する騒音取得部12と、駆動源の回転数に対応する駆動源回転数信号を取得する駆動源回転数取得部13と、撮像画像に基づいて、車室41内に存在する乗員の配置、状態、及び、行動について解析する乗員解析部14と、騒音信号、駆動源回転数信号、及び、解析結果に基づいて、乗員に対する、騒音の位相の逆位相となる逆位相音、又は、乗員に対する、騒音の位相と同位相となる同位相音を制御する音響制御部15と、音響制御部15によって制御された逆位相音又は同位相音に対応する音響信号を生成し、この生成した音響信号を出力する音響信号生成部16とを備える。
【選択図】図1
特許請求の範囲
【請求項1】
車両の車室内を撮像した撮像画像を取得する撮像画像取得部と、
前記車室内に発生する騒音に対応する騒音信号を取得する騒音取得部と、
前記車両に搭載される駆動源の回転数に対応する駆動源回転数信号を取得する駆動源回転数取得部と、
前記撮像画像取得部によって取得された撮像画像に基づいて、前記車室内に存在する乗員の配置、状態、及び、行動について解析する乗員解析部と、
前記騒音取得部によって取得された騒音信号、前記駆動源回転数取得部によって取得された駆動源回転数信号、及び、前記乗員解析部によって解析された解析結果に基づいて、乗員に対する、騒音の位相の逆位相となる逆位相音、又は、乗員に対する、騒音の位相と同位相となる同位相音を制御する音響制御部と、
前記音響制御部によって制御された逆位相音又は同位相音に対応する音響信号を生成し、この生成した音響信号を出力する音響信号生成部とを備える
ことを特徴とする音響制御装置。
続きを表示(約 1,100 文字)
【請求項2】
前記乗員解析部は、前記車室内の座席に着座する乗員を解析し、
前記音響制御部は、前記座席に対応する収音装置が検出した騒音の位相の逆位相となる逆位相音を制御し、
前記音響信号生成部は、前記座席に対応する音響出力部に、その逆位相音に対応する音響信号を出力する
ことを特徴とする請求項1記載の音響制御装置。
【請求項3】
前記乗員解析部は、前記車室内の座席に着座する乗員を解析し、
前記音響制御部は、前記乗員解析部によって、前記車室内の運転席以外の座席に着座する乗員の覚醒度が所定値よりも低い場合、又は、乗員が携帯電話で通話している場合、或いは、乗員が不快感を抱いていると解析された場合、前記座席に対応する収音装置が検出した騒音の位相の逆位相となる逆位相音を制御し、
前記音響信号生成部は、前記座席に対応する音響出力部に、その逆位相音に対応する音響信号を出力する
ことを特徴とする請求項1記載の音響制御装置。
【請求項4】
前記乗員解析部は、前記車室内の運転席に着座する乗員となるドライバ、及び、当該ドライバの覚醒度又は集中力を解析し、
前記音響制御部は、前記乗員解析部によって、前記ドライバの覚醒度又は集中力が所定値よりも低いと解析された場合、前記運転席に対応する収音装置が検出した騒音の位相と同位相となる同位相音を制御し、
前記音響信号生成部は、前記運転席に対応する音響出力部に、その同位相音に対応する音響信号を出力する
ことを特徴とする請求項1記載の音響制御装置。
【請求項5】
コンピュータを、
車両の車室内を撮像した撮像画像を取得する撮像画像取得部と、
前記車室内に発生する騒音に対応する騒音信号を取得する騒音取得部と、
前記車両に搭載される駆動源の回転数に対応する駆動源回転数信号を取得する駆動源回転数取得部と、
前記撮像画像取得部によって取得された撮像画像に基づいて、前記車室内に存在する乗員の配置、状態、及び、行動について解析する乗員解析部と、
前記騒音取得部によって取得された騒音信号、前記駆動源回転数取得部によって取得された駆動源回転数信号、及び、前記乗員解析部によって解析された解析結果に基づいて、乗員に対する、騒音の位相の逆位相となる逆位相音、又は、乗員に対する、騒音の位相と同位相となる同位相音を制御する音響制御部と、
前記音響制御部によって制御された逆位相音又は同位相音に対応する音響信号を生成し、この生成した音響信号を出力する音響信号生成部
として機能させるための音響制御プログラム。
発明の詳細な説明
【技術分野】
【0001】
本開示は、音響制御装置及び音響制御プログラムに関する。
続きを表示(約 1,400 文字)
【背景技術】
【0002】
従来、車両の車室内で発生する騒音を打ち消すようにした音響制御技術が提供されている。このような、従来の音響制御技術は、例えば、特許文献1に開示されている。
【先行技術文献】
【特許文献】
【0003】
国際公開第2019/106748号
【発明の概要】
【発明が解決しようとする課題】
【0004】
特許文献1に開示された音響制御技術は、画像センサから得られた画像を元に乗員の頭部の位置を示す情報を生成し、収音信号及び乗員の頭部の位置を示す情報に基づいて、乗員の頭部の位置における音響を制御するための制御信号を生成するものである。
【0005】
しかしながら、特許文献1に開示された音響制御技術は、乗員の頭部の位置のみを推定し、その推定結果に基づいて、乗員に対する音響を制御している。車両に乗車する乗員の状況は、その配置、状態、行動等によって様々である。このため、特許文献1に開示された音響制御技術においては、乗員に対する音響が適切に制御されないおそれがある。
【0006】
本開示は、上記のような課題を解決するためになされたもので、乗員の状況に応じた音響を出力することができる音響制御装置を提供することを目的とする。
【課題を解決するための手段】
【0007】
本開示に係る音響制御装置は、車両の車室内を撮像した撮像画像を取得する撮像画像取得部と、車室内に発生する騒音に対応する騒音信号を取得する騒音取得部と、車両に搭載される駆動源の回転数に対応する駆動源回転数信号を取得する駆動源回転数取得部と、撮像画像取得部によって取得された撮像画像に基づいて、車室内に存在する乗員の配置、状態、及び、行動について解析する乗員解析部と、騒音取得部によって取得された騒音信号、駆動源回転数取得部によって取得された駆動源回転数信号、及び、乗員解析部によって解析された解析結果に基づいて、乗員に対する、騒音の位相の逆位相となる逆位相音、又は、乗員に対する、騒音の位相と同位相となる同位相音を制御する音響制御部と、音響制御部によって制御された逆位相音又は同位相音に対応する音響信号を生成し、この生成した音響信号を出力する音響信号生成部とを備えるものである。
【発明の効果】
【0008】
本開示によれば、乗員の状況に応じた音響を出力することができる。
【図面の簡単な説明】
【0009】
実施の形態1に係る音響制御装置が適用される音響制御システムの構成を示すブロック図である。
車両に搭載される各種車載機器の設置位置を示す概略図である。
実施の形態1に係る音響制御方法を示すフローチャートである。
実施の形態1に係る音響制御装置の動作における1つ目の具体例である。
実施の形態1に係る音響制御装置の動作における2つ目の具体例である。
実施の形態1に係る音響制御装置の動作における3つ目の具体例である。
実施の形態1に係る音響制御装置の動作における4つ目の具体例である。
図8A及び図8Bは、実施の形態1に係る音響制御装置のハードウェア構成の一例を示す図である。
【発明を実施するための形態】
【0010】
以下、本開示の実施の形態について図面を参照しながら詳細に説明する。
(【0011】以降は省略されています)
この特許をJ-PlatPat(特許庁公式サイト)で参照する
関連特許
三菱電機株式会社
増幅器
27日前
三菱電機株式会社
換気扇
1か月前
三菱電機株式会社
冷蔵庫
今日
三菱電機株式会社
換気扇
1か月前
三菱電機株式会社
冷蔵庫
23日前
三菱電機株式会社
換気扇
1か月前
三菱電機株式会社
扇風機
21日前
三菱電機株式会社
電気機器
今日
三菱電機株式会社
照明装置
14日前
三菱電機株式会社
電子機器
1か月前
三菱電機株式会社
収集装置
1か月前
三菱電機株式会社
保護リレー
22日前
三菱電機株式会社
空気調和機
29日前
三菱電機株式会社
加熱調理器
8日前
三菱電機株式会社
回路遮断器
8日前
三菱電機株式会社
半導体装置
22日前
三菱電機株式会社
半導体装置
1か月前
三菱電機株式会社
半導体装置
今日
三菱電機株式会社
ねじ締め装置
27日前
三菱電機株式会社
貯湯式給湯機
24日前
三菱電機株式会社
制御システム
14日前
三菱電機株式会社
空調システム
16日前
三菱電機株式会社
調理システム
23日前
三菱電機株式会社
光源デバイス
14日前
三菱電機株式会社
貯湯式給湯機
14日前
三菱電機株式会社
点検管理装置
21日前
三菱電機株式会社
貯湯式給湯機
23日前
三菱電機株式会社
炊飯システム
23日前
三菱電機株式会社
空調システム
27日前
三菱電機株式会社
貯湯式給湯機
1か月前
三菱電機株式会社
空気清浄装置
8日前
三菱電機株式会社
照明システム
1か月前
三菱電機株式会社
移動体監視装置
13日前
三菱電機株式会社
電磁波発生装置
今日
三菱電機株式会社
誘導加熱調理器
1か月前
三菱電機株式会社
電動機制御装置
1か月前
続きを見る
他の特許を見る