TOP
|
特許
|
意匠
|
商標
特許ウォッチ
Twitter
他の特許を見る
10個以上の画像は省略されています。
公開番号
2025176368
公報種別
公開特許公報(A)
公開日
2025-12-04
出願番号
2024082467
出願日
2024-05-21
発明の名称
スクロール圧縮機
出願人
三菱電機株式会社
代理人
弁理士法人きさ特許商標事務所
主分類
F04C
18/02 20060101AFI20251127BHJP(液体用容積形機械;液体または圧縮性流体用ポンプ)
要約
【課題】オイルパイプから流出した潤滑油の巻き上げ量を抑制することが可能なスクロール圧縮機を得る。
【解決手段】スクロール圧縮機は、揺動スクロールを摺動自在に支持するフレームを有する。フレームには、揺動スクロールとフレームとの間に供給された余剰な潤滑油をフレームの下方に排出する返油穴が形成されている。スクロール圧縮機は、上流端が返油穴に接続され、返油穴から排出された潤滑油を下方へ導くオイルパイプと、吸入管の流出口に対向して配置され、流出口から流出して密閉容器内に吸入された流体を下方に案内する流体案内部と、を備える。モーターの外周部には、上下方向に貫通する複数の流体流路が形成されている。複数の流体流路のうちの少なくとも1つの流体流路は、流体案内部により案内された流体が下向きに通過する下向き流路であり、オイルパイプの下流端が下向き流路に位置している。
【選択図】図1
特許請求の範囲
【請求項1】
潤滑油が貯留される油溜めが底部に形成された密閉容器と、
前記密閉容器内の上部に配置された固定スクロールと、
前記固定スクロールの下方に配置され、前記固定スクロールと共に圧縮室を形成する揺動スクロールと、
前記揺動スクロールの下方に配置され、前記揺動スクロールを摺動自在に支持するフレームと、
前記フレームの下方に設けられたモーターと、
前記モーターと前記揺動スクロールとを接続し、前記モーターの駆動力を前記揺動スクロールに伝達する駆動軸と、
前記駆動軸に設けられ、前記油溜めの前記潤滑油を、前記駆動軸に形成された給油穴を通過させて前記揺動スクロールと前記フレームとの間に供給するオイルポンプと、
前記フレームと前記モーターとの間の空間に流出口が開口するように前記密閉容器に接続され、前記流出口から前記密閉容器の内部に流体を導く吸入管と、
を備え、
前記オイルポンプにより前記揺動スクロールと前記フレームとの間に供給された余剰な潤滑油を前記フレームの下方に排出する返油穴が前記フレームに形成されたスクロール圧縮機であって、
上流端が前記返油穴に接続され、前記返油穴から排出された潤滑油を下方へ導くオイルパイプと、
前記吸入管の前記流出口に対向して配置され、前記流出口から流出して前記密閉容器内に吸入された流体を下方に案内する流体案内部と、を備え、
前記モーターの外周部には、上下方向に貫通する複数の流体流路が形成されており、
前記複数の流体流路のうちの少なくとも1つの流体流路は、前記流体案内部により案内された前記流体が下向きに通過する下向き流路であり、
前記オイルパイプの下流端が前記下向き流路に位置しているスクロール圧縮機。
続きを表示(約 700 文字)
【請求項2】
前記流体案内部は、前記吸入管の前記流出口に対向する主部と、前記主部の上端部から前記流出口に向けて延びる上面部と、前記主部の左右両端部から前記流出口に向けて延びる一対の側面部と、を有する請求項1記載のスクロール圧縮機。
【請求項3】
前記流体案内部は、前記フレームとは別体に構成されて前記フレームの下面部に固定されている請求項2記載のスクロール圧縮機。
【請求項4】
前記流体案内部と前記オイルパイプとは一体化されている請求項1~請求項3の何れか一項に記載のスクロール圧縮機。
【請求項5】
前記流体案内部は、前記フレームの下面部から下方に突出したリブによって形成されている請求項2記載のスクロール圧縮機。
【請求項6】
前記複数の流体流路は、前記モーターの外周部に周方向に間隔を空けて形成されており、
前記複数の流体流路のうちの前記下向き流路以外の少なくとも1つは、前記流体が上向きに通過する上向き流路であり、
前記フレームには、前記密閉容器内の前記流体を前記圧縮室に導く吸入ポートが形成されており、
前記吸入ポートは、前記駆動軸の軸方向に見て前記駆動軸の軸心を中心とした前記吸入ポートの角度範囲が前記上向き流路の角度範囲と重ならない位置に形成されている請求項1~請求項3の何れか一項に記載のスクロール圧縮機。
【請求項7】
前記上向き流路は、前記複数の流体流路のうち、前記軸方向に見て前記吸入管と前記駆動軸を挟んで反対側に位置する流体流路である請求項6記載のスクロール圧縮機。
発明の詳細な説明
【技術分野】
【0001】
本開示は、オイルパイプを有するスクロール圧縮機に関するものである。
続きを表示(約 2,100 文字)
【背景技術】
【0002】
従来のスクロール圧縮機は、固定スクロール及び揺動スクロールを有する圧縮機構部と、揺動スクロールを摺動自在に支持するフレームと、圧縮機構部及びフレームを内部に収容する密閉容器と、を有する(例えば、特許文献1参照)。特許文献1のスクロール圧縮機は、一端がフレームに接続され、他端が下方に向けて延びるオイルパイプを有し、フレームの内部空間に溜まった潤滑油を内部空間から排出するように構成されている。
【先行技術文献】
【特許文献】
【0003】
国際公開第2020/157792号公報
【発明の概要】
【発明が解決しようとする課題】
【0004】
特許文献1に記載のスクロール圧縮機は、オイルパイプから流出した潤滑油の一部が、密閉容器の底部の油溜めに戻る過程で、密閉容器内に流入した吸入冷媒の上向きの流れによって巻き上げられ、冷媒と共に圧縮機構部に吸入されて圧縮機外に吐出される問題があった。
【0005】
本開示は、上述のような課題を解決するためものであり、オイルパイプから流出した潤滑油の巻き上げ量を抑制することが可能なスクロール圧縮機を得ることを目的とする。
【課題を解決するための手段】
【0006】
本開示に係るスクロール圧縮機は、潤滑油が貯留される油溜めが底部に形成された密閉容器と、密閉容器内の上部に配置された固定スクロールと、固定スクロールの下方に配置され、固定スクロールと共に圧縮室を形成する揺動スクロールと、揺動スクロールの下方に配置され、揺動スクロールを摺動自在に支持するフレームと、フレームの下方に設けられたモーターと、モーターと揺動スクロールとを接続し、モーターの駆動力を揺動スクロールに伝達する駆動軸と、駆動軸に設けられ、油溜めの潤滑油を、駆動軸に形成された給油穴を通過させて揺動スクロールとフレームとの間に供給するオイルポンプと、フレームとモーターとの間の空間に流出口が開口するように密閉容器に接続され、流出口から密閉容器の内部に流体を導く吸入管と、を備え、オイルポンプにより揺動スクロールとフレームとの間に供給された余剰な潤滑油をフレームの下方に排出する返油穴がフレームに形成されたスクロール圧縮機であって、上流端が返油穴に接続され、返油穴から排出された潤滑油を下方へ導くオイルパイプと、吸入管の流出口に対向して配置され、流出口から流出して密閉容器内に吸入された流体を下方に案内する流体案内部と、を備え、モーターの外周部には、上下方向に貫通する複数の流体流路が形成されており、複数の流体流路のうちの少なくとも1つの流体流路は、流体案内部により案内された流体が下向きに通過する下向き流路であり、オイルパイプの下流端が下向き流路に位置しているものである。
【発明の効果】
【0007】
本開示に係るスクロール圧縮機は、オイルパイプから流出した潤滑油の巻き上げ量を抑制することが可能である。
【図面の簡単な説明】
【0008】
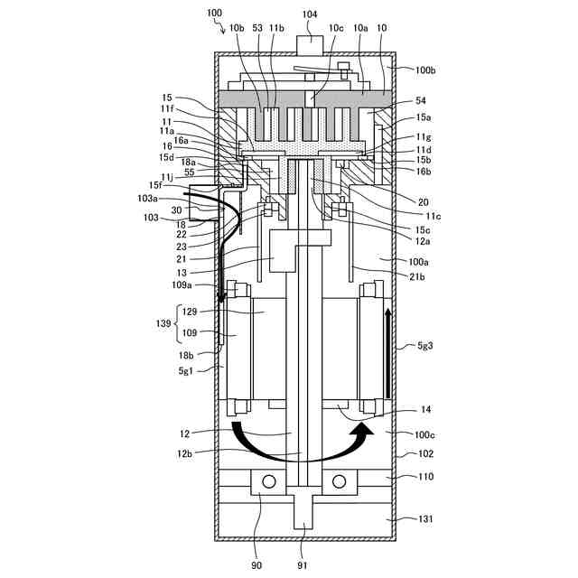
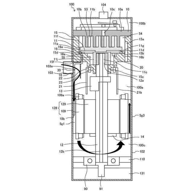
実施の形態1に係るスクロール圧縮機の縦断面図である。
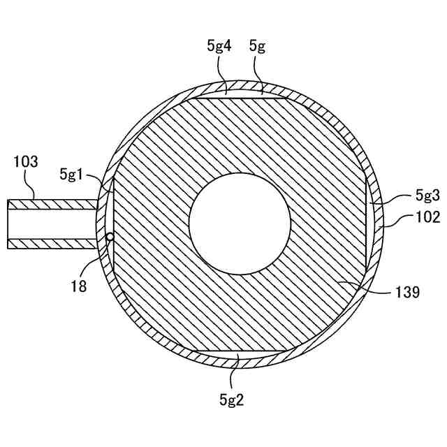
実施の形態1に係るスクロール圧縮機のモーター部分の横断面図である。
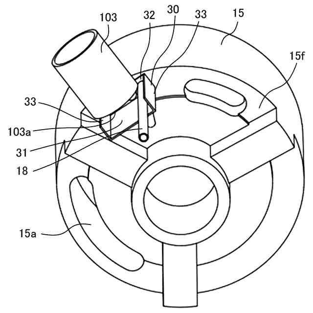
実施の形態1に係るスクロール圧縮機の流体案内部、オイルパイプ、フレーム及び吸入管の斜視図である。
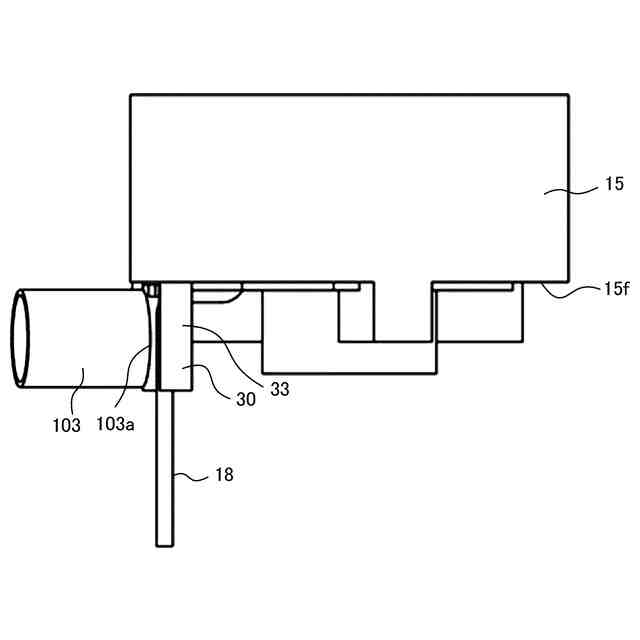
図3を下方から見た斜視図である。
図3の側面図である。
図3の底面図である。
図3から吸入管を除いた斜視図である。
図7を下方から見た斜視図である。
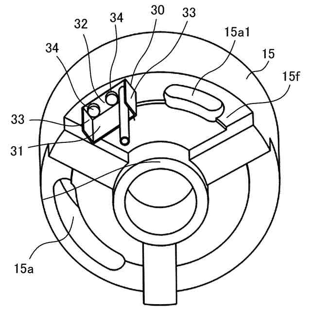
実施の形態1に係るスクロール圧縮機の流体案内部の斜視図である。
図9の流体案内部にオイルパイプが固定された状態を示す斜視図である。
図10を上方から見た斜視図である。
比較例のスクロール圧縮機における流体の流れを示す図である。
実施の形態2に係るスクロール圧縮機の縦断面図である。
図13の流体案内部、オイルパイプ、フレーム及び吸入管を下方から見た斜視図である。
図14のオイルパイプ部分での断面図である。
比較例のスクロール圧縮機のフレームを下方から見た図である。
実施の形態3に係るスクロール圧縮機のフレームを下方から見た図である。
【発明を実施するための形態】
【0009】
以下、図面を参照して、本開示の実施の形態について説明する。なお、各図中、同一又は相当する部分には、同一符号を付して、その説明を適宜省略又は簡略化する。また、各図に記載の構成について、その形状、大きさ及び配置等は、本開示の範囲内で適宜変更することができる。
【0010】
実施の形態1.
図1は、実施の形態1に係るスクロール圧縮機100の縦断面図である。図2は、実施の形態1に係るスクロール圧縮機100のモーター139部分の横断面図である。なお、以下の説明における流体とは、例えば冷媒であり、潤滑油とは異なるものとする。
(【0011】以降は省略されています)
この特許をJ-PlatPat(特許庁公式サイト)で参照する
関連特許
三菱電機株式会社
増幅器
1か月前
三菱電機株式会社
換気扇
8日前
三菱電機株式会社
換気扇
1か月前
三菱電機株式会社
換気扇
1か月前
三菱電機株式会社
扇風機
1か月前
三菱電機株式会社
冷蔵庫
1か月前
三菱電機株式会社
換気扇
1か月前
三菱電機株式会社
冷蔵庫
15日前
三菱電機株式会社
照明器具
9日前
三菱電機株式会社
収集装置
1か月前
三菱電機株式会社
照明装置
29日前
三菱電機株式会社
電子機器
1か月前
三菱電機株式会社
換気装置
7日前
三菱電機株式会社
電気機器
15日前
三菱電機株式会社
加熱調理器
23日前
三菱電機株式会社
回路遮断器
23日前
三菱電機株式会社
半導体装置
1か月前
三菱電機株式会社
電動送風機
7日前
三菱電機株式会社
半導体装置
1か月前
三菱電機株式会社
半導体装置
15日前
三菱電機株式会社
冷凍冷蔵庫
今日
三菱電機株式会社
半導体装置
2日前
三菱電機株式会社
半導体装置
2日前
三菱電機株式会社
半導体装置
今日
三菱電機株式会社
空気調和機
1か月前
三菱電機株式会社
保護リレー
1か月前
三菱電機株式会社
点検管理装置
1か月前
三菱電機株式会社
空気清浄装置
23日前
三菱電機株式会社
照明システム
1か月前
三菱電機株式会社
貯湯式給湯機
29日前
三菱電機株式会社
電力変換装置
2日前
三菱電機株式会社
空調システム
1か月前
三菱電機株式会社
光源デバイス
29日前
三菱電機株式会社
車両制御装置
7日前
三菱電機株式会社
制御システム
29日前
三菱電機株式会社
空調システム
1か月前
続きを見る
他の特許を見る